Okay, it honestly does sound like what Kenny said. However, it could be an engine vacuum leak or even low fuel pressure. Here are a few links you can use to perform general testing.
https://www.2carpros.com/articles/how-to-check-fuel-system-pressure-and-regulator
https://www.2carpros.com/articles/how-to-use-an-engine-vacuum-gauge
If you want to test the idle air control valve, here are the directions for on vehicle testing. The attached pictures correlate with the directions.
_____________________________
2003 Suzuki Truck Grand Vitara 4WD V6-2.5L
Idle Air Control (IAC) Valve On-Vehicle Inspection
Vehicle Powertrain Management Fuel Delivery and Air Induction Idle Speed/Throttle Actuator - Electronic Testing and Inspection Component Tests and General Diagnostics Idle Air Control (IAC) Valve On-Vehicle Inspection
IDLE AIR CONTROL (IAC) VALVE ON-VEHICLE INSPECTION
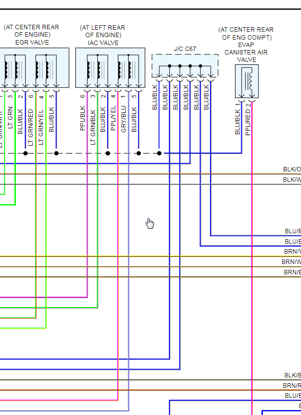
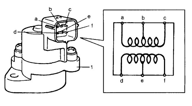
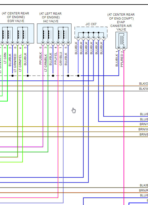
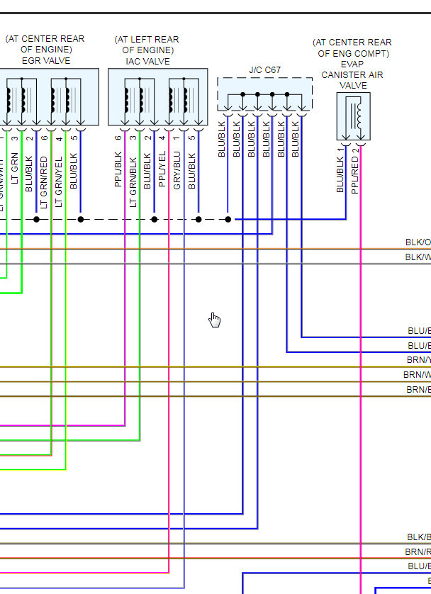
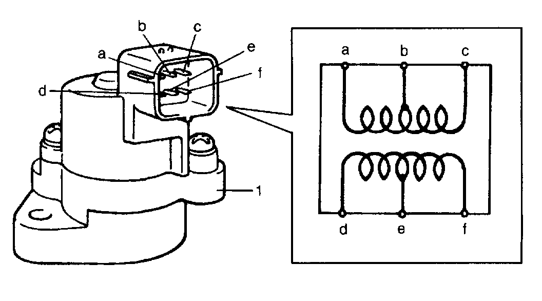
1. Disconnect connector from IAC valve (1).
IAC Valve Resistance
pic 1
pic 2
2. Check each coil of IAC valve for resistance. If resistances is out of specification, replace.
3. Remove IAC valve (1) from intake collector.
4. Connect connector to IAC valve (1).
5. Check that plunger of IAC valve (1) moves once and then stops as soon as ignition switch is turned OFF.
If plunger of IAC valve (1) does not operate at all, check wire harnesses for open and short. If wire harnesses are in good condition, replace IAC valve (1) and recheck.
NOTE: This check should be performed by two people, one person operates ignition switch while the other checks plunger operation.
_____________________________
Also, here are the manufacturer's specs for fuel pressure.
____________________________
2003 Suzuki Truck Grand Vitara 4WD V6-2.5L
Fuel Pressure
With fuel pump operating and engine stopped: 38.4 - 44.1 psi
At specified idle speed: 29.9 - 37.0 psi
With 1 min. after engine (fuel pump) stop (pressure reduces as time passes: over 28.4 psi
_________________________
Let us know if you have questions.
Take care,
Joe
Images (Click to enlarge)
Jan 20, 2020 at 7:20 PM