ECC not working

1994 CADILLAC FLEETWOOD BROUGHAM
122 MILES • 5.3L • V8 • 2WD • AUTOMATIC
Avatar
SANDDOLLAR
  • MEMBER
  • 21 POSTS
I was reading one of you old posts from Cerry on ECC not working. I followed all the way to where you had the client check the three fuse input fuse slots for power all the time which was HVAC battery which I have power all the time. HVAC ign 11.1 volts running, then HVAC module which had o.o8 volts. I did not follow further because your client went and bought new ECC. So I have no power on the last fuse input HVAC module no power.
Dec 8, 2018 at 10:05 AM
Advertisement
Avatar
ASEMASTER6371
  • CERTIFIED EXPERT
  • 52,796 POSTS
Good afternoon,

Lets start at the beginning.

What is your exact issue with the AC?

Roy
Dec 8, 2018 at 12:14 PM
Avatar
SANDDOLLAR
  • MEMBER
  • 21 POSTS
ECC has no graphics.
Dec 8, 2018 at 1:43 PM
Advertisement
Avatar
SANDDOLLAR
  • MEMBER
  • 21 POSTS
ECC has no operating keys to get any codes.
Dec 8, 2018 at 1:45 PM
Avatar
SANDDOLLAR
  • MEMBER
  • 21 POSTS
In all areas that you indicated to check all are good except in ip fuse panel HVAC module 25 amp has no power.
Dec 8, 2018 at 1:49 PM
Avatar
SANDDOLLAR
  • MEMBER
  • 21 POSTS
This leads me to a conclusion that if all fuse input values point to the ECC module. This seems correct that the ECC is the problem. Would you join me in this or would you go a different direction?
Dec 8, 2018 at 1:54 PM
Avatar
SANDDOLLAR
  • MEMBER
  • 21 POSTS
when this first happened I had blower working with no heat or cool and no graphics on ECC.
Dec 8, 2018 at 1:56 PM
Avatar
SANDDOLLAR
  • MEMBER
  • 21 POSTS
Your third picture down had the most value and gave me the same conclusion you client did, except when I had no power in fuse input HVAC module either with it on or off.
Dec 8, 2018 at 2:01 PM
Avatar
SANDDOLLAR
  • MEMBER
  • 21 POSTS
This is where I am at this time. I have no other input. I hope something might give you an idea.
Dec 8, 2018 at 2:03 PM
Avatar
ASEMASTER6371
  • CERTIFIED EXPERT
  • 52,796 POSTS
If you have no power at the fuse block for that fuse, that is a issue with the fuse block.

That needs power as it does feed the control head.

Roy

Dec 8, 2018 at 2:06 PM
Avatar
SANDDOLLAR
  • MEMBER
  • 21 POSTS
When I sent you the answers I may have neglected to indicate that the reading was o.o8 which is like it was reading the cable itself.
Dec 8, 2018 at 2:21 PM
Avatar
SANDDOLLAR
  • MEMBER
  • 21 POSTS
If the book says the line is orange I should be able to read from the ECC unit to the fuse box?
Dec 8, 2018 at 2:23 PM
Avatar
ASEMASTER6371
  • CERTIFIED EXPERT
  • 52,796 POSTS
No, that is the meter.

It needs to be battery voltage. It looks like you have either corrosion or a break in the bus bar in the fuse block.

Roy
Dec 8, 2018 at 2:25 PM
Avatar
SANDDOLLAR
  • MEMBER
  • 21 POSTS
As I look at the diagram if the orange wire comes from the ECC battery side would you concur that there is a defect in the inside the ECC?
Dec 8, 2018 at 2:30 PM
Avatar
SANDDOLLAR
  • MEMBER
  • 21 POSTS
I say this only as it looks as if the ECC is the only source for voltage in this diagram going to that fuse number? Do you agree?
Dec 8, 2018 at 2:33 PM
Avatar
SANDDOLLAR
  • MEMBER
  • 21 POSTS
According to the diagram the only power that is received to the HVAC module as there is only the orange wire is from the ECC. Would you agree? Or am I not looking at the ECC diagram?
Dec 8, 2018 at 2:39 PM
Avatar
ASEMASTER6371
  • CERTIFIED EXPERT
  • 52,796 POSTS
If you have no power to the orange wire, it is not the ECC. The ECC does not generate voltage, the voltage comes from the fuse block to the ECC.


Roy
Dec 8, 2018 at 2:41 PM
Avatar
SANDDOLLAR
  • MEMBER
  • 21 POSTS
Roy is that power to the orange wire come from a source going direct to the battery or from a relay and then to the fuse?
Dec 8, 2018 at 2:51 PM
Avatar
ASEMASTER6371
  • CERTIFIED EXPERT
  • 52,796 POSTS
If you look at the diagram, you will see it originates at the fuse block, the source of power.

As I stated two times so far, if you have no power at the fuse, you have an issue with the fuse block itself.

Roy
Dec 8, 2018 at 2:57 PM
Avatar
SANDDOLLAR
  • MEMBER
  • 21 POSTS
Roy I see where orange comes in at HVAC battery which must connect to the deficient HVAC battery. Would you agree?
Dec 8, 2018 at 2:58 PM
Avatar
ASEMASTER6371
  • CERTIFIED EXPERT
  • 52,796 POSTS
The HVAC fuse, yes. That is the source of power.

Roy
Dec 8, 2018 at 3:00 PM
Avatar
SANDDOLLAR
  • MEMBER
  • 21 POSTS
You are correct. Thanks I will have to do some checking at the fuse block, thanks.
John
Dec 8, 2018 at 3:01 PM
Avatar
ASEMASTER6371
  • CERTIFIED EXPERT
  • 52,796 POSTS
You are welcome.

Always glad to help.

Roy
Dec 8, 2018 at 3:02 PM
Avatar
SANDDOLLAR
  • MEMBER
  • 21 POSTS
Talk to you when I have some answers. Thanks, have a nice evening. John
Dec 8, 2018 at 3:02 PM
Avatar
ASEMASTER6371
  • CERTIFIED EXPERT
  • 52,796 POSTS
You as well.

Roy
Dec 8, 2018 at 3:03 PM
Avatar
SANDDOLLAR
  • MEMBER
  • 21 POSTS
Hi Roy I have installed another ecc module and everything is back up and working but I have codes even though the car runs smooth. sorry to bother you late but when you get a chance. in diagnostic mode hear are the codes fuses and relays check ok . have checked
one electrical connection and that is it as of now. codes 00-29 ,01-131,144,122,128 .and they are rotating those numbers in 01. 02-110 03 -00 04- 00 05-109 06-00 so if I am correct we have three codes 00-29 which is secondary injection (electrical ) and the other
two I have no clue . I appreciate all previous help . have a nice evening and when you have some time Roy .
thans John Reddin
Dec 15, 2018 at 2:58 PM
Avatar
ASEMASTER6371
  • CERTIFIED EXPERT
  • 52,796 POSTS
Okay, got it.

At the codes you got, was there a letter in front of these codes such as E or F and then the numbers?

did you get the codes off the climate control?

Roy
Dec 15, 2018 at 5:36 PM
Avatar
SANDDOLLAR
  • MEMBER
  • 21 POSTS
Hi Roy sorry not to answer but your to fast for me . I used the climate control but see no letters how do I get the letter? John talk to you on Sunday, thanks.
Dec 15, 2018 at 7:11 PM
Avatar
ASEMASTER6371
  • CERTIFIED EXPERT
  • 52,796 POSTS
sounds good.
Dec 15, 2018 at 7:27 PM
Avatar
SANDDOLLAR
  • MEMBER
  • 21 POSTS
Good morning Roy . I have the big repair manual but it is tech oriented I can make copy of the pages that have the code DTC 29 and you can see if you can guide me through it .
the book seems to acknowledge that codes with 110 are history readings and cant seem to find how to clear . that is it let me know where you want me to go from here . the page in the manual talks about secondary air injection pump electrical strength . John
Dec 16, 2018 at 6:33 AM
Avatar
ASEMASTER6371
  • CERTIFIED EXPERT
  • 52,796 POSTS
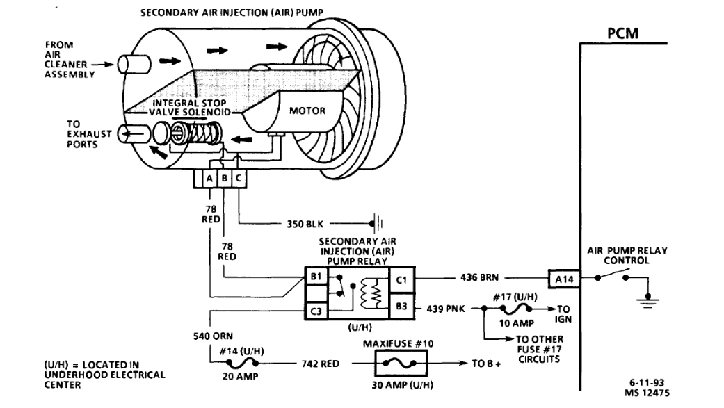
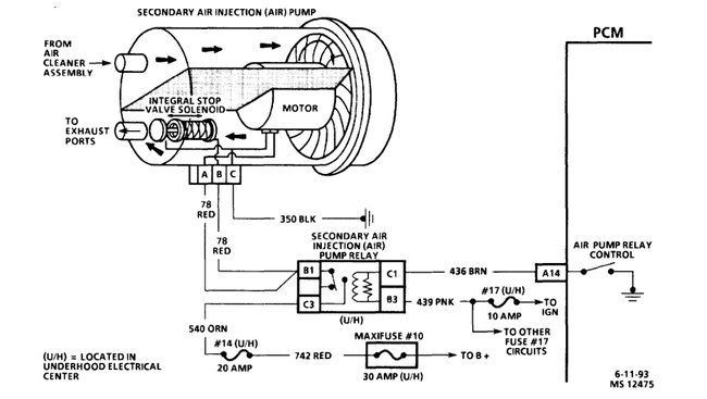
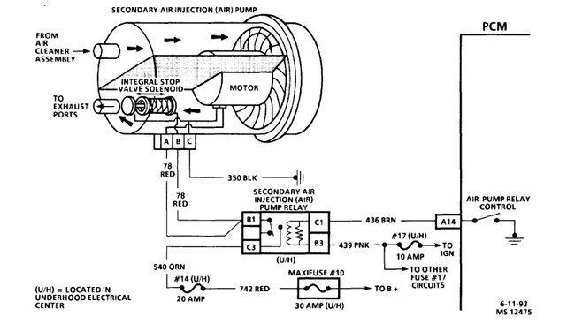
Okay, found the information on the code 29 for you. looks like a electrical issue with the secondary system. I attached a flow chart and a description of the system. to view and follow.

Roy

CIRCUIT DESCRIPTION
During cold starts, above -8.5°C (17°F), the Power-train Control Module (PCM) completes the ground circuit to the air pump relay which enables the air pump and integral stop valve. Air is directed to the exhaust ports whenever the engine is started. Whenever the fuel system enters "Closed Loop," or the air pump has been "ON" for greater than 240 seconds, the PCM opens the ground circuit to the air pump relay, and the air pump is de-energized and the integral stop valve closes.

CHART TEST DESCRIPTION
Numbers below refer to circled numbers on the diagnostic chart.

1. The PCM should energize the air pump when engine coolant temperature is greater than -8.5°C (17°F) and fuel system not in "Closed Loop." If any Diagnostic Trouble Codes (DTCs) are present the PCM will not energize the Air Injection Reaction (AIR) pump.

The fuel system must be operating in "Open Loop" to perform this test. If the system goes to "Closed Loop," stop the engine and allow some time to cool down then restart.

2. Air pump relay is located in the under-hood electrical center.

3. The PCM should de-energize the air pump relay when engine speed exceeds 2825 RPM.

4. Selecting "Miscellaneous Test" then outputs and then AIR system on the Tech 1 Scanner should enable the AIR pump and integral stop valve.

DIAGNOSTIC AIDS
There is a possibility that the AIR pump motor will be operating, but no air is being distributed to the AIR system. A restriction in the air hoses or pipes may be the cause or the integral stop valve may not be opening. The integral stop valve is part of the air pump. It the integral stop valve is not opening, vacuum may be building up in the air system, due to a faulty vacuum bleed valve.

Dec 16, 2018 at 6:50 AM
Avatar
SANDDOLLAR
  • MEMBER
  • 21 POSTS
thanks that is where I will start . have a great day Roy. I will let you know what I find. Today
looks like Christmas shopping day. thanks again.
Dec 16, 2018 at 6:59 AM
Avatar
ASEMASTER6371
  • CERTIFIED EXPERT
  • 52,796 POSTS
You are welcome.

Always glad to help.

Roy
Dec 16, 2018 at 7:11 AM