Radiator replacement/swap instructions needed

2006 CHRYSLER PT CRUISER
195,000 MILES
Avatar
CANDACEISBIZARRE
  • MEMBER
  • 7 POSTS
I got stuck at the bottom of a really muddy slick hill and I got stuck up. i had to get pulled by a chain up the hill to get unstuck. So i had someone else to drive my car out of there and when they were pulling my car out the chain came unloose and when he re-hooked the chain up to my car he must have hooked the chain up to my radiator or something because when they pulled it all the way up out of there i walked up the hill behind it and i saw a bunch of dark brownish looking fluid everywhere. looked kind of like oil and two rubber circle plug pieces that were broke off laying on the ground too. i hurried up and took it close to park it and it started running hot and they looked under it and said that my radiator was busted it had a hole in it. I have a radiator out of a Suzuki Sidekick car that he gave me to use to replace my bad one with. He took a tape measure and measured the radiator and he said he thinks it will fit. Do you think that i will be able to use that good radiator out of the Suzuki Sidekick car to put in my car? And how do i take my radiator out and how do i put that one out of the Suzuki back into my car correctly and what all fluids and parts do i need to have to fix it with?
Jun 20, 2019 at 2:22 PM
Advertisement
Avatar
JACOBANDNICKOLAS
  • CERTIFIED EXPERT
  • 110,175 POSTS
Welcome to 2CarPros.

Honestly, I can help you with the removal and replacement of a direct fit part, but I have no idea if the other will work. There are specific mounting points, radiators have different capacities, they have different core thickness for different coolant abilities, if your car is an automatic, then it will have transmission cooling lines to it in a specific place, the radiator hoses could be located in different places and could be different sizes, the cooling fans have to mount to it and the list goes on. Without being there, I have no idea what exactly you are facing. I strongly recommend getting a direct fit part in this case.

_________________________________

Here are the directions for replacing the radiator with a direct fit part. The attached pics correlate with the directions. You will see in the pics, there are a lot of mounting points for different things that are needed and will most likely not be the same on the Suzuki radiator.

_________________________________

PROCEDURES
RADIATOR

REMOVAL


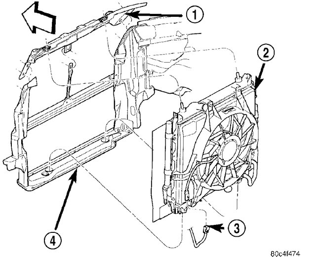
pic 1


WARNING: Do not open the radiator draincock with the system hot and under pressure because serious burns from coolant can occur.

NOTE: It is not necessary to discharge the air conditioning system to remove the radiator.

1. Drain cooling system.
2. Remove radiator fan.
3. Turbocharger Equipped Vehicles: Disconnect and cap the power steering hoses.
4. Disconnect lower radiator hose (3).
5. Non-Turbo Vehicles with Automatic Transmission: Remove two fasteners attaching transmission oil cooler to radiator.


pic 2


6. Non-Turbo Vehicles: Remove lower radiator air seal from side radiator air seals (2, 3).


pic 3


7. Remove fasteners (2) attaching AC condenser to radiator. Reposition AC condenser.
8. Turbocharger Equipped Vehicles: Remove fasteners (5) attaching charge air cooler to radiator.


pic 4


9. Remove radiator assembly (2) by lifting it up from the engine compartment. Care should be taken not to damage the cooling fins and tubes during removal.
10. Non-Turbo Vehicles: Remove the lower air seal from radiator.

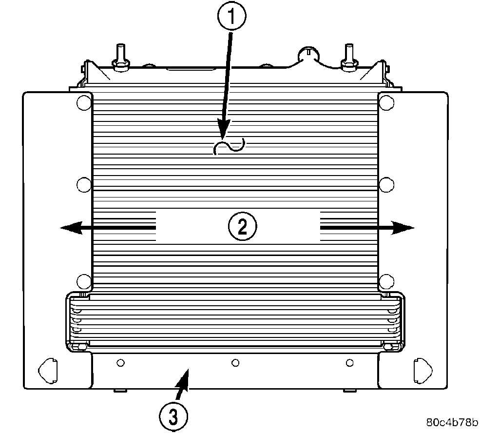
CLEANING
Clean radiator fins are necessary for good heat transfer. The radiator and air conditioning fins should be cleaned when an accumulation of debris has occurred. With the engine cold, apply cold water and compressed air to the back (engine side) of the radiator to flush the radiator and/or A/C condenser of debris.

INSPECTION
Inspect the radiator tanks for cracks, broken or missing fittings also inspect the joint where the tanks seam up to the radiator core for signs of leakage and/or deteriorating seals.
Inspect radiator core for corroded, bent or missing cooling fins. Inspect the core for bent or damaged cooling tubes.

INSTALLATION


pic 5


1. Non-Turbo Vehicles: Install the lower air seal to radiator.

NOTE: Turbocharger Equipped Vehicles: When lowering radiator, make sure lower radiator pins engage properly through charge air cooler locating tabs (1).

2. Position radiator into mounting position.
3. Position A/C condenser against radiator. Hand start fasteners.
4. Turbocharger Equipped Vehicles: Install fasteners attaching charge air cooler to radiator. Torque fasteners to 8 Nm (70 inch lbs.).


pic 6


5. Install radiator fan/shroud assembly. Hand start fasteners.
6. Torque all condenser fasteners to 8 Nm (70 inch lbs.).
7. Torque all radiator fan fasteners to 6 Nm (55 inch lbs.).
8. Non-Turbo Vehicles with Automatic Transmission: Install fasteners attaching transmission oil cooler to radiator. Torque fasteners to 8 Nm (70 inch lbs.).
9. Raise vehicle on hoist.


pic 7


10. Non-Turbo Vehicles: Connect the lower air seal to the side air seals.
11. Connect lower radiator hose. Align the hose and position the clamp so it will not interfere with engine components.
12. Connect the radiator fan electrical connector.
13. Turbocharger Equipped Vehicles: Connect the power steering hoses.
14. Close radiator draincock.
15. Lower vehicle.


pic 8


16. Turbocharger equipped vehicles: Inspect radiator inlet neck O-ring. Replace if necessary. Install radiator inlet neck. Torque fasteners to 6 Nm (55 inch lbs.).
17. Connect upper radiator hose. Align the hose and position the clamp to prevent interference with the engine or hood.
18. Install upper radiator closure panel and center brace.
19. Install grille.
20. Install battery tray and battery.
21. Connect positive battery cable. Connect negative battery cable.
22. Install air cleaner housing assembly.
23. Fill cooling system with coolant.
24. Operate engine until it reaches normal operating temperature. Check cooling system for correct fluid level.
25. Turbocharger Equipped Vehicles: Check power steering fluid level. Fill as needed.

______________________

Let me know if this helps or if you have other questions.

Take care,
Joe
Jun 20, 2019 at 7:47 PM
Avatar
CANDACEISBIZARRE
  • MEMBER
  • 7 POSTS
Okay, thank you for your honest advice it helps me a bunch! I also now need to know how to take the front brake calipers and rotors off of a 2007 Chrysler pt cruiser so that i can put them onto my 2006 pt cruiser. someone gave me some parts off of the 2007 pt cruiser i need to take them off of. Also what all tools do i need to take the caliper and rotors off of the front and what tools will i need to take the radiator off of it too please?
And do you know what would be making my power steering fluid reservoir on the outside of it have fluid leaked out on it for?
Jun 28, 2019 at 9:20 PM
Advertisement
Avatar
JACOBANDNICKOLAS
  • CERTIFIED EXPERT
  • 110,175 POSTS
Welcome back:

I hate to ask this, but I need you to start a new thread. We are trying to keep the threads specific to one focus so it helps others. I will watch for your question.

Take care, and sorry.

Joe
Jun 28, 2019 at 9:43 PM