Hello,
I found these instructions for you. (Diagrams below)
Remove the sunroof window.
Remove the sunroof module from the vehicle.
Remove the roof drain channel.
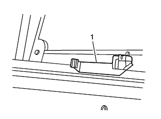
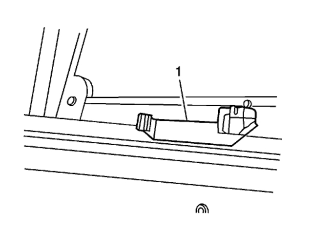
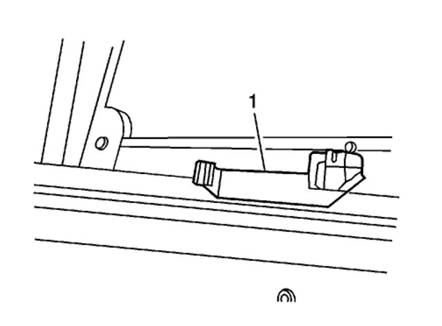
Move the glass attachment to the forward position. If necessary, use the sunroof motor manual override (1).
Remove the pin guide screw (1) and the pin guide (2).
Remove the push nuts (1) and guide plate (2).
Remove the water channel guide (1) by pushing the water channel guide out of the rear of the track.
Move the lift mechanism (1) off to the side to disengage. Reposition the mechanism rearward using manual override.
Remove the system stopper (1) using a small flat-bladed tool.
Remove the connecting link (1) by lifting outward on the end in order to remove the link from the track.
From inside the vehicle, grab on one end of the lace at the joint. Pull gently until the lace is off the headliner and sunroof.
Please let us know what happens and upload pictures of the problem.
Cheers, Ken
Images (Click to enlarge)
Sep 7, 2017 at 11:08 AM