Timing belt timing marks

2013 CHEVROLET CRUZE
180,000 MILES • 2.2L • 4 CYL • AWD • MANUAL
Avatar
ALI BEN SACI
  • MEMBER
  • 1 POST
What are the timing chain timing marks for my car listed above?
Aug 19, 2017 at 1:50 PM
Advertisement
Avatar
STRAILER
  • CERTIFIED EXPERT
  • 53,855 POSTS
You will need to jack the car up first. Here is a guide for that.

https://www.2carpros.com/articles/jack-up-and-lift-your-car-safely

Remove the serpentine belt, here is a guide that will give you an idea of what you are in for when doing that job.

https://www.2carpros.com/articles/replace-serpentine-belt

Then take off the balancer,

https://www.2carpros.com/articles/how-a-harmonic-balancer-works

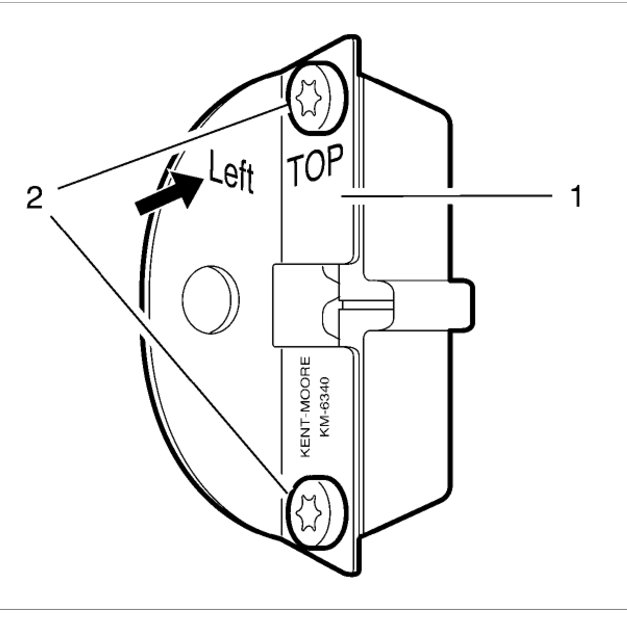
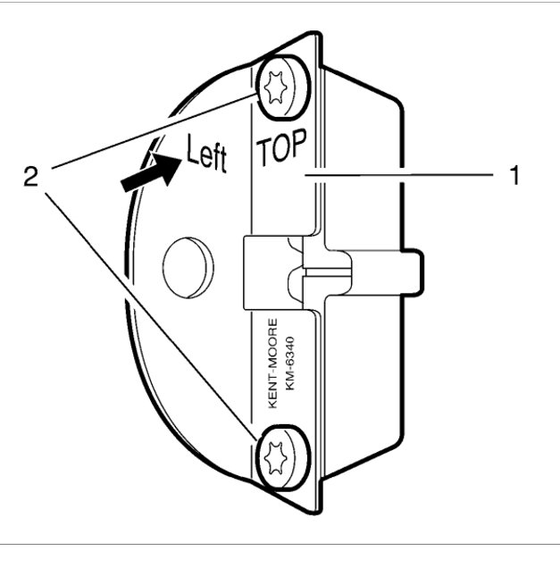
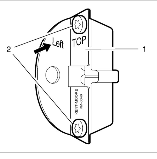
Here are some factory notes for the tool

Note:
The left half of the EN-6340 locking tool can be recognized by the lettering "left", arrow, on the tool.

Prepare the left half of the EN-6340 - locking tool.
Remove the 2 bolts (2)
Remove the front panel (1) from the EN-6340 - locking tool- left.

Install the EN-6340 - locking tool into the camshaft adjusters.
Note:
The spot type marking (4) on the intake camshaft adjuster does not correspond to the groove of EN-6340-left during this process but must be somewhat above as shown.

Install the EN-6340 - locking tool- left (1) in the camshaft adjusters as shown.
Note:
The spot type marking (3) on the exhaust camshaft adjuster must correspond to the groove on EN-6340-right.

Install EN-6340 - locking tool- right (2) in the camshaft adjusters as shown.

Please let us know what happens so it will help others.

Here is the timing belt

https://www.amazon.com/gp/product/B00CFBVV2S/ref=as_li_qf_sp_asin_il_tl?ie=UTF8&tag=2carprcom-20&camp=1789&creative=9325&linkCode=as2&creativeASIN=B00CFBVV2S&linkId=d499343214d038b9ee05da0a1cf0b42e

Cheers, Ken
Aug 20, 2017 at 2:52 PM