How many quarts of transmission fluid

2005 DODGE MAGNUM
111,300 MILES • 2.7L • 6 CYL • 2WD
Avatar
DESTINY SHULTS
  • MEMBER
  • 2 POSTS
I am having difficulty finding how much transmission fluid my vehicle takes. Also, my second ignition coil and spark plug keeps getting a black thick substance on it and they are both brand new.
Aug 22, 2018 at 8:45 PM
Advertisement
Avatar
DANNY L
  • CERTIFIED EXPERT
  • 5,648 POSTS
Hello, I am Danny.

Your transmission holds 5.30 quarts of ATF Plus 4 or equivalent. Does the spark plug and coil issue set a code or check engine light? Hope this helps and thanks for using 2CarPros.
Danny-
Aug 22, 2018 at 11:05 PM
Avatar
DESTINY SHULTS
  • MEMBER
  • 2 POSTS
Yes, the code that it sets of is: cylinder two misfire, and injector circuit/open- cylinder two
P0300 Cnf.
And yes the check engine light also comes on and sometimes blinks.
Aug 23, 2018 at 5:35 AM
Advertisement
Avatar
DANNY L
  • CERTIFIED EXPERT
  • 5,648 POSTS
Hello again.
How long between replacement did it do again (code set/oily deposit)?
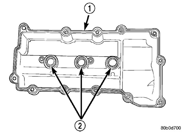
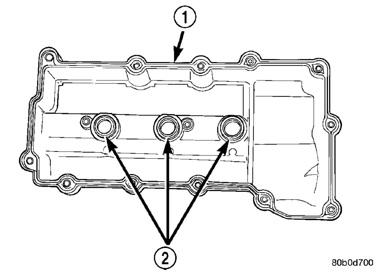
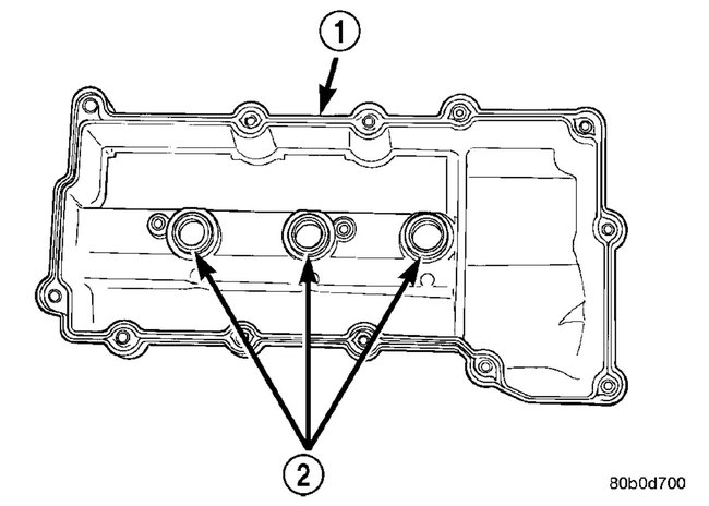
Also, the mileage in between. Probably the valve cover gasket leaking oil into the spark plug well.... fairly common issue

Since you have to remove the upper intake to do this and one side is leaking you may want to consider replacing both sides while it is apart.


Let me know. Thanks again for using 2CarPros.
Danny-


Some diagrams below of replacing V/C gaskets
Aug 23, 2018 at 11:43 PM