How do I replace the flywheel?

1991 VOLKSWAGEN CORRADO
84,000 MILES • 1.8L • 4 CYL • 2WD • MANUAL
Avatar
SCION
  • MEMBER
  • 41 POSTS
So, the flywheel came off loose.

How do I replace the flywheel?

Do I need any special tools?

Do i need to replace the clutch?

What do I need to remove to take out the transmission?

What do I need to remove to take out the flywheel?

Pictures, torque specs and sequence are greatly appreciated!
Apr 17, 2024 at 7:30 PM
Advertisement
Avatar
STRAILER
  • CERTIFIED EXPERT
  • 53,854 POSTS
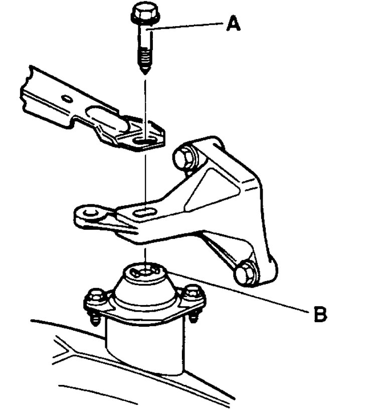
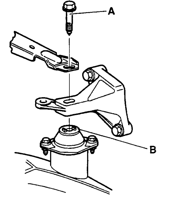
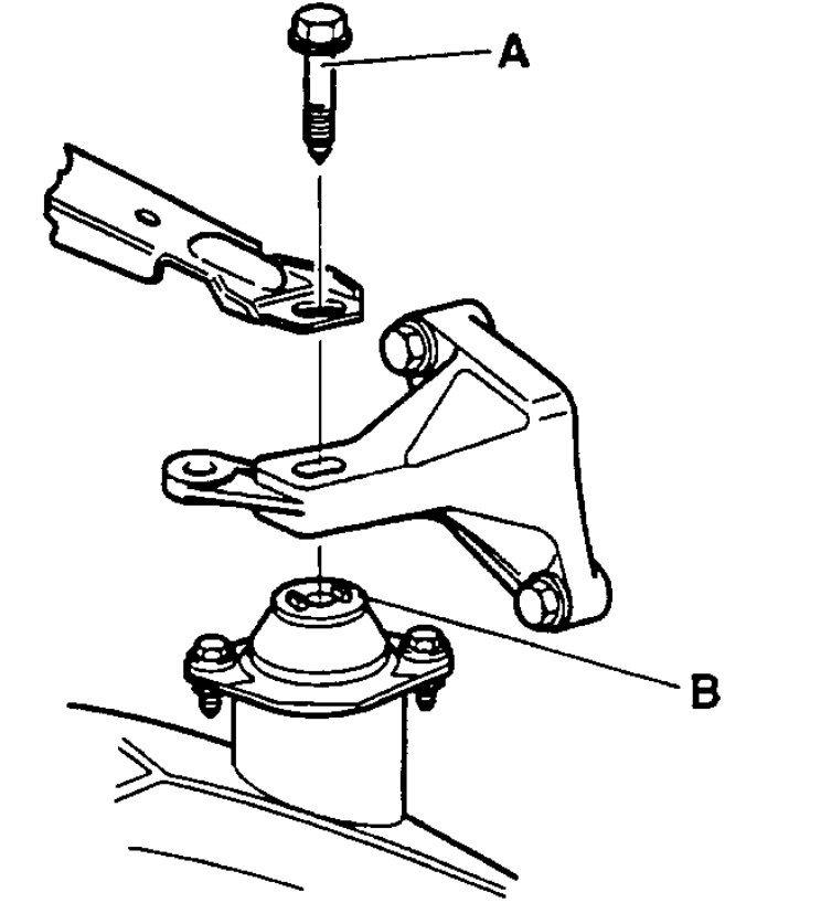
You will need a mechanic's tool set and an engine bay engine hoist. It would be best to use jack stands to hold the car as well. Here is a video of the job being done on a similar car, but the process is the similar and I have included instructions for your car in the images below.

https://youtu.be/6N6b5F2ChyE?si=0XPBv5DnV2DyDLhI

Check out the images (below). Please upload pictures or videos in your response to the problem so we can see what's going on.
Apr 18, 2024 at 10:21 AM
Avatar
SCION
  • MEMBER
  • 41 POSTS
Turns out the engine locked up because the old owner beat the crap out of it.
Jun 24, 2024 at 10:20 PM
Advertisement
Avatar
STRAILER
  • CERTIFIED EXPERT
  • 53,854 POSTS
It happens, do you need instructions on how to remove the engine to into a another one? If so please start a new thread. Thanks for letting us know, we are here to help, please use 2CarPros anytime.
Jun 25, 2024 at 10:39 AM