High engine revs

1988 CHEVROLET CAMARO
100,000 MILES • 0.5L • V8 • 2WD • AUTOMATIC
Avatar
ALLAN CHETTY
  • MEMBER
  • 31 POSTS
The car starts and idles smoothly, idles between 1,500 and 2,000 rpm's very slight dip in idle seldom.it also changes to overdrive excellence, no slipping. The issue is at 100 kmp the revs do not drop to around 2,000 and 3,000 rpm's like it used to. I ran like that about 500 km.i dropped the transmission undercover and my word the filter was black but the oil was still reddish and no smell. Incidentally I put a new transmission shifter cable and used to battle to get it out of park but other gears changed fine. The cable I used was bought from a v8 shop in South Africa and was twice the size of original but we made it work. I retired the engine. Checked for damaged hoses all good, took out IAC valve and cleaned it out, changed MAP sensor, that's were I am. Today I want to take out EGR valve and clean, when I play with the temperature sensor that controls idle on top before the TBI there is a fluctuations, but when the engine warms up the idle drops so I presume that's working, any further inputs thanks guys God bless you all for your time and services. Regards Allan Chetty
Mar 26, 2020 at 11:15 PM
Advertisement
Avatar
KASEKENNY
  • CERTIFIED EXPERT
  • 18,907 POSTS
We need to run through these guides and see what turns up. We may find the solution or at least alter the issue to point to the issue.

https://www.2carpros.com/articles/engine-idles-too-high

I suspect there is a possible vacuum leak that is pumping up the RPM.

https://www.2carpros.com/articles/engine-idles-too-high

You have already done some of these things but let me know what happens. Also, the EGR is not a bad idea so again, update us after you review this material and inspect/clean the EGR. Thanks
Mar 28, 2020 at 8:43 AM
Avatar
ALLAN CHETTY
  • MEMBER
  • 31 POSTS
thanks for response. the rotor was cracked which I glued and car started rite up (we are on lock down cannot purchase parts),my OBD is not showing any faults,the idle still revs at bet -15/20k rpm's. the only other thing could be TPS or IAC valves which I don't know how to test. but when unplugged the EGR engine cuts out, when TPS or IAC unplugged car does not falter.
Apr 5, 2020 at 4:04 AM
Advertisement
Avatar
KASEKENNY
  • CERTIFIED EXPERT
  • 18,907 POSTS
I attached how to replace the IAC assuming you have an electronic fuel delivery system (injectors not a carburetor). It could be the IAC but that normally causes an erratic idle or stall at idle.

If you have high RPM we need to check for a vacuum leak. Here is a guide that runs through this:

https://www.2carpros.com/articles/how-to-use-an-engine-vacuum-gauge

I also attached the fast idle adjustment. Again, if you have a fuel injection system then you don't have a way of adjusting idle speed. However, if it is high then we need to run through this info and go from there. There is a chance that it is a throttle sensor but that would normally have a fault code so let's start with this info and go from there. Thanks
Apr 5, 2020 at 8:14 AM
Avatar
ALLAN CHETTY
  • MEMBER
  • 31 POSTS
thanks. will run through. stay blessed.
Apr 7, 2020 at 12:48 AM
Avatar
KASEKENNY
  • CERTIFIED EXPERT
  • 18,907 POSTS
Thank you. You as well. Let us know how it turns out. Thanks
Apr 7, 2020 at 8:50 AM
Avatar
ALLAN CHETTY
  • MEMBER
  • 31 POSTS
hi, tested the IAC and it moves so that works. I went back to checking timing and upon revving the engine the timing mark retards left way out the mark plate. I got the timing set at 6% btc. it idles with a dip randomly.
Apr 8, 2020 at 6:56 AM
Avatar
ALLAN CHETTY
  • MEMBER
  • 31 POSTS
Hi, just a thought. the car starts on the button just perhaps the timing could have jumped a tooth after interfering with the timing it's now backfiring and very rough. also loss of power. plugs are new, the wires recently replaced.
Apr 8, 2020 at 9:50 AM
Avatar
KASEKENNY
  • CERTIFIED EXPERT
  • 18,907 POSTS
You have a timing chain and that is unlikely to jump timing but based on what it is now doing especially the backfiring, we need to check it. I attached the timing marks and chain replacement process. I don't think you need to replace it unless you find it is off. If it is, the chain could be stretched and need to be replaced.
Apr 8, 2020 at 6:04 PM
Avatar
ALLAN CHETTY
  • MEMBER
  • 31 POSTS
Thanks. God Bless.
Apr 8, 2020 at 11:11 PM
Avatar
KASEKENNY
  • CERTIFIED EXPERT
  • 18,907 POSTS
You are welcome. You as well. Thanks
Apr 9, 2020 at 12:09 PM
Avatar
ALLAN CHETTY
  • MEMBER
  • 31 POSTS
Good morning friend this is a historical day for us. May you and family continue in His blessing. Car question. By gluing the cracked rotor do you think the sparks jumping all around and causing the backfire and erratic idle? Ta
Apr 9, 2020 at 11:02 PM
Avatar
KASEKENNY
  • CERTIFIED EXPERT
  • 18,907 POSTS
That it is. Thanks. You too.

It depends on where it is cracked. If it is just the plastic portion then it is okay. However, if it is near the metal tab then it could cause the spark to jump to another ground source. Basically this electrode is allowing the spark to leave at the tip as it searches for ground. If it finds an easier path then it will take it. However, this normally causes a misfire and not necessarily a backfire. However, anything is possible if the spark is erratic. If it is just the rotor I would replace it because they are normally pretty cheap.
Apr 10, 2020 at 7:10 PM
Avatar
ALLAN CHETTY
  • MEMBER
  • 31 POSTS
Thanks Kenny, I watched the injectors the spraying of fuel, when cold car idles 3,000 rpm's, no miss, when a little hot idle drops to 2,000 rpm's then occasionally I see extra fuel like drops in a second and causes the surge, is there any way to test the ECM? Also the oxygen sensor has never been changed. thanks, stay blessed.
Apr 11, 2020 at 1:23 AM
Avatar
KASEKENNY
  • CERTIFIED EXPERT
  • 18,907 POSTS
Okay. You mentioned it earlier but you have the Throttle Bore Injection (TBI) system, correct? If you did, where did you see the fuel drops? Were they coming from the injector? If this is the case, I don't think you have an ECM issue. I suspect you have a leaking injector or possible just a "dirty" injectors that is causing fuel to drip from it.

However, if you have seen this and that is when the surge happens then you found the issue. Clearly more fuel is going to raise RPM so we need to suspect an injector issue. The injectors are only supposed to deliver fuel when they are opened (pulsed) by the ECM and it is only supposed to spray fuel, not drip fuel. So if it is dripping fuel then that is either it remaining slightly open or there are deposits in the nozzle causing fuel to drip into the the intake.

Take a look at this info and let me know what you think.
Apr 11, 2020 at 7:50 AM
Avatar
ALLAN CHETTY
  • MEMBER
  • 31 POSTS
Thanks Kenny, it's spraying like funnel constantly on idle, but occasionally just for a second it sprays extra then normal and both injectors spraying evenly not dripping. I'm stumped. Thanks for your time to respond, stay blessed.
Apr 12, 2020 at 2:49 AM
Avatar
KASEKENNY
  • CERTIFIED EXPERT
  • 18,907 POSTS
If both injectors are doing it evenly and they are normal spray patterns but just longer and that is causing the surge then that tells us that something is telling the ECM to open the injectors for a longer period of time. This means something is telling the ECM to do it or the ECM is faulty.

I know you said you checked hoses for damage but have you actually inspected for a vacuum leak? This will cause a random addition of fuel when the ECM sees a slightly lean condition due to the addition of the unmetered air.

https://www.2carpros.com/articles/how-to-use-an-engine-vacuum-gauge
Apr 12, 2020 at 1:44 PM
Avatar
ALLAN CHETTY
  • MEMBER
  • 31 POSTS
Hi kasekenny, trust all is well. we are in South Africa not too good (lock down stressful),but God is always in control.car question the car at timed at 6$ before TDC and idles smooth at 2500/3000 at warmed idles 15/20k. the following I done: had distributor and coil tested at a test center, new TSP, checked all hoses, IAC I took out and upon key on it came out fully (working),all plugs and leads working properly. took out TBI cleaned and that sprays evenly and fuel filter changed (was not dirty), obd no codes except 12 .revs no hesitation or backfire ,but the moment put in drive stars to miss behave slight backfire, rough engine rocks. i am now stumped .I even tried to move the TPS position slightly -no difference. the plug into TPS was broken and I don't know if I pined that right. i got the blue on top and bottom left black and white on bottom right. I tested the ref, on blue wire reads below 04 ohms. any help is welcome. God Bless.
Apr 26, 2020 at 1:49 AM
Avatar
KASEKENNY
  • CERTIFIED EXPERT
  • 18,907 POSTS
It's great that you always start your posts with the real priority.

As for your high idle, as you are aware with it being TBI, idle speed is not adjustable. However, there is one process that we can try to reset which is the minimum air rate which will hopefully relearn the ECM's ability to control the idle.

I attached the process. Also, at idle we should be around 500 RPM and there is a chart showing the TPS voltage. When the vehicle is idling, note the RPM and then measure the voltage of the TPS. If the TPS is correct voltage but still has high idle then we know it is not the TPS.

Let me know what you find. Thanks
Apr 27, 2020 at 7:30 AM
Avatar
ALLAN CHETTY
  • MEMBER
  • 31 POSTS
Hi Kasekenny, trust all is well on your side. we in South Africa still on lock down ,and the virus not flattening, but by His Grace he will see us through.i found that there was a break in TSP connector and fixed that ,also the color wire to pin connection was not roght as the original pliu in is broken.it seemed a little better,i also reset the IAC as per your guide; the car seemed much better but still not smooth when in gear. the idle seems around 20k and comes down to 15 rpms and fluctuates there ,the pintle came off and i screwed it back and i think that is now my major issue as to how much to screw in. i closed loop the engine but still its rough in gear ,but idles constant with no hesitation but dips below 20 rpm's to 15 and back up again ,the engine itself is not shaking ,and my timing set at 6 degrees before TDC. thank you for taking the time to walk me through. God Bless you and family.
Apr 29, 2020 at 3:42 AM
Avatar
KASEKENNY
  • CERTIFIED EXPERT
  • 18,907 POSTS
It will get better.

You mentioned it a number of times but I never checked it. The timing on this engine appears to be 0 BTDC. Lets set the timing there and then see what happens. 6 degrees shouldn't make that much of a difference but it could. Worth a try.
Apr 29, 2020 at 6:32 PM
Avatar
ALLAN CHETTY
  • MEMBER
  • 31 POSTS
Thanks will try that. stay blessed.
Apr 30, 2020 at 7:20 AM
Avatar
ALLAN CHETTY
  • MEMBER
  • 31 POSTS
Hi Kenny, would you happen to know the measurement of the pintle in parked position in the IAC ,the to the open is 28mm .but my pintle came of and I refitted I also tried to reset but car still not right. thanks
Apr 30, 2020 at 7:25 AM
Avatar
KASEKENNY
  • CERTIFIED EXPERT
  • 18,907 POSTS
So this is interesting because I have never experienced this before. But you installed it at 28mm and the spec on installing the IAC is 11/8 inches which is 35mm (34.9mm to be exact). It cannot be any greater then this or it will damage the assembly. So let's install this at this length and retest it. Also, pay attention to the last sentence where it says on 84-88 the ECM will reset idle speed when driven over 35 MPH. So run through this process and then drive the vehicle and see if that fixes it.

Also, make sure you are measuring as the image shows. Thanks
May 1, 2020 at 10:18 AM
Avatar
ALLAN CHETTY
  • MEMBER
  • 31 POSTS
Good morning, God is good today we have partial freedom. I reset the IAC and drove around but to run smooth I set timing to 10 degrees advance and the idle problem still high. the only thing I haven't done is vacuum test because I don't have pump. I got an air tire pump will try that. thanks a million for taking the time to respond to me. Stay blessed.
May 1, 2020 at 11:48 PM
Avatar
ALLAN CHETTY
  • MEMBER
  • 31 POSTS
Hi Kenny,

When I press under the EGR valve (cleaned) the car used to stumble or cut out now it does not do that ,no response from engine when pressed.thanks
May 2, 2020 at 12:14 AM
Avatar
KASEKENNY
  • CERTIFIED EXPERT
  • 18,907 POSTS
Clearly we need a gauge/pump to test the vacuum but here is a guide that will help with how to check for a vacuum leak. Basically you spray carb cleaner around the intake and vacuum hoses to see when the RPM raises.

https://www.2carpros.com/articles/how-to-use-an-engine-vacuum-gauge
May 2, 2020 at 6:38 PM
Avatar
ALLAN CHETTY
  • MEMBER
  • 31 POSTS
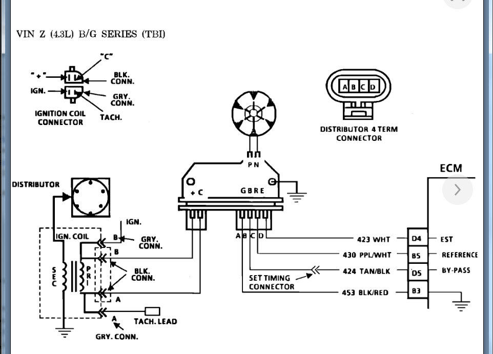
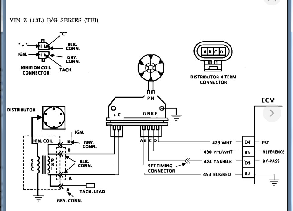
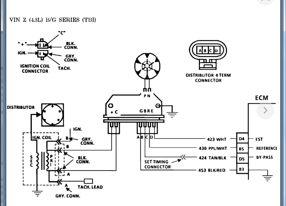
Hi Kenny, trust you are well. thanks for your time to address me. we in S.A . back to usual life with precautions, my car listed above 5l. TBI, v8 so far this what I done: I replaced the whole TBI unit with a second hand set, new rotor, plugs, wires, cleaned EGR and co2 sensor, MAP sensor, checked no vacuum leaks, timing set at 6% bdc. the spray from injectors evenly both sides, another temperature sensor: here is where we are at : normal temperature idling at15/25k , no missing or hesitation ,drive 30 seconds and then backfires through exhaust lots and if throttled then backfires through carburetor, the code 42 says est gnd or open. I don’t know how to fix .any help will be appreciated thanks God Bless.
Jun 18, 2020 at 11:49 AM
Avatar
KASEKENNY
  • CERTIFIED EXPERT
  • 18,907 POSTS
Great to hear. Parts of the USA are getting back to normal as well.

As for this issue we are going to have to get a new post started. Unfortunately we need to keep each post pretty tight to what the heading states. That way when others have the same issue you are they can find the answer. Backfiring is just a little too different then high idle, plus some may have backfiring on this vehicle and not a high idle so they will never find it under this post.

I attached the info about this code so if you can run through this and then post your results on a new post we will tackle this one with you as well. Thanks

https://www.2carpros.com/questions/new
Jun 19, 2020 at 5:44 PM