After replacing plugs and valve cover gasket it will not stay running

2001 PONTIAC GRAND AM
173,000 MILES • 2.4L • 4 CYL • 2WD • AUTOMATIC
Avatar
JAY RUSSELL
  • MEMBER
  • 14 POSTS
I have something going on with my aunts car. It need plugs and valve cover gasket. Car run good for being so old. after putting new plugs and changing gasket now you start the car rpm's going up and down then shuts off. any help would be great.
Oct 19, 2020 at 10:25 PM
Advertisement
Avatar
ASEMASTER6371
  • CERTIFIED EXPERT
  • 52,796 POSTS
Good morning,

I heard a noise in the video that I did not like. Recheck your work and make sure the parts under the cover are secure.

When we do those tune-ups, we replace the coils, cap boots, and the module. It is common for the cap to have cracks and cause misfires.

https://www.2carpros.com/articles/engine-misfires-or-runs-rough

Roy
Oct 20, 2020 at 1:36 AM
Avatar
JAY RUSSELL
  • MEMBER
  • 14 POSTS
Okay, I will check them. thanks for your time.
Oct 20, 2020 at 3:31 AM
Advertisement
Avatar
ASEMASTER6371
  • CERTIFIED EXPERT
  • 52,796 POSTS
You are welcome.

Always glad to help.

Roy
Oct 20, 2020 at 3:35 AM
Avatar
JAY RUSSELL
  • MEMBER
  • 14 POSTS
What does this go to???
Oct 20, 2020 at 7:37 AM
Avatar
ASEMASTER6371
  • CERTIFIED EXPERT
  • 52,796 POSTS
I cannot see what you are talking about at all.

Can you be more specific?

Roy
Oct 20, 2020 at 7:40 AM
Avatar
JAY RUSSELL
  • MEMBER
  • 14 POSTS
That is where the gray vacuum hose plugs into on the throttle body.
Oct 20, 2020 at 7:45 AM
Avatar
ASEMASTER6371
  • CERTIFIED EXPERT
  • 52,796 POSTS
You are missing a vacuum line there. You need to find the line and reconnect it.

I attached a vacuum diagram for you to view.

Roy
Oct 20, 2020 at 7:52 AM
Avatar
JAY RUSSELL
  • MEMBER
  • 14 POSTS
It seams like when the car is cold runs good then when it starts heating up that’s when it acts up?

I tried to back the car up and it died on me I had to hold my foot and the gas a little. When driving it runs good until i come to a stop it’s shuts off and acts up until I give it a little gas.
Oct 21, 2020 at 10:11 PM
Avatar
ASEMASTER6371
  • CERTIFIED EXPERT
  • 52,796 POSTS
Did you connect the hose to the throttle body?

Did you replace the cap under the valve cover as we discussed?

What additional work did you perform?

Roy
Oct 22, 2020 at 3:59 AM
Avatar
JAY RUSSELL
  • MEMBER
  • 14 POSTS
Yes, I have plugged everything back up.

Yes, I put new plugs and caps.
Oct 22, 2020 at 4:03 AM
Avatar
ASEMASTER6371
  • CERTIFIED EXPERT
  • 52,796 POSTS
Are there any codes stored in the system?

I would also clean the throttle body of any carbon build up as well.

https://www.2carpros.com/articles/throttle-actuator-service

Roy
Oct 22, 2020 at 4:08 AM
Avatar
JAY RUSSELL
  • MEMBER
  • 14 POSTS
There are no codes at all.
Oct 22, 2020 at 8:46 PM
Avatar
ASEMASTER6371
  • CERTIFIED EXPERT
  • 52,796 POSTS
Okay, did you clean the throttle body as the guide suggested?

Like I was saying before, I replaced the plugs, boots, cap, coils and module on these cars as doing only one or 2 pieces, we always had running issues.

Roy
Oct 23, 2020 at 4:24 AM
Avatar
JAY RUSSELL
  • MEMBER
  • 14 POSTS
Yes, I cleaned the throttle body today and still doing the same thing. I don’t get it what else can it be?
Oct 24, 2020 at 10:25 PM
Avatar
ASEMASTER6371
  • CERTIFIED EXPERT
  • 52,796 POSTS
Just to be sure, I posted a picture of the coil housing.

Did you replace this as it is critical.

Roy
Oct 25, 2020 at 4:13 AM
Avatar
JAY RUSSELL
  • MEMBER
  • 14 POSTS
Okay, so I was driving and the service engine soon came on then it gave me this code.
Oct 30, 2020 at 10:28 PM
Avatar
ASEMASTER6371
  • CERTIFIED EXPERT
  • 52,796 POSTS
What is the code number?

Evap code will not cause this issue.

Roy
Oct 31, 2020 at 3:45 AM
Avatar
JAY RUSSELL
  • MEMBER
  • 14 POSTS
That’s the only code I got and it don’t make a lock of sense to me you think you will be getting codes of some kind when driving the car. I know it uses a lot of gas and you can smell it bad.
Oct 31, 2020 at 8:41 AM
Avatar
ASEMASTER6371
  • CERTIFIED EXPERT
  • 52,796 POSTS
I asked if you replaced the cap a couple posts ago. Can you please tell me if this was done?

Roy
Nov 1, 2020 at 5:34 AM
Avatar
JAY RUSSELL
  • MEMBER
  • 14 POSTS
Yes I did.
Nov 1, 2020 at 6:23 AM
Avatar
ASEMASTER6371
  • CERTIFIED EXPERT
  • 52,796 POSTS
Okay, I would go back to the beginning and pull the plugs. Make sure all the gaps are correct.

1.27 mm (0.050 in)

It has to something you touched for this repair.

Roy
Nov 1, 2020 at 6:32 AM
Avatar
JAY RUSSELL
  • MEMBER
  • 14 POSTS
Okay, I will do that. thanks
Nov 1, 2020 at 11:14 AM
Avatar
ASEMASTER6371
  • CERTIFIED EXPERT
  • 52,796 POSTS
You are welcome.

Roy
Nov 1, 2020 at 11:20 AM
Avatar
JAY RUSSELL
  • MEMBER
  • 14 POSTS
Okay, so I have checked the plug gap they are 0.50 and I have replace the whole housing boots and all. still shaking when stopped and smells like gas bad? I had the fuel system checked they said it was good? Guess start checking sensors next.
Nov 1, 2020 at 10:41 PM
Avatar
ASEMASTER6371
  • CERTIFIED EXPERT
  • 52,796 POSTS
Okay, what did they check and what were the results?

Roy
Nov 2, 2020 at 3:09 AM
Avatar
JAY RUSSELL
  • MEMBER
  • 14 POSTS
I have found that there is fuel coming out the pressure regulator not a lot but it’s coming out.
Nov 2, 2020 at 10:04 PM
Avatar
ASEMASTER6371
  • CERTIFIED EXPERT
  • 52,796 POSTS
There should be 0 coming out.

Replace the pressure regulator.

Roy

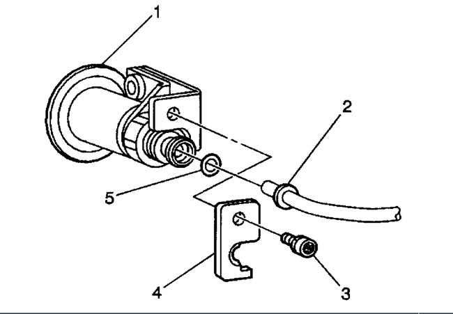
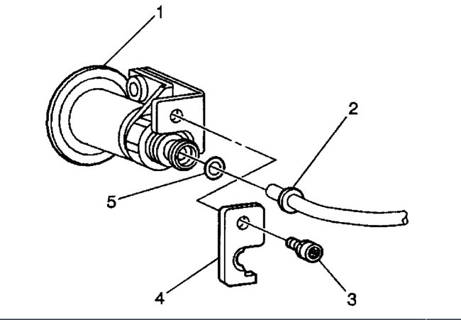
1. Remove the fuel rail assembly.
2. Remove the attaching screw (8) from the pressure regulator.
3. Remove the pressure regulator assembly (1) from the fuel rail.
Twist the assembly back and forth while pulling.

FUEL RAIL ASSEMBLY REPLACEMENT

REMOVAL PROCEDURE


imageOpen In New TabZoom/Print

1. Relieve the fuel system pressure. Refer to Fuel Pressure Relief Procedure.
2. Remove the air cleaner outlet resonator.
3. Disconnect the fuel pressure regulator vacuum hose.


imageOpen In New TabZoom/Print

4. Remove the camshaft position (CMP) sensor connector.


imageOpen In New TabZoom/Print

5. Pull up the lock release (2) of the fuel injector connector.


imageOpen In New TabZoom/Print

6. Depress the lock tab (1) and lift the connector from the injector.
7. Disconnect the fuel feed pipe from the fuel rail. Use a backup wrench on the fuel rail inlet fitting to prevent the fitting from turning.


imageOpen In New TabZoom/Print

8. Remove the fuel pipe retainers.


imageOpen In New TabZoom/Print

9. Remove the fuel rail attaching bolts (1).


imageOpen In New TabZoom/Print

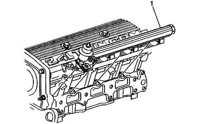
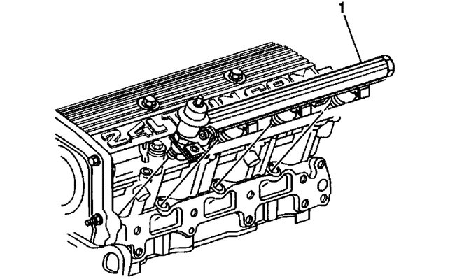
10. Lift the fuel rail assembly (1) from the cylinder head.


imageOpen In New TabZoom/Print

11. If the fuel rail is not being replaced, go to the installation procedure.
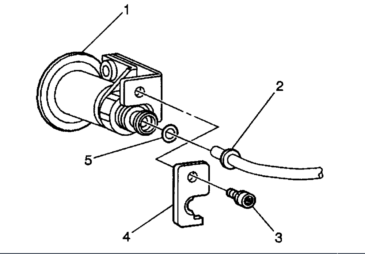
12. Remove the fuel return pipe bracket screw (3) and the bracket (4).
13. Remove the fuel return pipe (2) from the fuel pressure regulator (1).
14. Remove the fuel return pipe. Discard the O-rings.
15. Remove the fuel pressure regulator.
16. Remove the fuel injectors.
Nov 3, 2020 at 4:06 AM