Blower motor the fan is not kicking on

2003 ACURA TL
177,000 MILES • 3.2L • 6 CYL • AUTOMATIC
Avatar
NATASHIA BURRELL
  • MEMBER
  • 1 POST
The heating and air went out. it is like the fan is not kicking on to blow the hot or cold air out. i did the self check on it and the letter N pop up on mine. can you please tell me what this means?
Dec 8, 2017 at 4:24 AM
Advertisement
Avatar
STRAILER
  • CERTIFIED EXPERT
  • 53,854 POSTS
N stands for no codes to report. This sounds like you have a blower motor that has gone out.

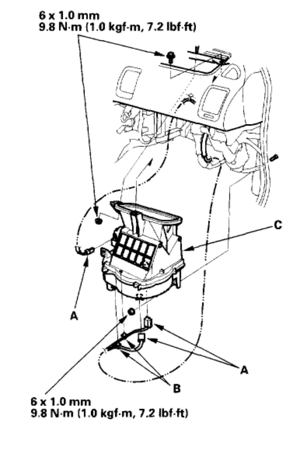
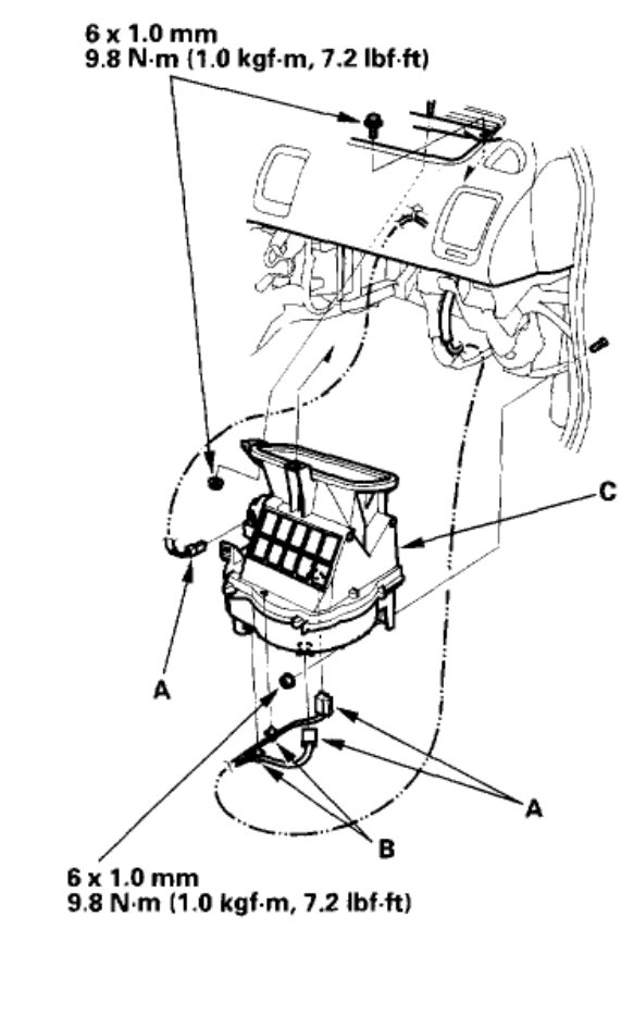
Here is a guide to help you see what you are in for and how to confirm the failure:

https://www.2carpros.com/articles/blower-fan-motor-works-on-high-speed-only

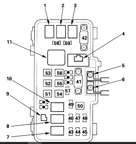
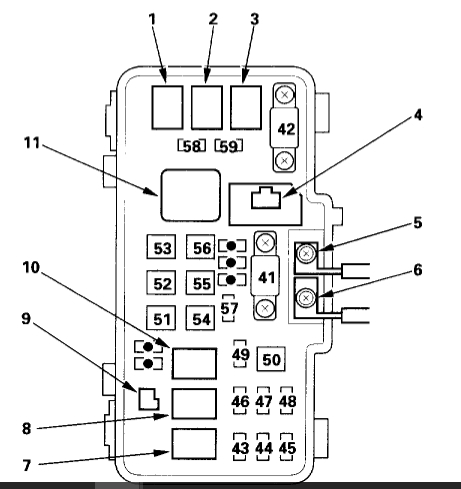
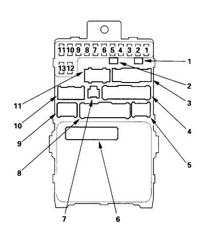
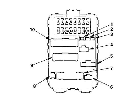
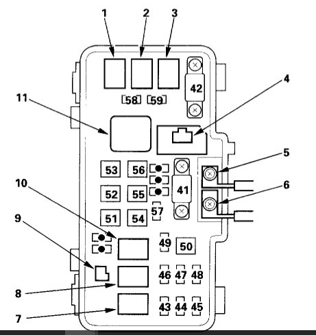
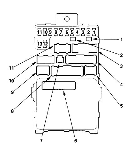
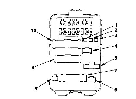
Below are some guides to help check the power and the fuse panels for the car.

There is a fuse number 56 and a relay that runs the system as well.

Here are two guides to help with that:

https://www.2carpros.com/articles/how-to-check-a-car-fuse

and

https://www.2carpros.com/articles/how-to-check-an-electrical-relay-and-wiring-control-circuit

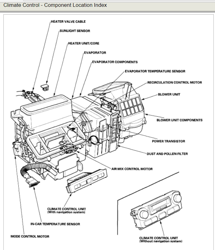
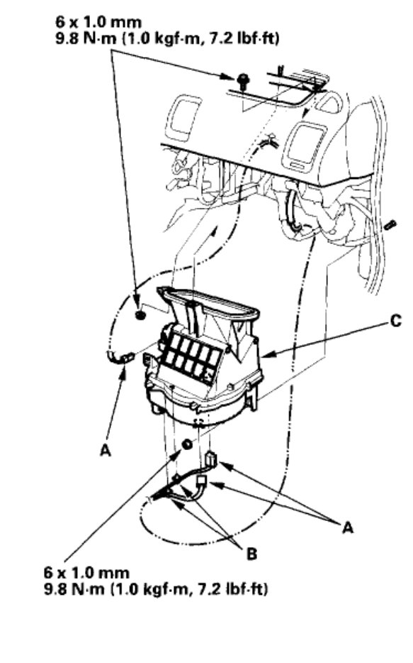
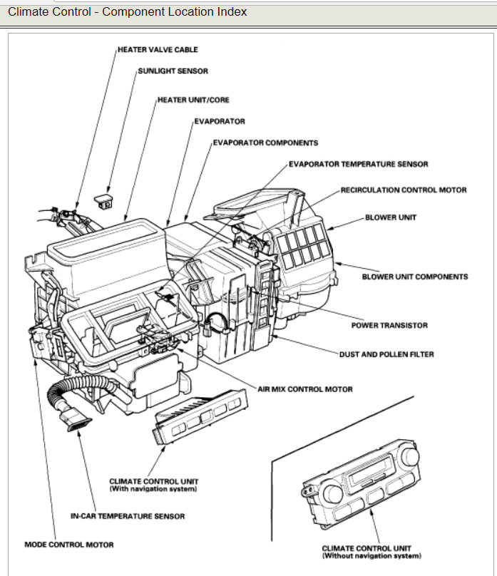
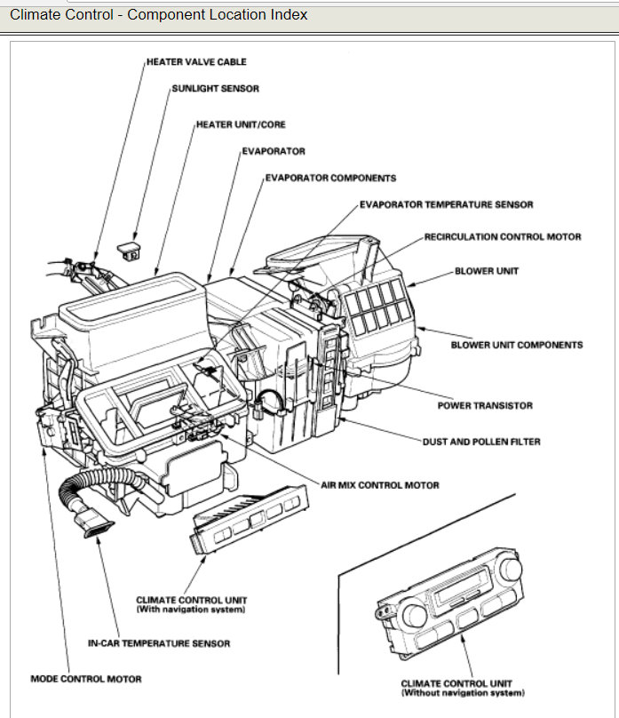
Check out the diagrams (below).

Let us know what happens and please upload pictures or videos of the problem.

Cheers, Ken
Dec 9, 2017 at 6:33 PM