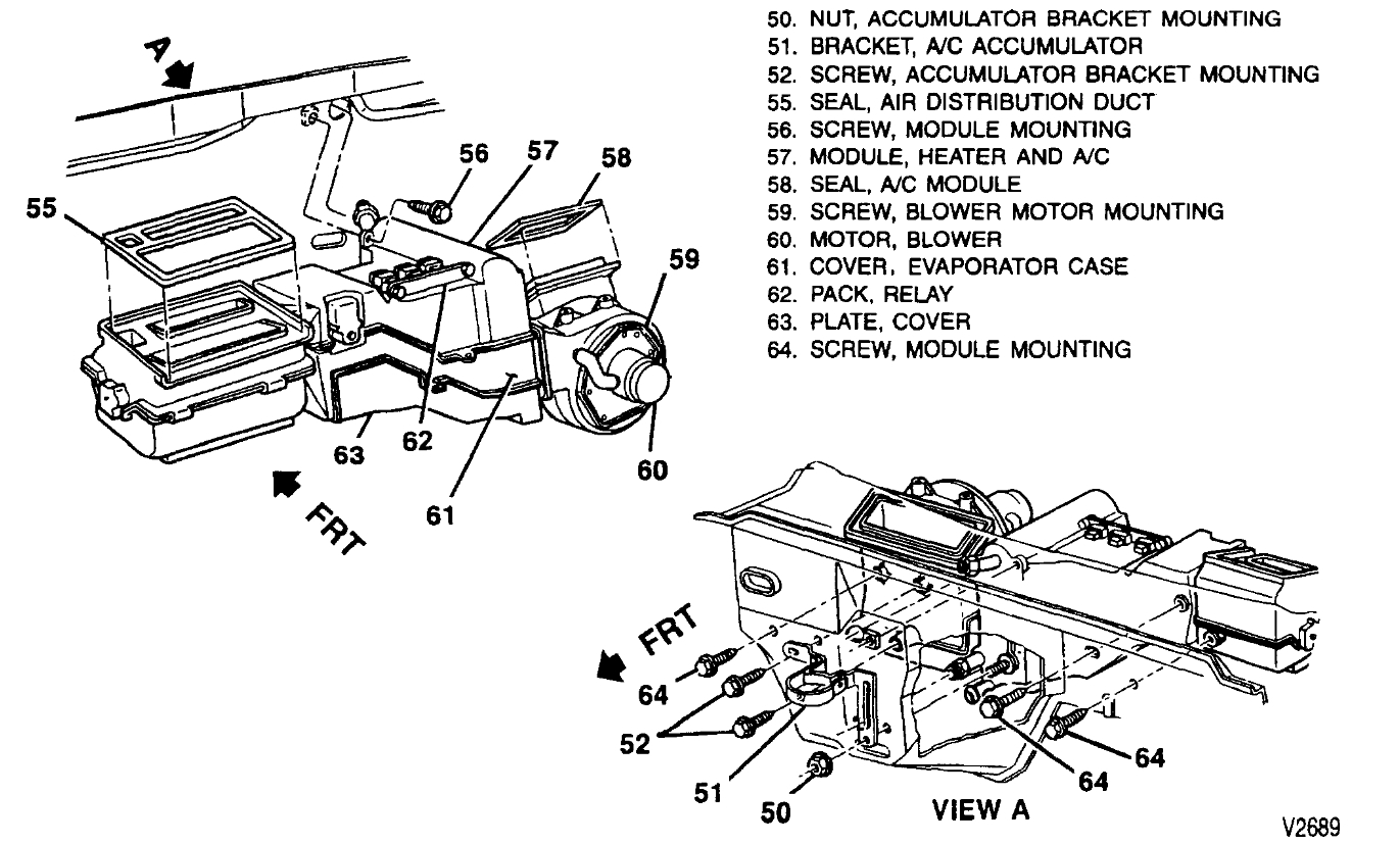
i need to replace the heater/AC blower/fan cover for my truck.
Oct 24, 2023 at 10:44 AM
Advertisement
STRAILER
CERTIFIED EXPERT
53,854 POSTS
I am not sure what you mean about blower motor cover but here is how to change the blower motor out and the location as well. Check out the images (below). Please let us know if you need anything else to get the problem fixed.