☰
Login
Join
×
Home
Answered Questions
Repair Topics
Repair & Service Guides
Popular Questions
Warning Lights
Trouble Codes
How It Works
Testing / Diagnostics
Symptoms
Videos
Login
Become a Member
Home
Chevrolet
Avalanche
Interior
Seat
Heater
Heated seat turns on and off on its own
2004 CHEVROLET AVALANCHE
60,000 MILES • 5.3L • V8 • 2WD • AUTOMATIC
BEAR53534
MEMBER
6 POSTS
FOLLOW
The heated drivers seat turns on and off on its own. You can turn it off but it will come right back on.
Oct 23, 2018 at 2:34 PM
Advertisement
ASEMASTER6371
CERTIFIED EXPERT
52,796 POSTS
Good afternoon.
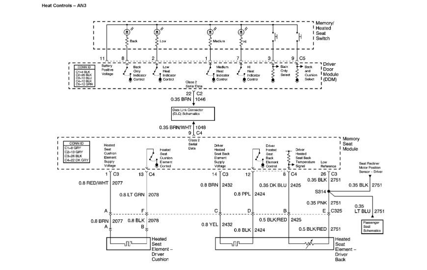
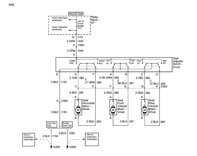
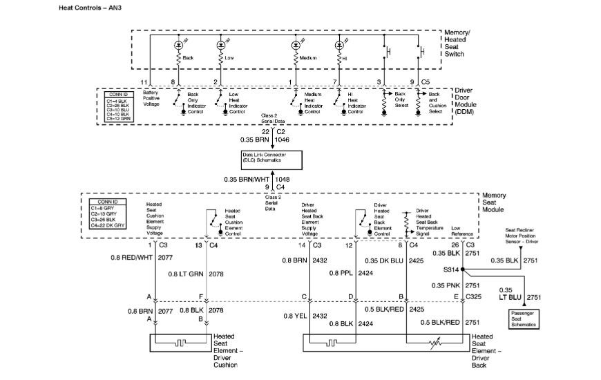
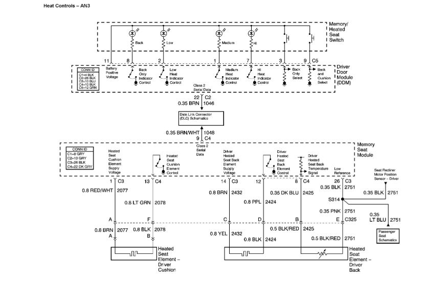
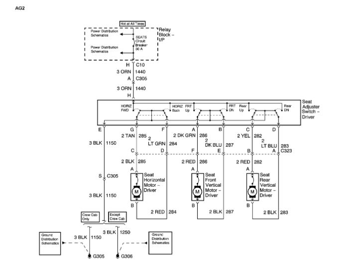
It is possible the switch is bad or the controller. I will attach a diagram of the system for you.
There is a memory module that controls it as well.
I would have someone with a scan tool monitor the system to see if it is working correctly.
Roy
Images (Click to enlarge)
Oct 23, 2018 at 3:04 PM
BEAR53534
MEMBER
6 POSTS
Thank you, I will try that.
Oct 23, 2018 at 3:59 PM
Advertisement
ASEMASTER6371
CERTIFIED EXPERT
52,796 POSTS
Sounds like a plan.
Roy
Oct 23, 2018 at 4:02 PM