seems like most of the air is coming out on the floor

1999 FORD F-150
22,000,000 MILES • 4.2L • V6 • 2WD • AUTOMATIC
Avatar
FTROOP82
  • MEMBER
  • 1 POST
All temperature range is working correctly. All blower speed’s working correctly. All the vent control working correctly. It just seems like most of the air is coming out on the floor side of the passengers side on all vent settings. It seems like the floor vent is open in every setting.
Sep 6, 2019 at 2:12 PM
Advertisement
Avatar
JACOBANDNICKOLAS
  • CERTIFIED EXPERT
  • 110,175 POSTS
Welcome to 2CarPros.

The air flow is directed via what is called a mode door actuator. I suspect it may not be working properly, is loose, or something may even be partially disconnected. Additionally, there is a vacuum operated vent / floor actuator that may not be holding vacuum or the vacuum supply is too weak for it to work properly. Check for vacuum leaks and make sure that the vacuum hoses are tight and not damaged.

I am going to provide the directions for removal and replacement so you have them. What I suggest is to locate the actuator and check to make sure nothing is loose, damaged, or disconnected. Also, keep in mind that it moves a door, so confirm the door is moving the entire way.

Here are the directions. The attached pictures correlate with the directions.

1. Remove the floor duct panel.
- Remove the pushpins and release the expander clip.

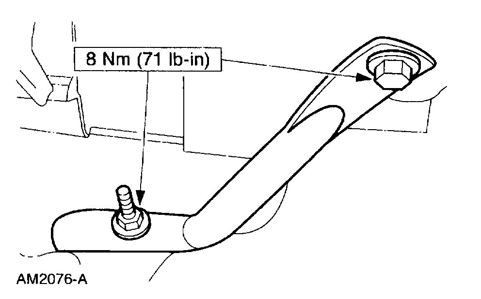
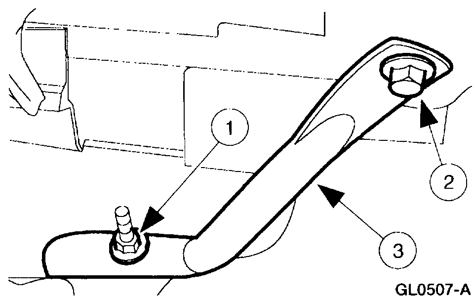
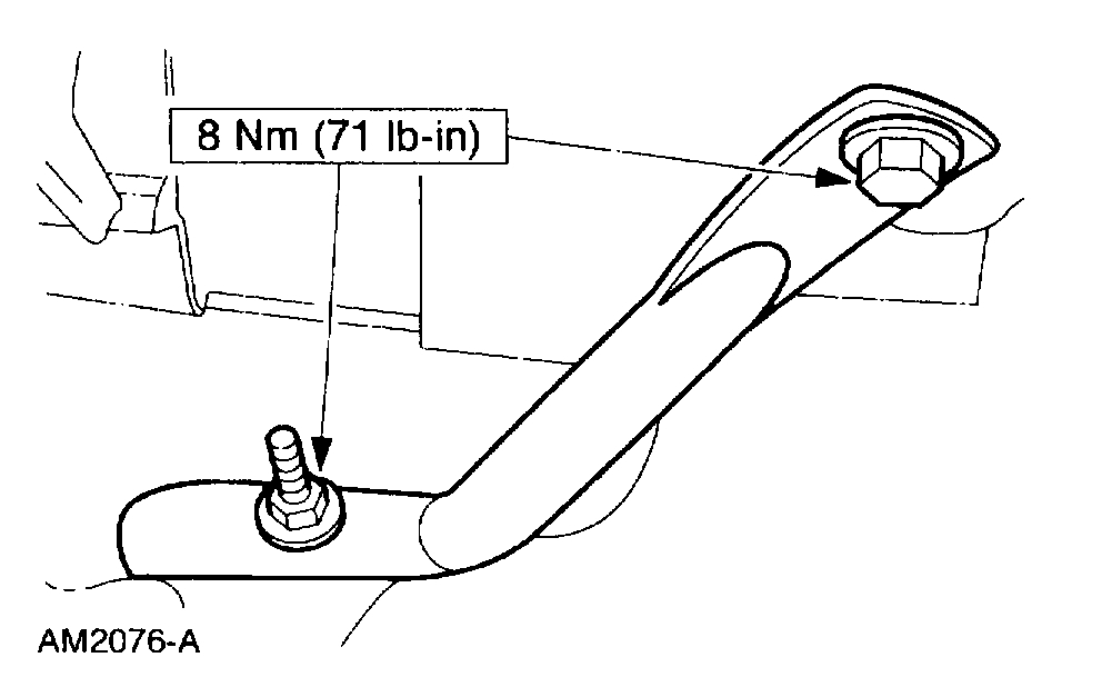
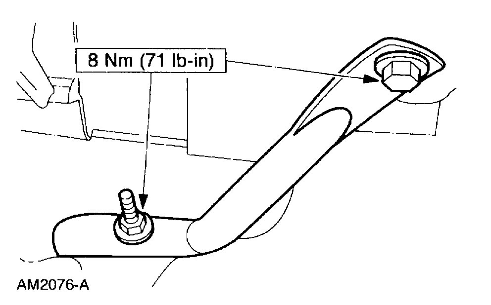
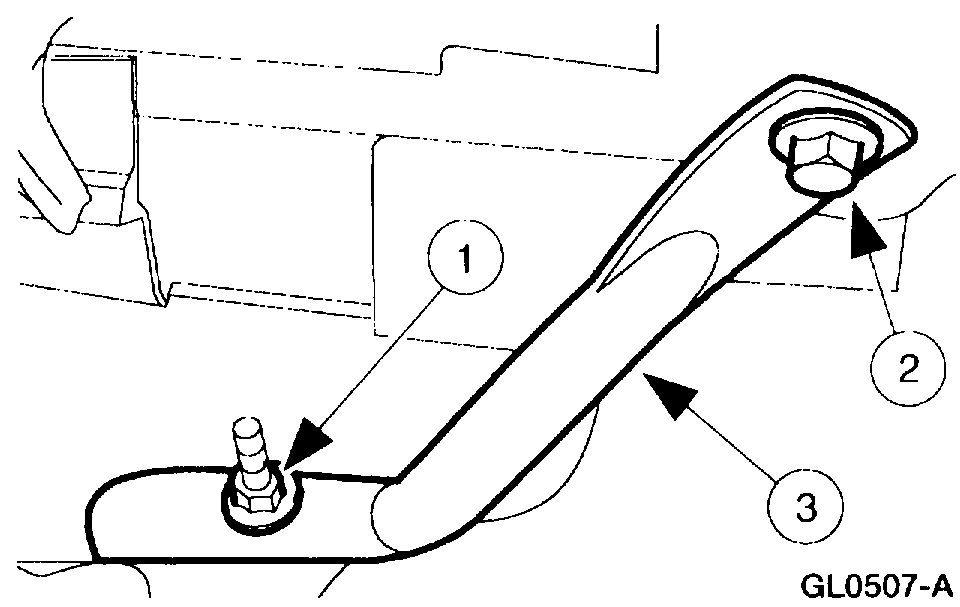
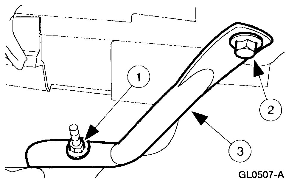
2. Remove the RH instrument panel brace.
1 Remove the nut.
2 Remove the bolt.
3 Remove the brace.

3. Remove the LH instrument panel lower nut and position the brace aside.

4. Remove the three bolts and position the module aside.

5. Remove the floor duct.
1 Remove the two screws (one each side).
2 Remove the floor duct.

6. Remove the panel/floor door vacuum control motor.
1 Disconnect the vacuum line connector.
2 Remove the screws.
3 Slide the rod out of the door and remove the panel/floor door.

NOTE: Rotate the vacuum control motor to disconnect the vacuum control motor rod from the panel/floor door.

7. Remove the electronic blend door actuator.
1 Disconnect the connector.
2 Remove the screws.
3 Pull down to release the actuator shaft and remove the electronic blend door actuator.

INSTALLATION

1. To install, reverse the removal procedure.

Check out the diagrams (Below). Please let us know what you find. We are interested to see what it is.
Sep 7, 2019 at 6:21 PM