Head gasket replacement instructions please?

2008 DODGE AVENGER
180,000 MILES • 2.4L • 4 CYL • 2WD • AUTOMATIC
Avatar
DILLI
  • MEMBER
  • 24 POSTS
I have oil in the coolant and it's yellow and same thing in the dipstick oil pan. I know that head gasket is cracked because when I open radiator cap bubble are popping and water is coming out. Is head gasket the only place where oil can mix with coolant or Is there any other place like oil cooler? I don't know if my car has oil cooler. I need a service manual or some kind of guide for the head gasket replacement or any source. where I can get the service manual? car specs are listed above 2.4L PZEV. Thank you.
Feb 19, 2021 at 3:58 PM
Advertisement
Avatar
JACOBANDNICKOLAS
  • CERTIFIED EXPERT
  • 110,175 POSTS
Hi,

It does sound like the gasket is bad. If you are seeing it in the engine oil as well as the radiator, then this is my first guess. If you want, take a look through this link. It explains how to check for a bad head gasket.

https://www.2carpros.com/articles/head-gasket-blown-test

If you determine it is bad, here are the directions for removal and replacement of the cylinder head/gasket. It is extensive. The attached pics correlate with the directions.

______________________________________

2008 Dodge Avenger L4-2.4L
Cylinder Head - Removal
Vehicle Engine, Cooling and Exhaust Engine Cylinder Head Assembly Service and Repair Removal and Replacement Cylinder Head - Removal
CYLINDER HEAD - REMOVAL
REMOVAL - CYLINDER HEAD


pic 1

1. Remove engine cover (1).

pic 2

2. Perform fuel system pressure release procedure before attempting any repairs See: Fuel Pressure Release > Procedures > Fuel System Pressure Release Procedure.
3. Disconnect fuel line (2).

pic 3


4. Remove clean air hose and air cleaner housing (2)See: Air Cleaner Housing > Removal and Replacement > Air Cleaner Housing - Removal.

pic 4


5. Disconnect negative battery cable (1).
6. Drain cooling system See: Cooling System > Procedures > Cooling System - Standard Procedures.

pic 5


7. Remove coolant recovery bottle (1).
8. Remove and reposition power steering reservoir (2).
9. Remove power steering pump and reposition.

pic 6


10. Disconnect breather hose.
11. Disconnect PCV hose (4).
12. Disconnect ignition coil electrical connectors (1).
13. Remove cylinder head cover.

pic 7


14. Raise vehicle.
15. Remove right splash shield.
16. Set engine to TDC (1).
17. Remove accessory drive belts See: Drive Belt > Removal and Replacement > Accessory Drive Belt - Removal.

pic 8


18. Remove lower A/C compressor bolts if equipped.
19. Remove lower A/C compressor mount (2) if equipped.

pic 9


20. Remove accessory drive belt lower idler pulley.
21. Remove crankshaft damper (2).
22. Remove water pump pulley (4).
23. Remove right side engine mount bracket (1) lower bolt.

pic 10


24. Remove timing chain cover lower bolts (1).
25. Disconnect oxygen sensor electrical connectors.
26. Remove exhaust pipe at manifold.
27. Lower vehicle.
28. Support engine with suitable jack.

pic 11


29. Remove right engine mount through bolt (4).
30. Remove right engine mount to mount bracket bolts (3).
31. Remove right engine mount adapter (2).

pic 12


32. Remove accessory drive upper idler pulley.
33. Remove right upper engine mount bracket (1).
34. Remove accessory drive belt tensioner.
35. Remove upper timing chain cover retaining bolts.
36. Remove timing chain cover.

pic 13

NOTE: If the timing chain plated links can no longer be seen, the timing chain links corresponding to the timing marks must be marked prior to removal if the chain is to be reused.

37. Mark chain link (1) corresponding to camshaft timing mark.

pic 14


38. Mark chain link (3) corresponding to crankshaft timing mark (2).

pic 15


39. Remove timing chain tensioner (5).
40. Remove timing chain (2).
41. Remove timing chain guides (4,6).

pic 16


42. Disconnect fuel line at the fuel rail (2).
43. Disconnect fuel injector electrical connectors (3).
44. Disconnect top engine electrical connectors and reposition harness.
45. Remove fuel rail.

pic 17


46. Remove throttle body support bracket retaining bolt (2).
47. Disconnect electronic throttle control electrical connector.
48. Disconnect map sensor electrical connector.
49. Disconnect vacuum lines at intake.
50. Remove intake manifold retaining bolts.

pic 18


51. Remove upper radiator hose retaining bolt (1).
52. Remove intake manifold.
53. Remove coolant outlet manifold and set aside.

pic 19


54. Remove ground strap (1) at right rear of cylinder head.
55. Remove camshaftsSee: Camshaft, Engine > Removal and Replacement > Camshaft - Removal.

pic 20


NOTE: All of the cylinder head bolts have captured washers EXCEPT the front two (1).

56. Remove cylinder head bolts.
57. Remove cylinder head from engine block.
58. Inspect and clean cylinder head and block sealing surfaces. Refer to Cleaning and Inspection for procedures.

NOTE: Ensure cylinder head bolt holes in the block are clean, dry (free of residual oil or coolant), and threads are not damaged.

_______________________________________

2008 Dodge Avenger L4-2.4L
Cylinder Head - Installation
Vehicle Engine, Cooling and Exhaust Engine Cylinder Head Assembly Service and Repair Removal and Replacement Cylinder Head - Installation
CYLINDER HEAD - INSTALLATION
INSTALLATION - CYLINDER HEAD


pic 21


NOTE: Ensure cylinder head bolt holes in the block are clean, dry (free of residual oil or coolant), and threads are not damaged.

NOTE: The Cylinder head bolts should be examined BEFORE reuse. If the threads are necked down, the bolts should be replaced.

Necking can be checked by holding a scale or straight edge against the threads. If all the threads do not contact the scale (2), the bolt should be replaced.


pic 22


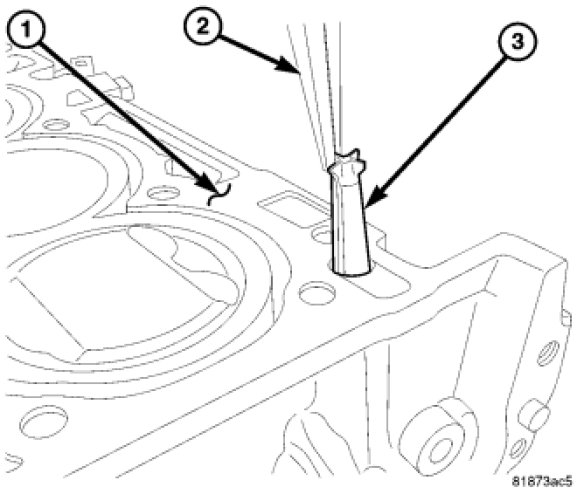
CAUTION: Always replace the variable valve timing filter screen (3) when servicing the head gasket or engine damage could result.

1. Replace the variable valve timing filter screen (3).

pic 23


NOTE: When using RTV, the sealing surfaces must be clean and free from grease and oil.

NOTE: When using RTV, parts should be assembled in 10 minutes and tighten to final torque within 45 minutes.

2. Place two pea size dots of Mopar(R) engine sealant RTV or equivalent (1) on cylinder block as shown.

pic 24


3. Position the new cylinder head gasket on engine block with the part number facing up. Ensure gasket is seated over the locating dowels in block.
4. Place two pea size dots of Mopar(R) engine sealant RTV or equivalent (1) on cylinder head gasket as shown.

NOTE: The head must be installed within 15 minutes before the RTV skins.

5. Position cylinder head onto engine block.

pic 25


CAUTION: This engine was built with 2 different style cylinder head bolts. Each style bolt requires a different torque value. The bolts can be identified by the short bolt head (1) and the long bolt head (2).

6. Measure the bolt head from the washer to the top of the bolt head. The short bolt head (1) measures 8 mm (5/16") and the long bolt head (2) measures 13 mm (1/2").
7. Identify whether your engine has the short head design (1) or the long head design (2).

pic 26


NOTE: The front two cylinder head bolts do not have captured washers. The washers must be installed with the bevel up towards the bolt head.


pic 27


8. Install washers (1) for the front two cylinder head bolts.

pic 28


9. Before installing the bolts, the threads should be lightly coated with engine oil.
10. Install the cylinder head bolts and tighten in the sequence shown.

pic 29


11. If your bolt has the short head (1), use the following torque specifications:
- First: All to 30 Nm (25 ft. lbs.)
- Second: All to 61 Nm (45 ft. lbs.)
- Third: All to 61 Nm (45 ft. lbs.)
- Fourth: All an additional 90°

CAUTION: Do not use a torque wrench for the Fourth step.

12. If your bolt has the long head (2), use the following torque specifications:
- First: All to 30 Nm (25 ft. lbs.)
- Second: All to 73 Nm (54 ft. lbs.)
- Third: All to 73 Nm (54 ft. lbs.)
- Fourth: All an additional 90°

CAUTION: Do not use a torque wrench for the Fourth step.

13. Clean excess RTV from timing chain cover sealing surface.
14. Install camshafts.See: Camshaft, Engine > Removal and Replacement > Camshaft - Installation.

pic 30


15. Install cylinder head cover See: Valve Cover > Removal and Replacement > Cylinder Head Cover - Installation.
16. Install exhaust manifold See: Exhaust Manifold > Removal and Replacement > Installation.
17. Install ground strap (1) at right rear of cylinder head.

pic 31


18. Install coolant adapter (3) with new seals.
19. Connect coolant hoses.
20. Connect purge hose (4).

pic 32


21. Install intake manifold.
22. Install intake manifold bolts and tighten to 24 Nm (18 ft. lbs.).

pic 33


23. Install upper radiator hose retaining bracket bolt (1).

pic 34


24. Install timing chain (2)See: Timing Chain > Removal and Replacement > Timing Chain & Sprockets - Installation.
25. Install timing chain cover See: Timing Cover > Removal and Replacement > Timing Cover - Installation.

pic 35


26. Remove coils from cylinder head cover.
27. Install cylinder head cover See: Valve Cover > Removal and Replacement > Cylinder Head Cover - Installation.

pic 36


28. Connect cam sensor wiring connector.
29. Install spark plugs and tighten to 27 Nm (20 ft. lbs.).
30. Install ignition coils (1) and tighten to 8 Nm (70 in. lbs.).

pic 37


31. Install power steering pump reservoir (2).
32. Install coolant recovery reservoir (1)
33. Install accessory drive belts See: Drive Belt > Removal and Replacement > Accessory Drive Belt - Installation.
34. Connect engine coolant temperature sensor connector.

pic 37


35. Connect coolant hoses to coolant adapter (3).
36. Connect heater hoses to thermostat housing (3).
37. Connect coolant temperature sensor (1) and capacitor (2) electrical connectors.
38. Install heater tube support bracket to cylinder head.

pic 38


39. Install fastener attaching dipstick tube to lower intake manifold.
40. Connect coil (1) and injector (4) electrical connectors.
41. Install fuel rail.
42. Connect fuel supply line quick-connect (3) at the fuel rail assembly See: Fuel Line Coupler > Procedures > Standard Procedure - Quick-Connect Fittings.
43. Fill cooling system See: Cooling System > Procedures > Cooling System - Standard Procedures.

pic 39


44. Connect negative battery cable (1).

pic 40


45. Install clean air hose (1) and air cleaner housing (2)See: Air Cleaner Housing > Removal and Replacement > Air Cleaner Housing - Installation.

pic 41


46. Install new oil filter and fill engine with oil.
47. Start engine and check for leaks.
48. Install engine cover (1).

____________________________

I hope this helps. Let me know if you have other questions.

Take care and God Bless,

Joe
Feb 19, 2021 at 6:16 PM
Avatar
SHARRON01
  • MEMBER
  • 1 POST
Hello I have a 2008 Dodge Avenger. It started leaking water so I had the car diagnosed, I had to get the water housing complete done. I taken it to Dodge dealership and they claim they replaced everything. My car started leaking and running hot I taken it back they said bad part on the thermostat. Once I picked it up a mouth pass same thing again car running hot I taken it back they said again thermostat. Now they tell me the head gaskets is leaking and it cost 1200 . I said and who is paying that because I'm not. U guys didn't fix it it's not my problem.. So I called customer care and they are willing to pay 850 and I pay 350. I want to know is that fare and what do this consist of because 1200 I feel they should be doing the heads also..
.
Mar 10, 2021 at 1:53 PM (Merged)
Advertisement
Avatar
CARADIODOC
  • CERTIFIED EXPERT
  • 34,306 POSTS
No, it's definitely not fair that you expect someone else to pay for your car repair. It's possible an intermittently leaking cylinder head gasket was the cause of the trouble all along, and that's not the mechanic's fault. The fact that he may have tried to find a less-expensive cause to save you money, and he overlooked the head gasket is unfortunate, but still, he didn't cause the problem. Also, cylinder head gaskets don't always leak under all conditions. If it wasn't leaking when / if he tested for it, of course he would not tell you it needed one at that time. Most people get angry when they think they're being sold parts or services that weren't needed. You're angry the mechanic didn't sell you the most expensive repair right away. Weird, huh? Sometimes they have to eliminate the simple stuff to narrow down the cause. When that requires multiple trips back to the shop, we assume they're incompetent. Try to save you money, or sell you the most expensive service, . . . either way you're angry.

It's funny that we hold mechanics to much higher standards than doctors. Let a doctor misdiagnose an illness, and we either keep going back or we run to another doctor, but we never say, "who is paying the bill, because I'm not". Let a mechanic lay a finger on a machine we know very little about, and we blame him for everything that goes wrong with it in the future.

If you want to really figure out what is going on with your car, you need to include a real lot more detail and information. What are you referring to by "water housing"? Do you mean the thermostat housing? The water pump housing? The heater core in the housing in the dash? A leaking thermostat housing is very uncommon and would be real easy to see and diagnose. That can be a totally separate issue from a leaking cylinder head gasket.

"Replaced everything" is not correct. Your car is made up of thousands of parts, and it's highly unlikely they replaced all of them. Knowing exactly what was replaced can help determine what happened, and possibly why.

The real reason I know the mechanic didn't cause a problem is you said, "Once I picked it up a mouth pass same thing again car running hot". I assume you meant to say "month". If the car was originally misdiagnosed and not repaired properly, why did it not overheat for a month? Regardless what is done now to repair it, are you going to blame the mechanic for everything that goes wrong with it for years to come? Until I have more information to go on, this sounds like the too-common scenario mechanics hate as much as you do. Of course you want your car fixed right the first time. Believe it or not, so does your mechanic. We want our illnesses diagnosed and cured the first time too, but we know that doesn't always happen. Ask the mechanic how he determined the head gasket is leaking. If it was "an educated guess", it's time to find a different shop. If he performed a chemical test and it came up positive, take your lumps and pay for the needed repair. It's one of the costs of owning a car, and it wasn't caused by a failure to diagnose it earlier.

One thing you might consider, since you listed such a low mileage, is to ask for a meeting with the district representative. That is probably one step above calling an 800 number. The district rep. visits each dealership once per month to handle things the dealer can't. When a car is under warranty, the dealer does the repairs without getting any prior approval, then assumes they're going to be paid by the manufacturer. If, for some reason, the claim is rejected, the dealer doesn't hunt you down and make you pay the bill. That rarely happens anyway because they follow very strict guidelines. There are things they simply can't do, then expect Chrysler to pay the bill. That is not the case with the district rep. He has much greater leeway in what he can authorize. If he says Chrysler will take care of the repairs, you can be sure the dealer is going to be happy to hear that. They want your car fixed too, and they don't enjoy handing out big repair bills. Typically even more parts will be replaced to insure the quality of the repair. The mechanic will often reuse questionable parts when you're paying the bill in a misguided attempt at saving you some money. When one of those parts fails, he's the bad guy again.

Be aware though, the dealer has input in the decision-making process and they'll sit in on the meeting with the district rep.. At the very nice family-owned dealership I worked for, courtesy and politeness went a real lot further than anger. If you bought the car new from that dealer, you can expect more than if you bought it used somewhere else. I even had my district rep. ready to warranty the battery in my '93 Dynasty. I didn't take him up on it because it went bad from the car sitting in storage for years. There was no defect, and nothing was done wrong by anyone other than me, so I told him it wasn't fair to expect Chrysler to cover my mistake.

I'm not sure what you mean by "they should be doing the heads also". It sounds like it will cost $1200.00 to do the head gaskets, and Chrysler is willing to pay a percentage of that bill. That is done to restore some customer satisfaction and to help out their car owner, not because anyone did anything wrong. I would not only be grateful; I'd be overjoyed if a manufacturer was willing to help pay one of my repair bills. You should be too, at least until there is more information to go on.
Mar 10, 2021 at 1:53 PM (Merged)
Avatar
LOLA222
  • MEMBER
  • 1 POST
every time we put it in drive it shuts off now its over heating took it to a mechanic and he said it was a blown head gasket what is this
Mar 10, 2021 at 1:53 PM (Merged)
Avatar
BLUELIGHTNIN6
  • CERTIFIED EXPERT
  • 16,542 POSTS
The head gasket is the gasket used to seal the area between the cylinder heads and the engine block. A "blown" head gasket refers to a head gasket which has a crack or other fault in it causing the seal between the heads and the block to leak. If it fails, coolant can leak into the combustion chamber of engine and cause overheating. May also experience oil leak as well. This guide can help

https://www.2carpros.com/articles/head-gasket-blown-test


Thanks for using 2CarPros.com!
Mar 10, 2021 at 1:53 PM (Merged)
Avatar
ANIMESICK
  • MEMBER
  • 1 POST
how do I check the head gaskets on my 95 4cyl avenger? Its not thick but there is white smoke coming out of the exhaust, and a light water spray.
Mar 10, 2021 at 1:54 PM (Merged)
Avatar
CARADIODOC
  • CERTIFIED EXPERT
  • 34,306 POSTS
Has the coolant level gone down? There's two tests to check for a leaking head gasket. One involves drawing air from the radiator through a glass cylinder with two chambers partially filled with a special dark blue liquid. If combustion gases are leaking into the cooling system, that liquid will turn bright yellow.

The second test is to add a small bottle of dye to the coolant. After driving for a while, you search with a black light including at the tail pipe. The dye will show up as a bright yellow stain that you follow back to the source.
Mar 10, 2021 at 1:54 PM (Merged)