Good afternoon,
Yes, replace all the head bolts with new only.
No, there is not lube. That will effect the torques. They get installed and torqued dry.
Roy
TORQUE SPECIFICATIONS
CAUTION: Cylinder head bolts must be replaced with new bolts. They are tighten-to-yield designed and cannot be reused.
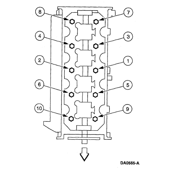
imageOpen In New TabZoom/Print
Tighten the LH cylinder head bolts in three stages in sequence shown:
Stage 1: 37-43 Nm (27-32 ft lbs.).
Stage 2: Rotate 85-95 degrees.
Stage 3: Rotate 85-95 degrees.
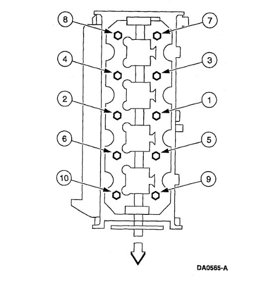
imageOpen In New TabZoom/Print
Tighten the RH cylinder head bolts three stages in sequence shown:
Stage 1: 37-43 Nm (27-32 ft lbs.).
Stage 2: Rotate 85-95 degrees.
Stage 3: Rotate 85-95 degrees.
Images (Click to enlarge)
Nov 17, 2019 at 10:46 AM