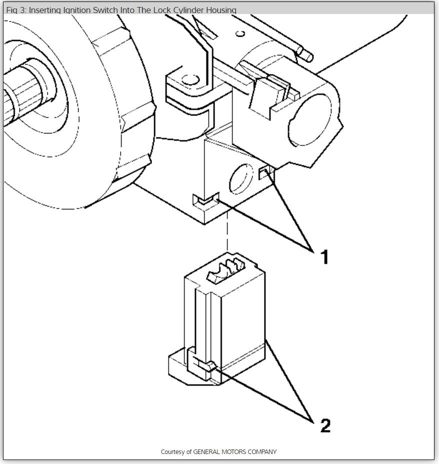
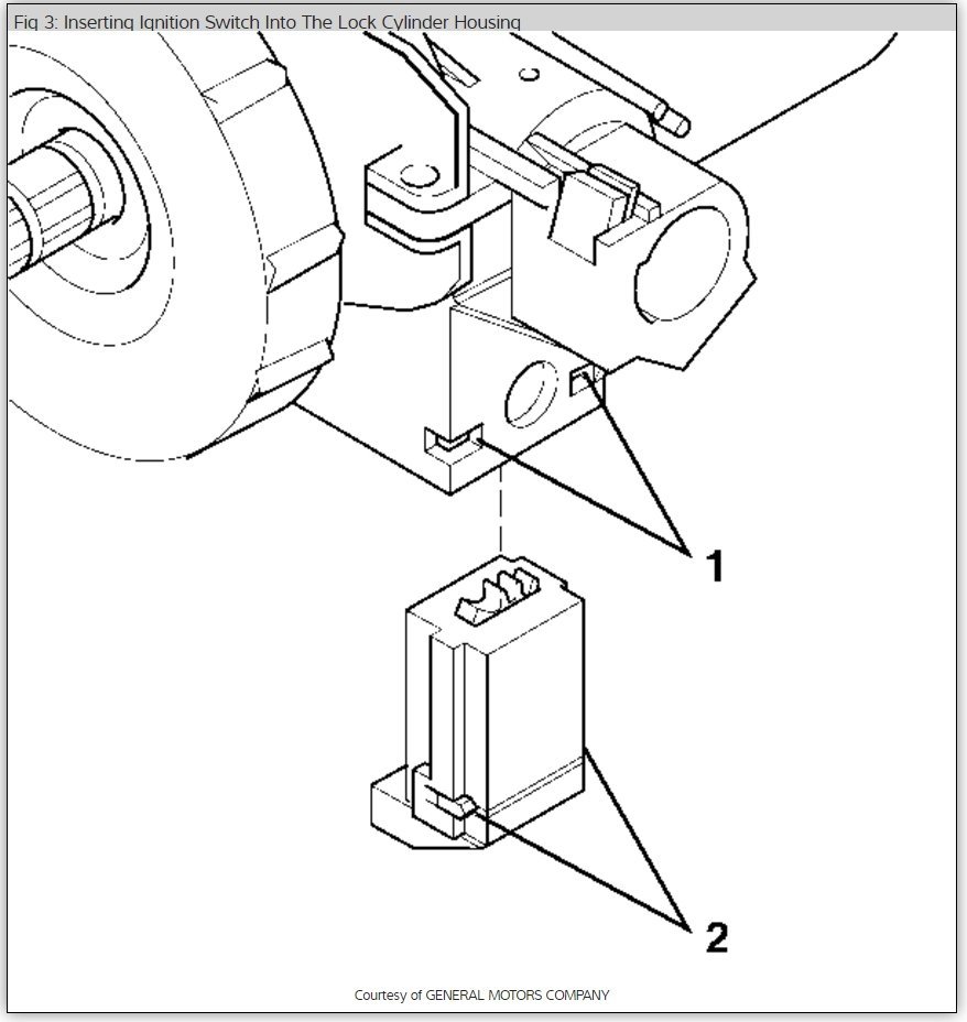
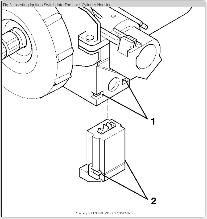
My ignition key will not turn to ON or ACC - steering wheel is not locked, red security system idiot is flashing (even though I used remote immediately prior to trying to start). Catch-22: instructions to change cylinder (if things get that far) indicate I have to turn key to change cylinder.
Nov 30, 2009 at 6:17 PM










