Gear shifting issues

2007 HONDA FIT
240,000 MILES • 4 CYL • 2WD • MANUAL
Avatar
TAYLOR.IVERS
  • MEMBER
  • 3 POSTS
I was driving the car with no prior issues, stopped at a stop sign and when I went to go back into first gear it felt jammed. I forced it into gear and preceded to force it into the following gears, each easier than the next until I made it home and parked it. The feeling I would describe it as is as if a bunch of gravel had gotten into where the gears shift in and out and was jamming the pathways, though I know that isn't possible.
May 26, 2019 at 8:30 AM
Advertisement
Avatar
JACOBANDNICKOLAS
  • CERTIFIED EXPERT
  • 110,175 POSTS
Welcome to 2CarPros.

This is most likely either a linkage issue or it could also be related to a clutch hydraulic issue. Tell me; with the engine off, does it shift smoothly? If it does, then it is a hydraulic issue. There are a total of 4 things that can cause this, but most commonly, the hydraulic fluid is low. So, first open the hood and locate the clutch master cylinder. It will be on the driver's side of the firewall. I don't have a pic of it specifically, but I do show the clutch master cylinder (MC). I circled the MC in yellow and the fluid supply line in red. Follow the one in red back to the reservoir.

Is the fluid low? If so, next, inspect the MC under the hood and check for leaks. If none are found, go back in the car and look up under the dash where the clutch pedal connects to the push rod going to the MC. See picture 2. Is there evidence of a leak there?

If no leaks at the MC, you will need to follow the supply line from the MC to what is called a slave cylinder. It is located on the transmission and is what engages the clutch when you press the clutch pedal. Look at picture 3. Check there for evidence of leaks.

__________________________

If there are no issues with the hydraulics and shifting the transmission is still difficult when the engine is off, then we need to check the shift linkage. Pictures 3 and 4 show the shift cables. Pic 3 shows inside the vehicle. You will notice I circled the ends of the cables and have an arrow pointing to where the go.

Now, from there, the cables go through the firewall and to the transmission. Picture 4 shows the cable ends. You need to confirm that the cables are in good condition and not loose of frayed.


_________________________

Check these things based on the symptoms and let me know the results. I will be able to help you get it fixed once we diagnose the problem. Also, please feel free to ask any questions you may have.

Take care,
Joe
May 26, 2019 at 8:13 PM
Avatar
TAYLOR.IVERS
  • MEMBER
  • 3 POSTS
There is no trouble shifting while the car is off. The hydraulic fluid is full and there are no signs of leaks.
May 29, 2019 at 5:23 PM
Advertisement
Avatar
JACOBANDNICKOLAS
  • CERTIFIED EXPERT
  • 110,175 POSTS
Welcome back:

Most likely, the clutch master cylinder has failed. Usually, a clutch slave cylinder will leak. Try pumping the clutch several times to see if that makes a difference. If it does, replace the clutch master cylinder. Here are the directions for replacing the component. By the way, since it shifts normally with the engine off, the linkage is most likely fine. The attached pictures correlate with the directions.

_____________________________

Clutch Master Cylinder Replacement

NOTE:
^ Use fender covers to avoid damaging painted surfaces.
^ Do not spill brake fluid on the vehicle; it may damage the paint. If brake fluid does contact the paint, wash it off immediately with water.

1. Remove the brake fluid from the clutch master cylinder reservoir with a syringe.
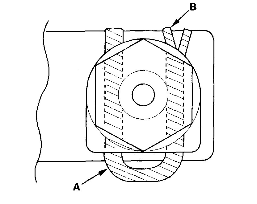
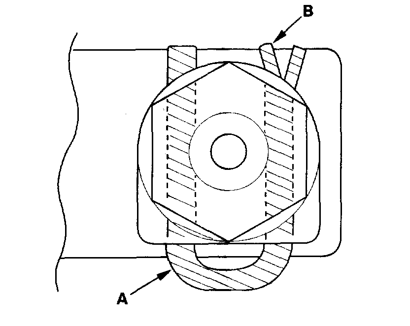
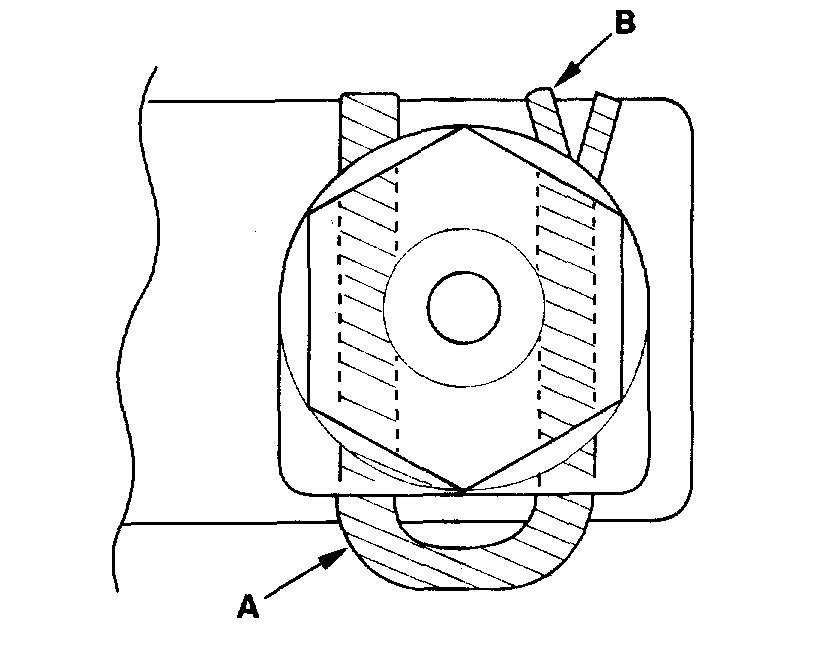
2. Remove the retaining clip (A). Disconnect the clutch line (B). Plug or wrap the end of the clutch line with a shop towel to prevent brake fluid from coming out.


pic 1

3. Disconnect the reservoir hose (C) from the clutch master cylinder. Plug or wrap the end of the reservoir hose with a shop towel to prevent brake fluid from coming out.
4. Pry out the lock pin (A), and pull the pedal pin (B) out of the yoke. Remove the master cylinder mounting nuts (C).


pic 2


5. Remove the clutch master cylinder (A).


pic 3


6. Remove the O-ring (B) and the clutch master cylinder seal (C) from the clutch master cylinder.
7. Install the clutch master cylinder seal (A), clutch master cylinder (B), and a new O-ring (C).


pic 4


8. Install the pedal pin (A) and the lock pin (B), then tighten the master cylinder mounting nuts (C).


pic 5


9. Connect the reservoir hose (A) and the clutch line (B). Make sure the tabs (C) on the reservoir hose clamp is pointed in the directions shown.


pic 6


10. Install the retaining clip (A), and pry to open the tip of the retaining clip (B) with a screwdriver to prevent it from coming off.


pic 7


11. Bleed the clutch master hydraulic system.
12. Make sure the fluid level in the reservoir is at the Max (upper) level line.
13. Check the clutch operation and check for leaking fluid.
14. Adjust the clutch pedal, clutch pedal position switch, and clutch interlock switch.
15. Test-drive the vehicle.

_______________________________________

Let me know if you have questions or need help.

Take care,
Joe
May 29, 2019 at 8:21 PM