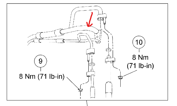
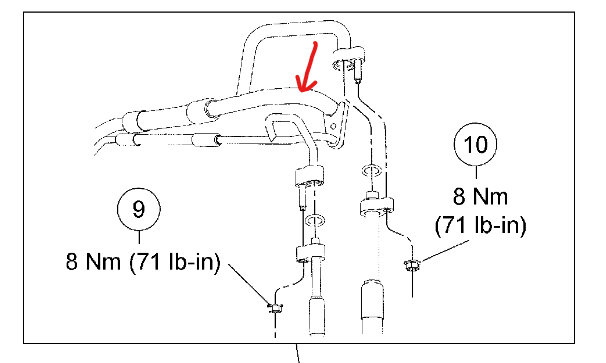
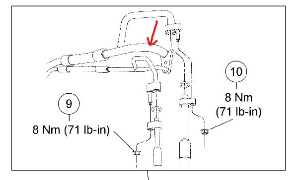
I can't find a fuse diagram for my car listed above. The A/C has stopped blowing cold air completely. I refilled the freon about 2 months ago and it worked great and only driven a couple times. Yesterday there was no cool air, just hot. I topped off the Freon not much gone and still nothing. I'm hoping it's just a fuse but probably not. Any ideas for checking what problem could be? Thanks. oh, yes, the fuse box diagrams for all fuses inside and out would be great.
Sep 2, 2024 at 1:43 PM




