Can I get the fuse box diagram, please?

1990 TOYOTA CAMRY
200,000 MILES • 2.0L • 4 CYL • AUTOMATIC
Avatar
ARNOLD TZUL
  • MEMBER
  • 2 POSTS
I need I fuse box diagram, please?
Jul 30, 2022 at 10:27 PM
Advertisement
Avatar
STRAILER
  • CERTIFIED EXPERT
  • 53,854 POSTS
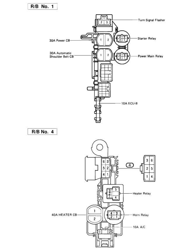
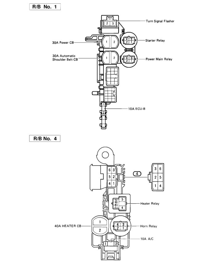
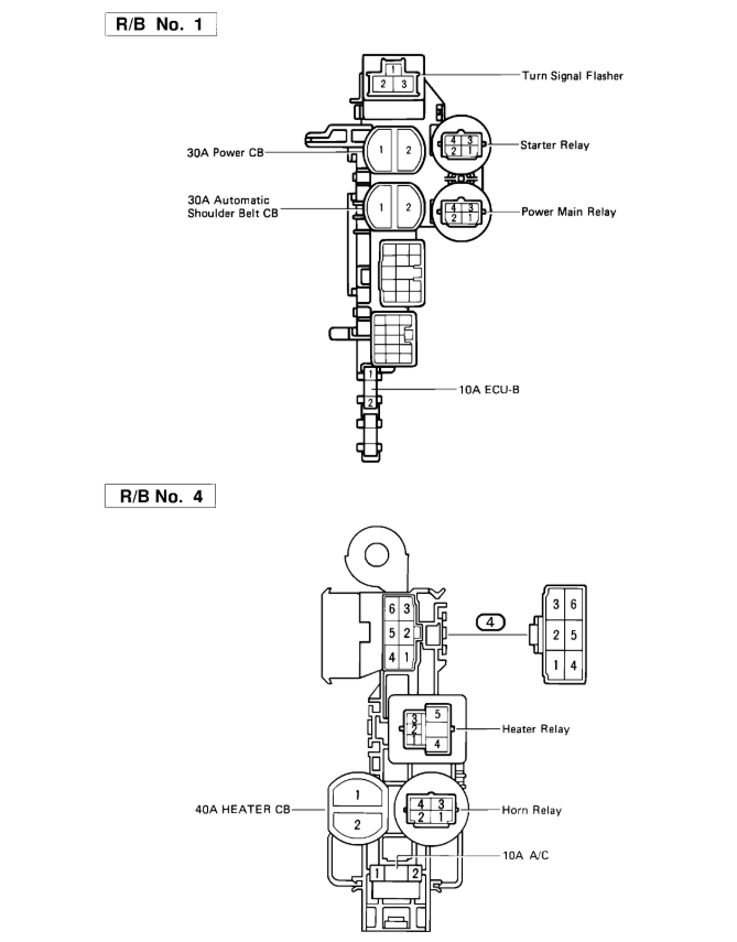
Sure, here are the fuse panel locations and diagrams for your car with a guide to help you test the fuses:

https://www.2carpros.com/articles/how-to-check-a-car-fuse

Check out the diagrams (below). Please let us know if you need anything else to get the problem fixed.
Jul 31, 2022 at 1:12 PM