Welcome to 2CarPros.
It is in front of the fuel tank behind a protection shield. See picture 1.
Here are the directions for fuel line/fuel filter replacement. The additional attached pictures correlate with the directions.
_______________________________________--
PROCEDURES
FUEL LINES AND FUEL FILTER
Disconnect Tool, Push Connect
pic 1
SPECIAL TOOL(S)
REMOVAL
1. With the vehicle in NEUTRAL, position it on a hoist.
2. Release the fuel system pressure.
3. WARNING:
- Do not smoke or carry lighted tobacco or open flame of any type when working on or near any fuel-related component. Highly flammable mixtures are always present and can be ignited, resulting in possible personal injury.
- Fuel in the fuel system remains under high pressure even when the engine is not running. Before servicing or disconnecting any of the fuel lines or fuel system components, the fuel system pressure must be relieved to prevent accidental spraying of fuel, which can cause personal injury or a fire hazard.
Disconnect the battery ground cable.
4. NOTE: This step is necessary for fuel tube removal and installation only.
Remove the transmission.
pic 2 and 3
5. Remove the parts in the order indicated in the illustration and table. To remove individual parts, only carry out the listed steps.
Items 1 and 2: Fuel Filter Shield and Nuts Removal Note
pic 4
1. Remove the nuts and the heat shield.
Items 3 and 7: Push Connect Fitting Removal Note
pic 5
1. WARNING:
- Do not smoke or carry lighted tobacco or open flame of any type when working on or near any fuel-related components. Highly flammable mixtures are always present and may be ignited, resulting in possible personal injury.
- Fuel in the fuel system remains under high pressure even when the engine is not running. Before servicing or disconnecting any of the fuel lines or fuel system components, the fuel system pressure must be relieved to prevent accidental spraying of fuel, which can cause personal injury or a fire hazard.
If equipped, disconnect the safety clip from the fuel tube.
pic 6
2. Install the special tool and press it into the fitting.
pic 7
3. Separate the fittings.
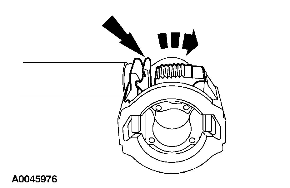
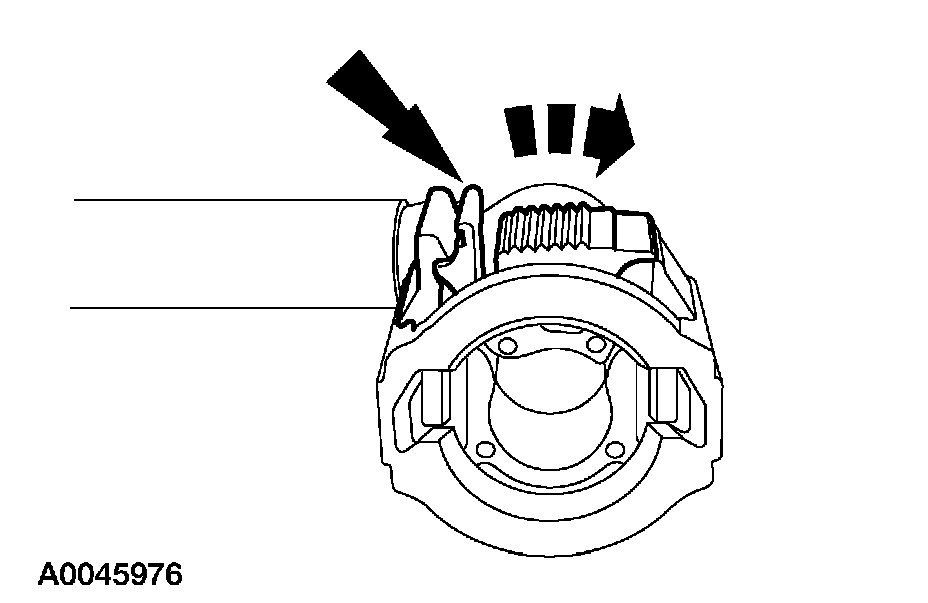
Item 4: Quick-Connect Fitting Removal Note
pic 8
1. WARNING:
- Do not smoke or carry lighted tobacco or open flame of any type when working on or near any fuel-related component. Highly flammable mixtures are always present an may be ignited, resulting in possible personal injury.
- Fuel in the fuel system remains under high pressure even when the engine is not running. Before servicing or disconnecting any of the fuel lines or fuel system components, the fuel system pressure must be relieved to prevent accidental spraying of fuel, which can cause personal injury or a fire hazard.
Unclip the tab.
pic 9
2. Depress the tabs and press the clip downward.
pic 10
3. Separate the fittings.
Items 6 and 8: Quick-Connect Fitting Removal Note
pic 11
1. CAUTION:
- Fuel injection equipment is manufactured to very precise tolerances and fine clearances. It is therefore essential that absolute cleanliness is observed when working with these components. Always install blanking plugs to any open orifices or tubes.
- When reusing liquid or vapor tube connectors, make sure to use compressed air to remove any foreign material from the connector retaining clip area before separating from the tube.
NOTE: If the fuel tube retainer clip is broken or damaged, install a new clip using a suitable fuel line disconnect tool to separate the retaining clip legs. Once the retainer legs have been separated, lift the clip out of the connector housing, lifting from the stamped side of the connector body.
Disconnect the quick-connect fitting.
- Push the connect toward the tube to release the pressure.
- Press the locking button and pull the fuel tube to disconnect.
INSTALLATION
1. To install, reverse the removal procedure.
Items 8 and 6: Quick-Connect Fitting Installation Note
pic 13
1. CAUTION:
- Fuel injection equipment is manufactured to very precise tolerances and fine clearances. It is therefore essential that absolute cleanliness is observed when working with these components. Always install blanking plugs to any open orifices or tubes.
- Make sure the quick-connect fitting clicks into place when installing the tube. To make sure that the quick-connect fitting is fully seated, pull on the tube.
NOTE:
- If the fuel tube retainer clip is broken or damaged, install a new clip using a suitable fuel line disconnect tool to separate the retaining clip legs. Once the retainer legs have been separated, lift the clip out of the connect housing, lifting from the stamped side of the connector body.
- Apply clean engine oil to the end of the tube before connecting the fitting.
Connect the quick-connect fitting.
Items 7 and 3: Push Connect Fitting Installation Note
pic 14
1. NOTE: Lubricate the fuel fitting with clean engine oil.
Align the fuel line fitting and press together until a click is heard.
- Pull on the fitting to make sure it is fully engaged. If equipped, install the safety clip.
___________________________
Let me know if this helps.
Take care,
Joe
Images (Click to enlarge)
Oct 7, 2020 at 1:11 PM
(Merged)