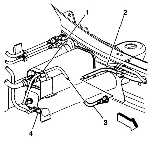
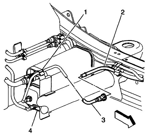
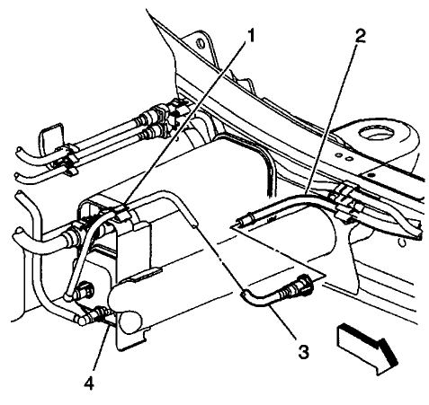
I need a diagram of how the fuel lines and evap lines are actually ran on the vehicle listed above slt 1500 non Denali that I am working on.
Someone prior to me worked on this vehicle and did a hobb cobb job to it. The fuel lines are broke and disconnected and he has other hoses and what not hooked up his own way. He even used a air hose to run a return line but it goes to the vent tube on the tank by the fill tube and ia mow leaking gas very badly.
If you can help me with this ladies vehicle I would highly appreciate it.
Thank you in advance.
Bruce
Someone prior to me worked on this vehicle and did a hobb cobb job to it. The fuel lines are broke and disconnected and he has other hoses and what not hooked up his own way. He even used a air hose to run a return line but it goes to the vent tube on the tank by the fill tube and ia mow leaking gas very badly.
If you can help me with this ladies vehicle I would highly appreciate it.
Thank you in advance.
Bruce
Jun 20, 2021 at 3:24 PM



