Front suspension squatting all the way down after rebuild

2000 CHEVROLET SILVERADO
222,000 MILES • 6.0L • V8 • 4WD • AUTOMATIC
Avatar
CHEVYLUGNUT93
  • MEMBER
  • 1 POST
I have spent the last few days rebuilding the front end on my truck listed above 2500. i put it all back together and torqued everything to spec. also there is a leveling kit installed with new torsion keys and shock extenders. When i let the jack down the front end squats all the way to the floor. The torsion bars were all the way out. so a friend of mine said i may have have to reload the torsion bars, but i am having a hard time understanding how to do so. Any help or guidance will be much appreciated.
Mar 13, 2019 at 9:54 PM
Advertisement
Avatar
DANNY L
  • CERTIFIED EXPERT
  • 5,648 POSTS
Hello, I'm Danny.

It sounds like you don't have the torsion keys indexed properly. Also, were you sure to mark the torsion bars? They are specific to be left or right side, and front to back (directional) I'd be happy to help. Thanks for using 2CarPros.
Danny-
Mar 13, 2019 at 10:13 PM
Avatar
CARADIODOC
  • CERTIFIED EXPERT
  • 34,306 POSTS
He's referring to rotating the bar 1/6th of a turn, then inserting the hex end into the hex socket in the lever. That only applies if the torsion bars were removed for some other service. There is no reason to remove them except in the very rare instance one broke.

What do you mean by "the torsion bars were all the way out"? I'm visualizing you mean the adjusting bolts are run all the way out. If that is right, it would stand to reason the ride height is too low. The adjusting bolts must be turned clock-wise to raise the front end up, so the part of the bolt you see will become shorter, meaning you'll see less of them as you turn them up.

Turning the adjusters up raises a real lot of weight. To make the task easier, lift the front end with a floor jack, then turn the adjuster bolts up. Remove the jack, then bounce the truck a few times before taking the measurements. Be aware the two adjustments interact. When you raise the left corner an inch, the right corner will go up about 3/4 inch.

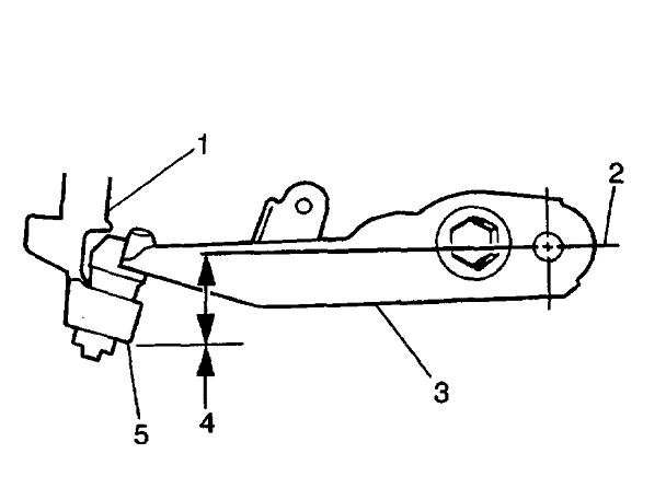
This drawing shows how to measure front ride height. Chrysler has a special tool for this, but you can do it just as quickly with a tape measure. They do it this way to eliminate the variable when using non-standard-size tires. The issue isn't how high the bumper is off the ground. The critical issue is the geometry of the upper and lower control arms, and the spindle. Those play just as important a role in handling, braking, steering response, and tire wear as does correct alignment. Measure from point "2" to the ground, then point "5" to the ground. The difference must be between 4.4 and 4.8 inches.
Mar 13, 2019 at 10:35 PM
Advertisement