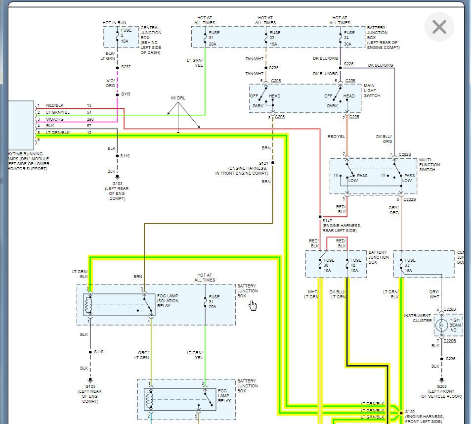
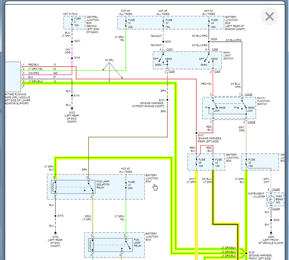
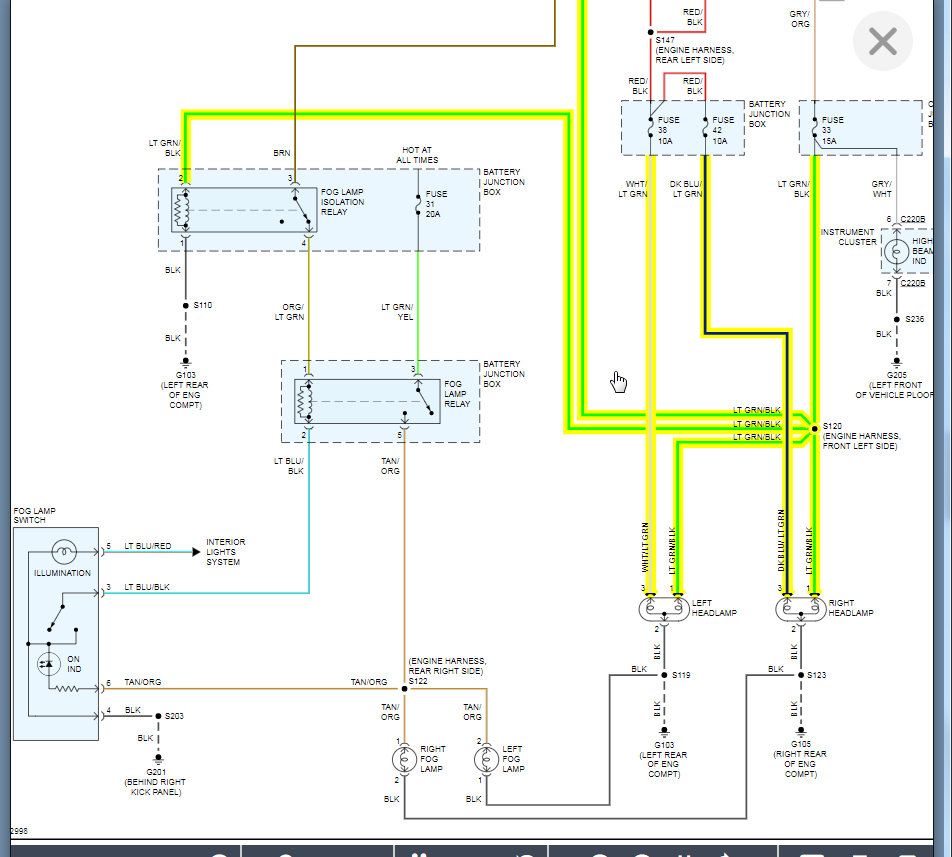
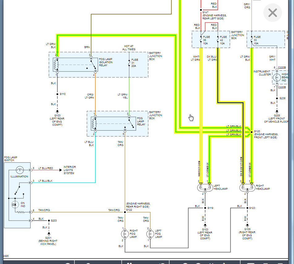
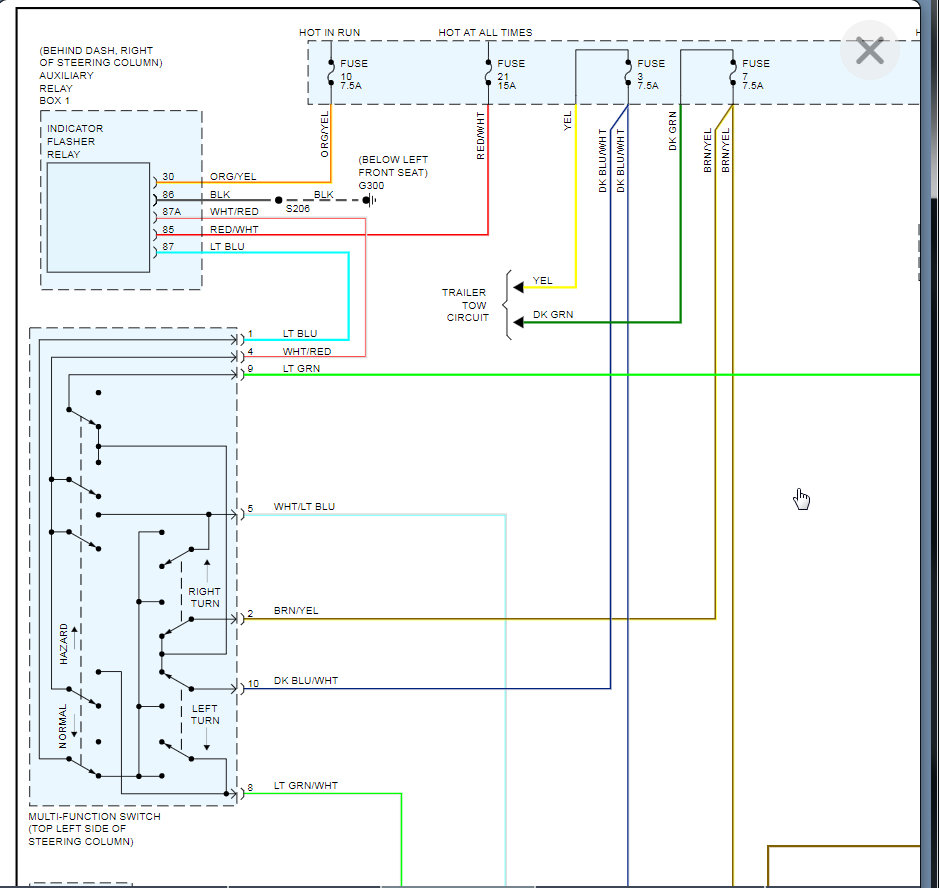
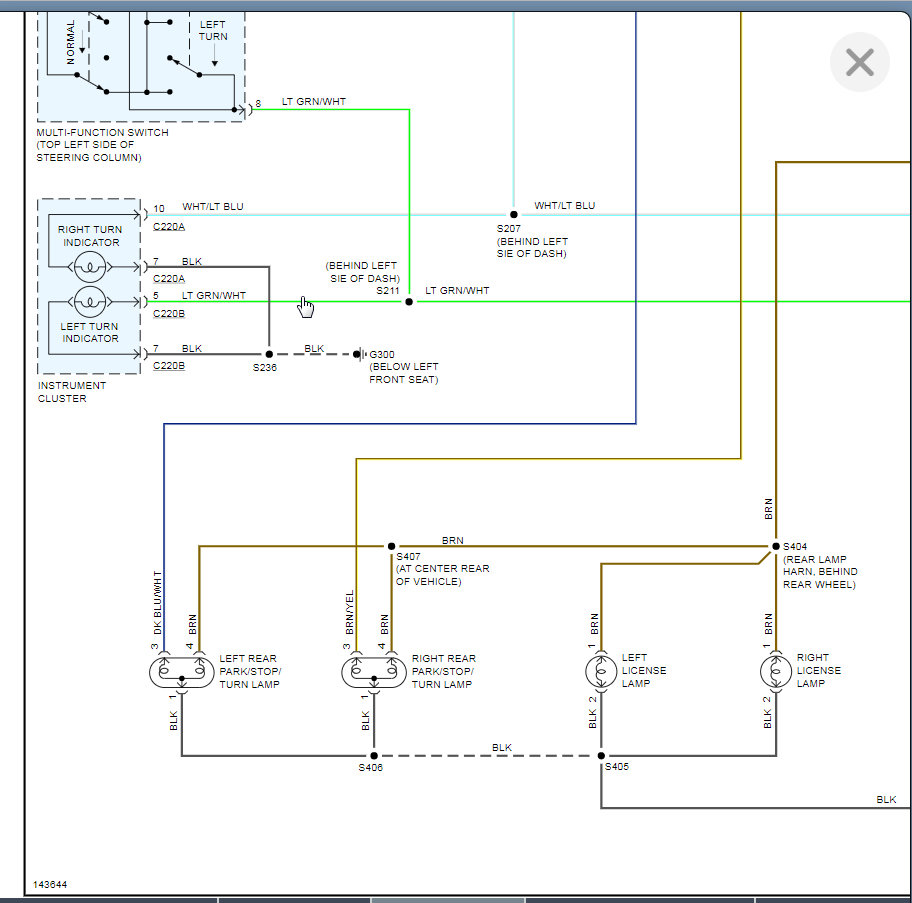
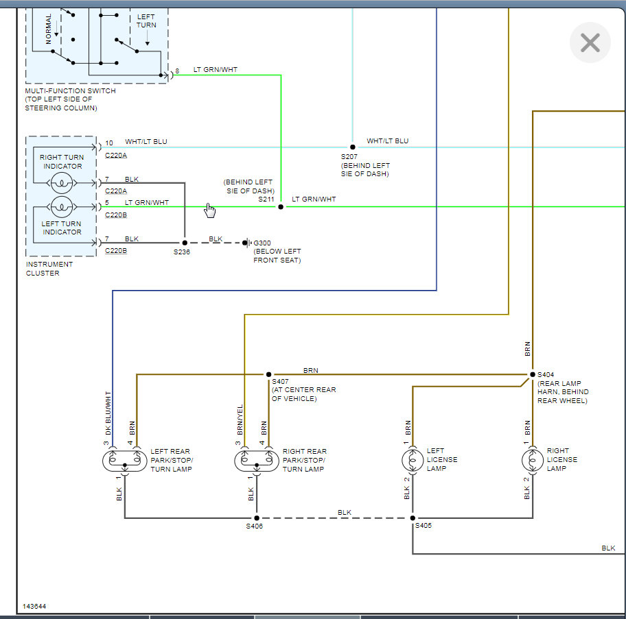
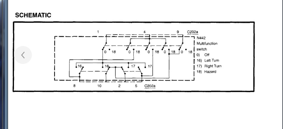
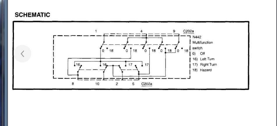
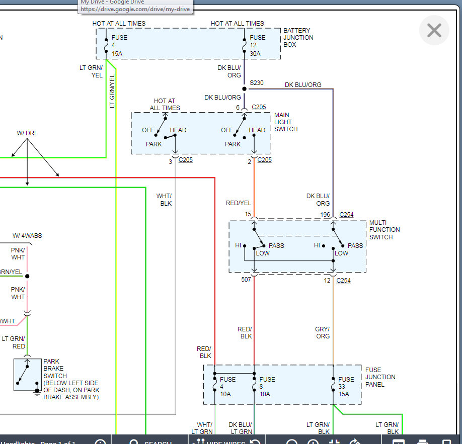
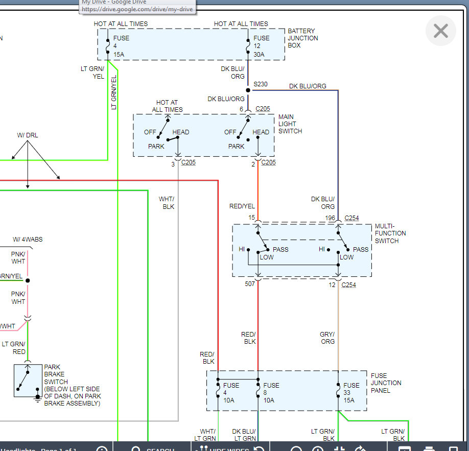
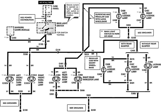
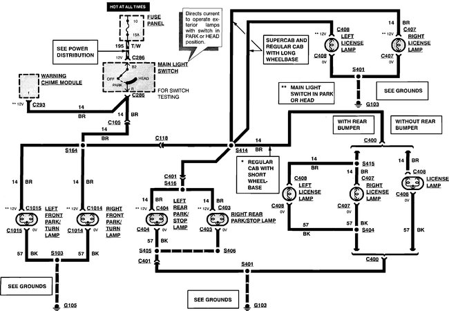
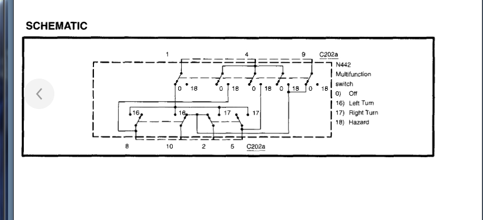
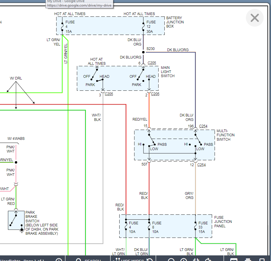
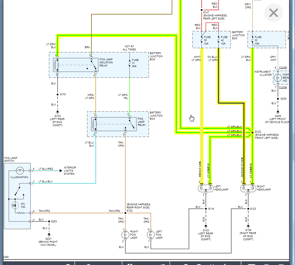
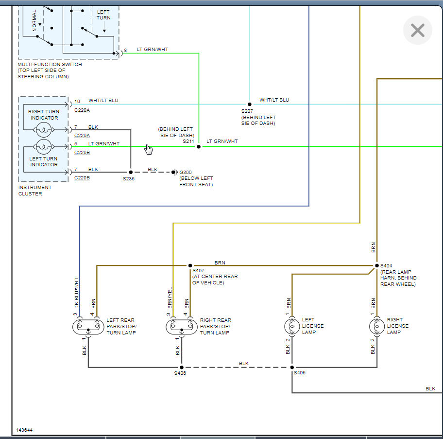
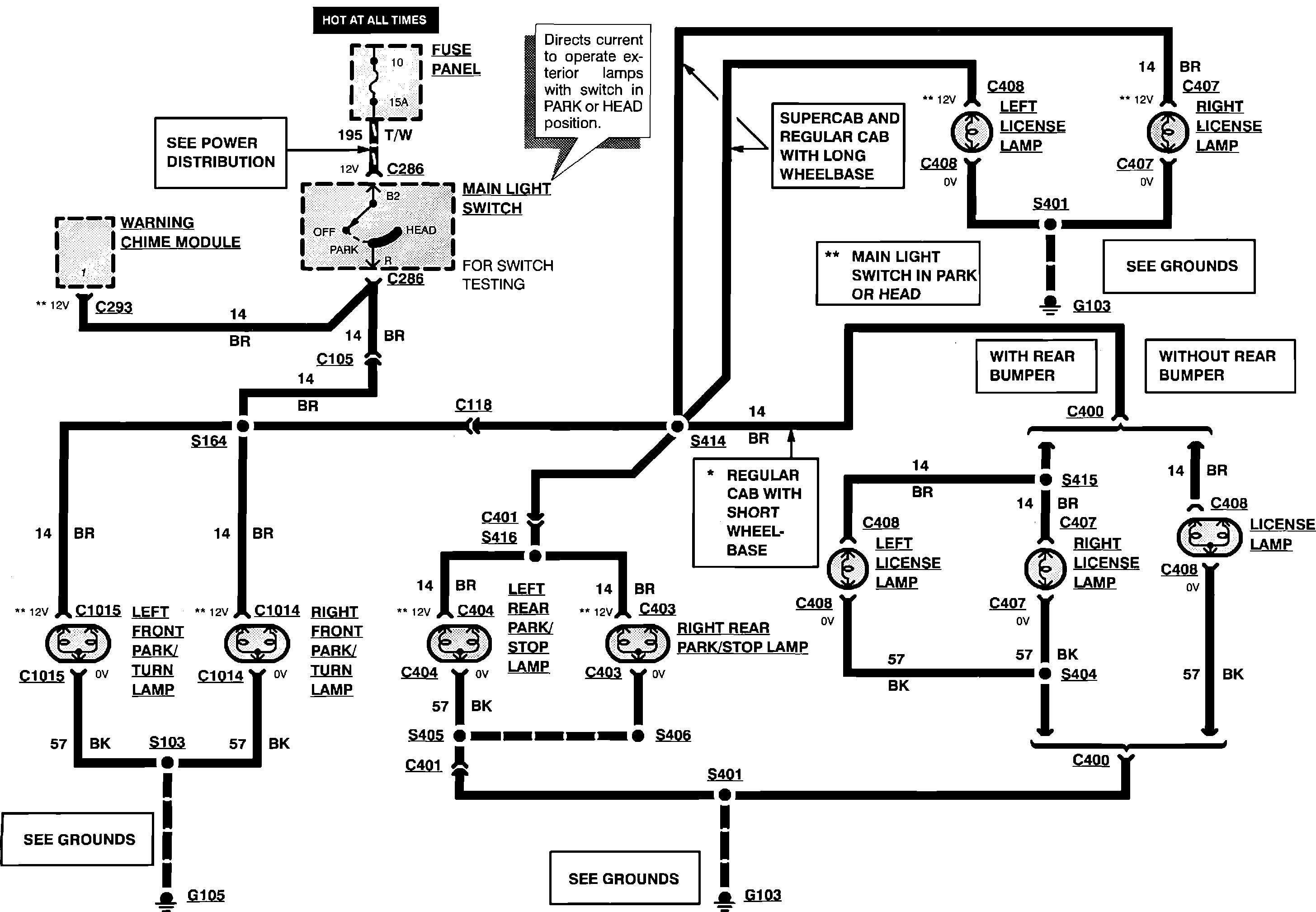
A few days ago I went on a short trip and it became night and my headlamps did not come on when turning on the switch. What did happen is the high beam indicator light stays on when the lights are in the on position. Using the high beam activator does not turn it off and the head lamps never come on low or high.
Aug 3, 2010 at 9:29 AM















































