Replacing the Timing Belt?

2000 FORD RANGER
Avatar
MICHAEL SMALL
  • MEMBER
  • 1 POST
I am looking for a pictorial how-to-guide to show me the steps to do the job. Thanks
Jul 28, 2009 at 11:53 AM
Advertisement
Avatar
ASEMASTER6371
  • CERTIFIED EXPERT
  • 52,796 POSTS
Good evening,

I attached the procedure for you of the replacement of the belt. Let me know if you have any other questions. Check out the diagrams (Below).

Removal
1. Disconnect the battery ground cable.
2. Remove the exhaust side spark plugs.

3. Remove the crankshaft pulley.
Remove the bolt.
Remove the crankshaft pulley.

4. Remove the outer timing belt cover.
5. Rotate the crankshaft until the number 1 piston is at Top Dead Center (TDC).

6. CAUTION: If you attempt to remove the belt without loosening both timing belt tensioner adjusting bolt and spring pivot bolt, damage to Camshaft Belt Tensioner Tool could occur when attempting to relieve belt tension.

7. Loosen the timing belt spring pivot bolt. Do not remove.

8. Loosen the adjusting bolt slowly and release spring tension.
9. Rotate tensioner with adjusting tool, against spring pressure, clockwise to the farthest position.
10. Hold in this position and tighten adjusting bolt to hold tensioner away from the belt.

11. Remove the timing chain/belt.

Installation

1. Make sure the crankshaft is at TDC on piston No. 1, with the crankshaft keyway pointing straight up and the circle on crankshaft sprocket aligned with notch in engine front cover.

2. Align the timing marks.
Align the crankshaft sprocket mark to the front cover notch.
Align the oil pump sprocket diamond to the engine front cover diamond.
Align the camshaft sprocket triangle to the engine front cover triangle.

3. Install the timing chain/belt over the crankshaft sprocket, proceeding counterclockwise over the oil pump sprocket and over the camshaft sprocket.


4. Loosen the bolt allowing the tensioner pulley to press against the timing chain/belt.

5. Note: The timing belt tensioner must not be tightened or belt tension will not be distributed over the entire belt.

Rotate the crankshaft two revolutions clockwise. Bring crank slowly to number one position firing position (keyway on crank facing up). The dot on the crankshaft gear is aligned with the notch on the front cover.
6. Recheck timing mark alignment. Repeat if required.
7. Tighten the bolts.

8. Install the crankshaft pulley.

9. Tighten the bolt.

10. Install the outer timing belt cover.
Tighten the bolt.
11. Install the exhaust side spark plugs.


Check out the diagrams (Below). Please let us know what happens.
Nov 12, 2020 at 4:19 PM
Avatar
DOZERMIKE
  • MEMBER
  • 1 POST
Hello! (Thanks very much, in advance)!

Please note: *We're both disabled and really hurting money-wise or we would be happy to make a donation to help keep this website helping people help themselves fix or maintain their main sources of transportation. We're very, very sorry we can't give but have already spent $100 on parts that we couldn't really afford.* :o(

I have a 1999 Ford Ranger Pickup - 5 spd. standard, with a 2.5L - 4 cyl. engine. I just had to replace the timing belt & tensioner spring after they both snapped on me on the highway. Then the engine went 'free-wheeling' (spinning but no power). (There was NO evil engine noise like valves going on me - it just died on me after the belt & tensioner spring both snapped). I've tried setting the timing on it twice now and it still won't start. The first time I had to go by timing marks shown on a chart I viewed on the Web. I'm an experienced mechanic, tech school (no certifications, though) but have worked on everything from Gravely lawn tractors, to VWs, Mercedes, old Chevys on up to heavy machinery but this job has me extremely baffled. Charged up the battery, of course. Fixing mechanical things seems to come naturally to me, but I can hear the timing just isn't right and there seems to be no compression. I know I must have overlooked something I should have done or another problem??? I tried turning the crank 180 degrees the 2nd time ... Maybe, I just have to keep re-setting the timing again & again until all four pistons line up? I need this truck in the worst way or me & my girl just can't make ends meet without it. We're already having a terrible time - her car's down, too. (One thing at a time, but I may need help with her timing belt, too. Hers is a 2005 Mitsubishi Lancer - belt let go at idle. Thank God! It could've wracked her valve train, otherwise). Please help me.

Thank so much for your time!

Mike S.
Uncasville
Dec 7, 2020 at 8:41 AM (Merged)
Advertisement
Avatar
BMRFIXIT
  • CERTIFIED EXPERT
  • 19,053 POSTS
The inner cover has a triangle for cam and a diamond for the oil pump
And there is a diamond and a triangle stamped into both gears (cam and oil pump) make sure you are using the triangle for the cam and the diamond on the oil pump. Otherwise you have no compression
Dec 7, 2020 at 8:41 AM (Merged)
Avatar
WRENCHTECH
  • CERTIFIED EXPERT
  • 20,761 POSTS
Make sure you have the timing marks aligned corectly
Dec 7, 2020 at 8:41 AM (Merged)
Avatar
CLIFFY93
  • MEMBER
  • 2 POSTS
Engine Mechanical problem
1999 Ford Ranger Two Wheel Drive Manual

i replaced the timing belt on a 1999 ford ranger. it had snapped previously. i set all the marks correctly, and it still wont start. i had better luck at 180 out. what could cause it not to start?
Dec 7, 2020 at 8:42 AM (Merged)
Avatar
RASMATAZ
  • CERTIFIED EXPERT
  • 75,992 POSTS
Verify the valve and ignition timing could be off

Are you getting fuel and spark?
Dec 7, 2020 at 8:42 AM (Merged)
Avatar
CLIFFY93
  • MEMBER
  • 2 POSTS
it is getting fuel and spark. the crank is at TDC cam at TDC and the other pulley is at TDC. when i go to start it. it doesnt fire.
Dec 7, 2020 at 8:42 AM (Merged)
Avatar
ROOSTER_MAN45
  • MEMBER
  • 11 POSTS
I've been handed down a ranger with a problem. The timing belt snapped and another guy replaced it, plugs, one coil pack,wires,fuel filter.One thing I did not like was he gutted the converter trying to fix this problem. Ok now comes to me after two other guys looked at it.It's running ruff, no power skips at times.I checked the computer for codes,po1000,and one for circuit on tps, was put in when they took it off. Ok here is what i've checked,i redone the belt thinking maybe off a little,cam is good ,crank good, oil pump mark will not line up exactly. figured to try it there,no difference.Took compression, 200lbs on all cylinder after 7 compression strokes, checked maf, is getting voltage and sending correct signal voltage, same with tps.Checked and made sure coils wired right. Exhaust was leaking at manifold repaired, checked o2 sensors upstream was acting as it should( have scanner with graph) down stream needs replacing(not reacting at times)fuel pressure fine. Basicly I've done everything I can think of with no luck.



I would love to give a donation but I'm trying to recover from a stroke I had in June and just getting back able to use my left hand,I have been out of work since the stroke. Please accept my apology.
Dec 7, 2020 at 8:42 AM (Merged)
Avatar
HMAC300
  • CERTIFIED EXPERT
  • 48,601 POSTS
i'd look for a vacuum leak or one of the injectors or more screwing up. also try chaning the fuel filter as that will screw up the injectors and lean it out as well.....also check the crank and cam sensors for resistance as they will go bad and not give a code.....also check the fuel pressure as that may be out of whack as well.
Dec 7, 2020 at 8:42 AM (Merged)
Avatar
ROOSTER_MAN45
  • MEMBER
  • 11 POSTS
The fuel filter was replaced, and the pressure was also checked and was good.The engine was running great before this happened,oh and i checked the iac motor,all ok,I pulled some of the plugs and they were smutty and black looks like too much fuel but no black smoke.
Dec 7, 2020 at 8:42 AM (Merged)
Avatar
HMAC300
  • CERTIFIED EXPERT
  • 48,601 POSTS
i still think it's a fuel delivery problem, like an injector screwing up. If you have the "pro type" injector cleaner try that before replaceing injectors or have a ford dealer check your injectors as they can do that. I just find it odd that before the belt broke everything was ok and then now it screws up. Of course the two or three that worked on it before probably aren't telling the whole story as they forget. I still think you ought to check the resistance in the crank and cam sensors as they could be on the high side causing the problem as well.......
Dec 7, 2020 at 8:42 AM (Merged)
Avatar
ROOSTER_MAN45
  • MEMBER
  • 11 POSTS
I purchased a haynes book on this truck thinking it had the resistance listed, but of course all it had was info sensors and how to replace them, they used to have the part of checking them but they cheaped out like everything else.I'm a retired diesel mechanic of 25 yrs. Then all the other stuff happened to me, but oh well does anyone know the resistance ranges on these sensors.Oh and buy the way when I had the exhaust plugs out during the compression test there was fuel coming out of all the cylinders I wasn't checking.Went out today and sprayed around the intake and the injectors and the plenum for leaks ,none found ,fuel pressure was at 62 lbs at all times.running or not.
Dec 7, 2020 at 8:42 AM (Merged)
Avatar
HMAC300
  • CERTIFIED EXPERT
  • 48,601 POSTS
i looked in the repair manual that is available to me and the resistance isn't shown there either. But if you are getting fuel out of a cylinder while testing then i'd have to say the injector is bad as that 's what goes wrong with them they will either lean out or flood the cylinder. Call a seervice dept at a Ford dealer and see if they can check them it says in the tips that they can to see what's wrong with them. In a worst case you could go to an auto parts and check resistance on a new and see what you have on yours. Same with a cam sensor. Other than that i have no idea what to tell you next.......
Dec 7, 2020 at 8:42 AM (Merged)
Avatar
CHARLIE.P
  • MEMBER
  • 1 POST
i changed the timing belt and now it wont start. need suggestions.
Dec 7, 2020 at 8:42 AM (Merged)
Avatar
BMRFIXIT
  • CERTIFIED EXPERT
  • 19,053 POSTS
recheck the timing marks make sure u have the correct marks on


https://www.2carpros.com/forum/automotive_pictures/99387_ranger_98_4.jpg

Dec 7, 2020 at 8:42 AM (Merged)
Avatar
JOSHWISSEHR
  • MEMBER
  • 1 POST
My timing belt broke. I went threw the process of replacing it, aligning the cam pulley with the arrow, the oil pump pulley with the diamonds, and the crank to TDC. Everything is put back together. It starts, runs, and drives. Tho i know the timing isn't perfect. At low rpm the car bogs slightly and when I get threw to about mid rpm it drives smooth. Should I take it all back apart and turn the crank pulley clockwise or counter clockwise slightly? One thing tho, when my crank pulley and cam pulley were perfect the oil pump pulley (diamond mark) was landing on either side of the exact mark as i advanced or turned the pulley back from notch to notch in the belt..could this have something to do with the tension of the belt? I released the tensioner when i put the belt on and let it put its own tension on the belt, then tightened the set bolt. Do I need more tension?
Dec 7, 2020 at 8:42 AM (Merged)
Avatar
KHLOW2008
  • CERTIFIED EXPERT
  • 41,814 POSTS
Hi Joshwissehr, Thank you for the donation. To adjust the tension of the belt, the spring for the tensioner is sufficient. However you need to turn the the engine to compression stroke to get the correct tension. After installation and everything tightened, turn the crankshaft clockwise at least one revolution to let the belt settle. Slowly turn the crankshaft until compression is felt. Loosen the tensioner and retighten when the spring tension moves the bearing.


https://www.2carpros.com/forum/automotive_pictures/192750_TimingBelt99RangerFig01_1.jpg

Dec 7, 2020 at 8:42 AM (Merged)
Avatar
WAB
  • MEMBER
  • 15 POSTS
Engine Mechanical problem
1998 Ford Ranger 4 cyl Two Wheel Drive Manual 78k miles

How long is this timing belt suppose to last on a 2.4L Ranger? The manual that came with the truck new NEVER says to replace it!

Also, if it brakes does it wreck the engine? I had the same type engine in a Pinto (many) years ago, and when the timing belt broke I think it bent the valves?

Bill
Dec 7, 2020 at 8:44 AM (Merged)
Avatar
98RANGERXLT
  • CERTIFIED EXPERT
  • 301 POSTS
Usually around 60 to 100k miles dependiing on your driving.
Dec 7, 2020 at 8:44 AM (Merged)
Avatar
WAB
  • MEMBER
  • 15 POSTS
I wonder why the manual does not mention it, it cover EVERYTHING else?

Does anyone know if the valves hit in the 2.5 ?


Bill
Dec 7, 2020 at 8:44 AM (Merged)
Avatar
COMAROSCO
  • MEMBER
  • 8 POSTS
Four cylinder two wheel drive manual

Recently the timing belt on my truck broke. Putting the new belt on I lined up the cam pulley (triangle to triangle), oil pulley (diamond to diamond), and crank to TDC. Tried several times but it is not working. Any Ideas? In addition, it is a four cylinder but has eight spark plugs, the number one access spark plug is the first on the driver side right?
Dec 7, 2020 at 8:44 AM (Merged)
Avatar
DAVE H
  • CERTIFIED EXPERT
  • 13,384 POSTS
Timing belt removal: Disconnect battery ground cable. Remove exhaust side spark plugs. Remove fan shroud bolts and fan shroud, and position aside. Loosen, but do not remove, water pump pulley bolts. Remove accessory drive serpentine belt. Remove fan and clutch assembly retaining screws. Remove fan and clutch assembly. Remove fan shroud. Remove water pump pulley. On models with A/C, discharge A/C system using approved refrigerant recovery/recycling equipment. Remove A/C compressor from mounting bracket. Remove A/C compressor mounting bracket with power steering pump attached, and position aside. Remove timing belt outer cover retaining bolt. Release seven cover interlocking tabs. Remove timing belt cover. Rotate crankshaft in normal direction of rotation so that No. 1 cylinder is at TDC of compression stroke. Align camshaft, crankshaft and oil pump timing marks. See Fig. 1 crankshaft key-way should be pointing straight up, and circle on crankshaft sprocket must align with notch in engine front cover. Holding timing belt tension-er with camshaft belt tension adjuster (T74P-6254-A) or equivalent, loosen adjusting bolt and pivot bolt. Slowly release spring tension. Pry tension-er away from timing belt, and tighten bolt to hold tension-er in place. Remove timing belt.


https://www.2carpros.com/forum/automotive_pictures/266999_150_2.jpg

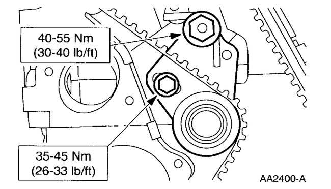
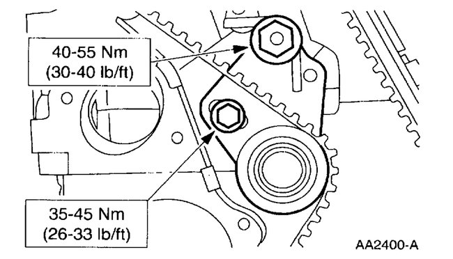
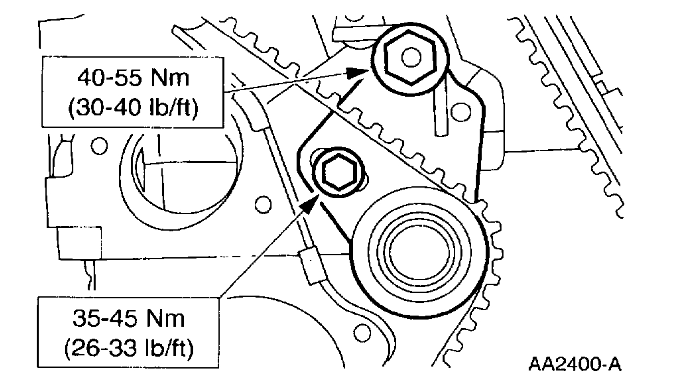
Installation: Ensure crankshaft is set at TDC and camshaft sprocket timing mark and oil pump sprocket timing mark are aligned with inner cover timing marks. Install timing belt on crankshaft sprocket, oil pump sprocket and then the camshaft sprocket. Loosen timing belt tension-er bolt. Allow tension-er to adjust itself against timing belt. Do not tighten belt tension-er. Slowly rotate crankshaft clockwise 2 complete turns clockwise (as viewed from front of engine) so No. 1 cylinder is at TDC of compression stroke. Recheck timing alignment marks. If timing marks are not aligned, re-position timing belt. Repeat timing belt tensioning procedure. Tighten timing belt tension-er adjusting and pivot bolts to specification. See TORQUE SPECIFICATIONS: Install crankshaft pulley. Tighten center bolt to specification. Install timing belt cover. Install exhaust side spark plugs. Install A/C compressor mounting bracket to engine. Install A/C compressor to mounting bracket. To complete installation, reverse removal procedure. Recharge A/C system, if necessary.


https://www.2carpros.com/forum/automotive_pictures/266999_1502_2.jpg

Dec 7, 2020 at 8:44 AM (Merged)
Avatar
COMAROSCO
  • MEMBER
  • 8 POSTS
I have tried this many times, but still have no result. Any other ideas of what the problem could be?
Dec 7, 2020 at 8:44 AM (Merged)
Avatar
DAVE H
  • CERTIFIED EXPERT
  • 13,384 POSTS
are you getting fuel and spark ???
Dec 7, 2020 at 8:44 AM (Merged)
Avatar
COMAROSCO
  • MEMBER
  • 8 POSTS
Yes I am getting spark and fuel. My only idea is that I am not getting TDC on compression stroke. What I have done is:
-Taken out number one cylinder spark plug.
-Put an object in to feel for cylinder.
-Rotated the crank clockwise until cylinder at very top and mark lined up on timing outer case.

Is this the TDC?
Is there a better way to be certain?

I have got the engine to turn over and start, but its rough and only runs for five to fifteen seconds.

Please help!
Dec 7, 2020 at 8:44 AM (Merged)
Avatar
DAVE H
  • CERTIFIED EXPERT
  • 13,384 POSTS
You have the timing slightly out still put a thin screwdriver into number one plug hole rotate crankshaft clockwise so that the piston is on the rocking point between up and down. it needs to be right at the top point at the end of the up stroke before it starts to go down again. here is a better picture of the timing marks. I hope this helps. let me know.


https://www.2carpros.com/forum/automotive_pictures/266999_ranger2_1.jpg


https://www.2carpros.com/forum/automotive_pictures/266999_ranger3_1.png

Dec 7, 2020 at 8:44 AM (Merged)
Avatar
COMAROSCO
  • MEMBER
  • 8 POSTS
Okay, I took out the access plug and placed my finger over the hole. I had a friend turn the crank shaft until I felt pressure(valves working), at this point I knew this was the compression stroke. I then put a long screw driver into the hole and turned the crank until I felt it was TDC and the marks lined up on case. I re-aligned the cam and oil pulley, placed the timing belt on, set tension, and placed the spark back in. The truck started, and stayed running but it was very rough. Should I start over again or is there something I am missing? Like I stated earlier (eight Plugs, two per cylinder), the access plug I have been using is the driver side number one. should I try the passenger number one, or it should not matter?
Please Help!
Dec 7, 2020 at 8:44 AM (Merged)
Avatar
COMAROSCO
  • MEMBER
  • 8 POSTS
Also, every time I try to start the truck, I am doing so with the serpentine belt disconnected. Could this be why it is rough?
Dec 7, 2020 at 8:44 AM (Merged)
Avatar
DAVE H
  • CERTIFIED EXPERT
  • 13,384 POSTS
It does not matter which plug hole you use on number one cylinder as long as it is at TDC and all of your marks are lined up. ow battery power could be causing the rough running install the belt. i would not expect it to cause real rough running if all your mark's are set up correctly (right on the marks) then your timing is correct. check all your leads are correctly routed and seated on plugs. plugs are tight. also, check vacuum pipes . does the vehicle sit and idle now? let me know.
Dec 7, 2020 at 8:44 AM (Merged)
Avatar
FORDCRUSHERDREAMS
  • MEMBER
  • 1 POST
yes funny your diamond to triangle on the cam is wrong the diamond to diamond on the oil pump and the crank at TDC compression stroke are correct, but the cam is wrong. there is a little flat lip on the cam plate line the triangle at the bottom part of the lip an the rotate the cam counter clock wise one tooth and then put the belt on. this is for a 2.5 98 ford ranger.
Dec 7, 2020 at 8:44 AM (Merged)
Avatar
PHIBEROPTIK
  • MEMBER
  • 1 POST
I have been trying to repair this timing belt for 5 days now. I have experience in Ford engine building as I used to own and maintain a street racing Mustang GT, 1985. Anyway... I've got all my marks lined up and have verified this through the inspection holes while crank pully is at TDC, however... no matter what I do or have dont the truck will still not start (1998 Ford Ranger 2.5 4 cyl. OHC. What is happening is that the exhaust pipe is sucking in air while the intake manifold is releasing the air (fuel and air mix) in an almost "smoke" like form. Fuel pressure is fine and I am getting spark. Don't know what else to do at this point though. Could it be a broken camshaft or bent valves? Or what? I have no idea. Any suggestions are greatly appreciated. Thank you in advance for your response(s).
Dec 7, 2020 at 8:44 AM (Merged)
Avatar
TONYS420
  • MEMBER
  • 2 POSTS
I am havening the same problem did youend up solving it?? Please help


[quote:c28f726b21="Phiberoptik"]I have been trying to repair this timing belt for 5 days now. I have experience in Ford engine building as I used to own and maintain a street racing Mustang GT, 1985. Anyway... I've got all my marks lined up and have verified this through the inspection holes while crank pully is at TDC, however... no matter what I do or have dont the truck will still not start (1998 Ford Ranger 2.5 4 cyl. OHC. What is happening is that the exhaust pipe is sucking in air while the intake manifold is releasing the air (fuel and air mix) in an almost "smoke" like form. Fuel pressure is fine and I am getting spark. Don't know what else to do at this point though. Could it be a broken camshaft or bent valves? Or what? I have no idea. Any suggestions are greatly appreciated. Thank you in advance for your response(s).[/quote:c28f726b21]
Dec 7, 2020 at 8:44 AM (Merged)
Avatar
98RANGERXLT
  • CERTIFIED EXPERT
  • 301 POSTS
It sounds like its 180 degrees off be sure the no 1 cylinder is at tdc.
Dec 7, 2020 at 8:44 AM (Merged)
Avatar
BMRFIXIT
  • CERTIFIED EXPERT
  • 19,053 POSTS


https://www.2carpros.com/forum/automotive_pictures/99387_ranger_98_1.jpg

recheck timing marks do a compression test and a cylinder leak test
Dec 7, 2020 at 8:44 AM (Merged)
Avatar
TONYS420
  • MEMBER
  • 2 POSTS
What it was it the cam shaft has # marks on it a notch , Diamond, and an arrow head the stupid FORD book say like up the marks and you can barely see the arrow and they ASSume You know to use the arrow.... A-Holes did this on purpose i had to use a $80 timing book to figure this out.. Thankx all HOPE this helps someone down the line. it sux taking the belt off 20 times :-( Anth
Dec 7, 2020 at 8:44 AM (Merged)