change the cam position sensor?

2004 FORD F-150
129 MILES • V8 • 4WD • AUTOMATIC
Avatar
KELLYHELTON35
  • MEMBER
  • 3 POSTS
i have a 2004 supercrew ford f-150 that i had a new remanufactured motor put in it. the truck barely idels, sounds like knocking on right side, and stalls. im getting a error code of p0022- cam position retard. ive changed the vct solenoid and no change. the old motor had a blown head gasket and droped valeve on right side. is it posible that it has a bad computer in it doing this, or would it be a bad cam phaser. it being a new motor i cant see it being a bad cam phaser.
Sep 23, 2010 at 7:59 PM
Advertisement
Avatar
JACOBANDNICKOLAS
  • CERTIFIED EXPERT
  • 110,175 POSTS
I agree about the cam phaser. Does the engine have power once you get it going? As far as the knock, does it sounds like a rod bearing? I have a couple concerns. First, the engine was not timed properly when remanufactured. Second, if the timing is retarded, it shouldn't cause a knock. Too far advanced can because it fires too early.

Let me know.
Sep 23, 2010 at 9:22 PM
Avatar
KELLYHELTON35
  • MEMBER
  • 3 POSTS
it sounds like the valves chattering, it tries to die, it smoothes out alittle once the rpms are ran up. its hard to start also.
Sep 24, 2010 at 8:20 PM
Advertisement
Avatar
JACOBANDNICKOLAS
  • CERTIFIED EXPERT
  • 110,175 POSTS
First, sorry about the delay in getting back to you. I lost my father this week and things were...


Have you checked the knock sensor?
Sep 25, 2010 at 12:41 AM
Avatar
KELLYHELTON35
  • MEMBER
  • 3 POSTS
im very sorry to hear about your father my condolences go out to you and your family. would a knock sensor give the error code p0022, rough idel and hard to start and shimmy and valvel chattering?
Sep 25, 2010 at 11:00 AM
Avatar
JACOBANDNICKOLAS
  • CERTIFIED EXPERT
  • 110,175 POSTS
Thank you...

As far as the knock sensor, its purpose is to adjust ignition timing to a point right before it gets too advanced. If it does get too advanced, you get valve chatter, and yes it can make it hard to start. It's worth checking.
Sep 26, 2010 at 1:26 AM
Avatar
JOSIE2003
  • MEMBER
  • 1 POST
Where is it located exactly on my truck?
Aug 21, 2020 at 5:53 PM (Merged)
Avatar
JACOBANDNICKOLAS
  • CERTIFIED EXPERT
  • 110,175 POSTS
Hi and thanks for using 2CarPros.

See picture 1 for location.

___________________________________

Here are the directions for replacement:

CAMSHAFT POSITION SENSOR
REMOVAL
1. Disconnect the battery ground cable.
2. Partially drain the cooling system.
3. Remove the air cleaner outlet tube.


See picture 2



4. Disconnect the engine harness from the water tube, remove the bolt and position the heater water outlet tube aside.



See picture 3



5. Disconnect the Camshaft Position (CMP) sensor electrical connector.



See picture 4



6. Remove the screws and the CMP sensor.

INSTALLATION
1. To install, reverse the removal procedure.

__________________________________________________

Let me know if this helps or if you have other questions.

Take care,
Joe
Aug 21, 2020 at 5:53 PM (Merged)
Avatar
GINALANGSTON1
  • MEMBER
  • 66 POSTS
While replacing my Injectors I noticed there was bare wires showing on one of the electrical connectors connected to something just underneath my EGR valve but not knowing what it is cuz I couldn't find it in books or anywhere I decided that I was going to remove it and I did not realize at the time that the top part with electrical connector connected could come separate from the other Part.it's directly under the EGR valve and held in by a big washer and bolt. So after I'm doing the bolt I attempted to pull it out several times but was not able to get it out then later realized what I was trying to pull out with my camshaft an electrical connector connected to the camshaft position sensor on top of it now I'm freaking out can you please tell me what damage I've done like trying to pull it out what I need to do to fix itI never did actually get it out but I did try pulling it several times and I don't think I put it back in the correct position that it was when I started. Please help me what do I do now did I mess it up bad I haven't tried starting the vehicle yet should I not start it what should I do is there any way to fix it or do I need to take the whole thing apart please tell me what I have to do and whether I need to try starting it or not waiting for your reply thank you so much. It's a 2000 Ford f150 4.2 v6 2 wheel drive it is the thing on the left .that the sensor is bolted on top of . And that big bolt and washer held it down in place
Aug 21, 2020 at 5:53 PM (Merged)
Avatar
ASEMASTER6371
  • CERTIFIED EXPERT
  • 52,796 POSTS
Hello again.

Did you re time the synchronizer? The last conversation we had, I told you it had to be retimed.

Roy
Aug 21, 2020 at 5:53 PM (Merged)
Avatar
GINALANGSTON1
  • MEMBER
  • 66 POSTS
No. I am sorry I don't think I ever got that message. Anyways, could you Please tell me how to do that. What steps do I need to take to time the Synchronizer? Step by step would be so greatly appreciated. Thank you so much.
Aug 21, 2020 at 5:53 PM (Merged)
Avatar
ASEMASTER6371
  • CERTIFIED EXPERT
  • 52,796 POSTS
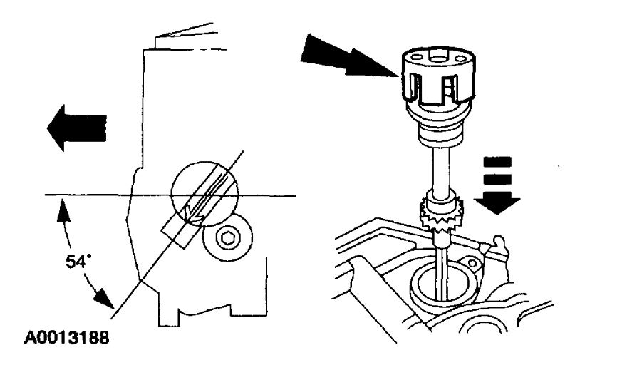
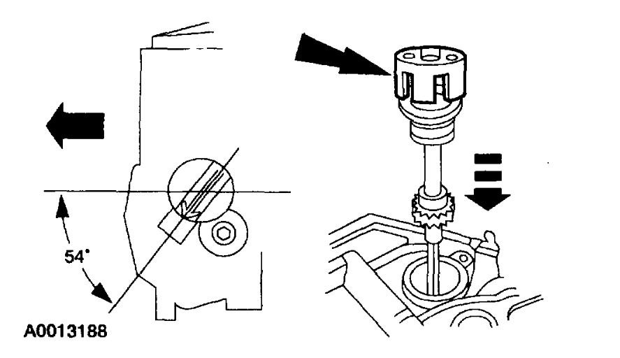
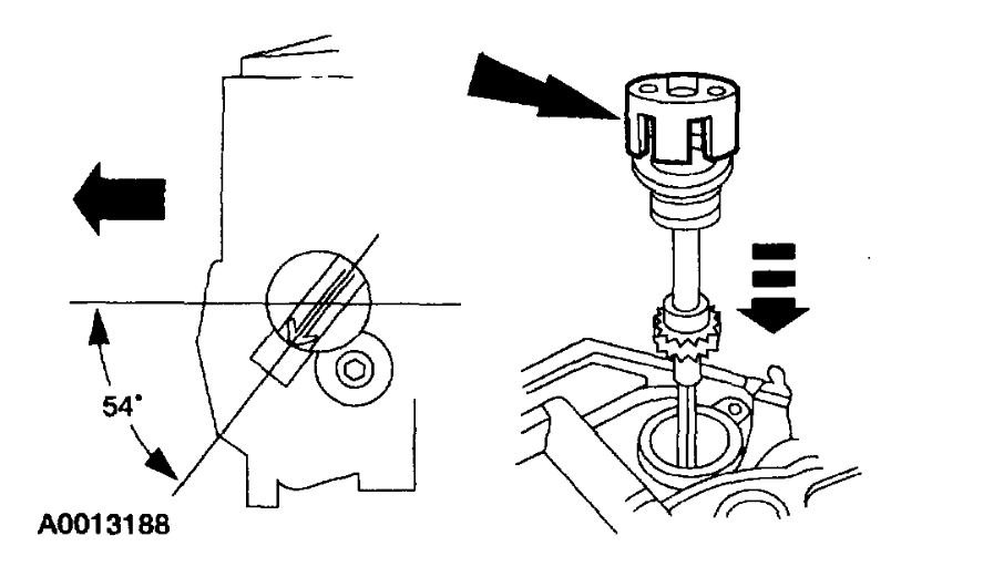
Procedure.

Roy

INSTALLATION

CAUTION: The Syncro Positioning Tool must be obtained prior to installation of the new camshaft synchronizer assembly. Failure to follow this procedure will result in the fuel system being out of time with the engine, possibly causing engine damage.



imageOpen In New TabZoom/Print



1. Install the Syncro Positioning Tool on the camshaft synchronizer by rotating the tool until it engages the notch in the camshaft synchronizer housing.

CAUTION: A Syncro Positioning Tool must be used during the installation of the new synchronizer assembly. Failure to follow this procedure will result in the fuel system being out of time with the engine, possibly causing engine damage.



imageOpen In New TabZoom/Print



2. Install the camshaft synchronizer housing assembly so the arrow on the synchronizer alignment tool is 54 degrees from the centerline of the engine.

NOTE: During installation, the arrow on the synchronizer alignment tool will rotate clockwise as the gears engage.



imageOpen In New TabZoom/Print



3. Install the bolt and remove the Syncro Positioning Tool.

NOTE: Do not remove the Syncro Positioning Tool until the bolt is tightened.



imageOpen In New TabZoom/Print



4. Install the EGR valve and adapter assembly.
1 Position the EGR adapter gasket.
2 Position the EGR valve.
3 Install the bolts and the nut.

NOTE: Reuse the EGR valve adapter gasket.



imageOpen In New TabZoom/Print



5. Install the EGR valve tube upper fitting.



imageOpen In New TabZoom/Print



6. Connect the EGR valve vacuum hose.
7. Install the CMP sensor. For additional information, refer to Camshaft Position (CMP) Sensor.
Aug 21, 2020 at 5:53 PM (Merged)
Avatar
GINALANGSTON1
  • MEMBER
  • 66 POSTS
While working on my truck listed above 4.2 v6 I noticed that one of the electrical connectors to some type of sensor the wires were showing. so I cut it off to replace it and somehow I lost it and wasn't sure the part that it was connected on to. I've been looking into books and everywhere online I can't find what that was that was connected to. finally I just decided to take it off and then take it to the auto parts store so I can get the correct connector for it and realized later that it was a camshaft position sensor. I did not totally remove it from the vehicle but I lifted it up and kept trying to pull it out but can't get out of course, but I want to know what damage I've done? is my engine going to start ?is it going to cause worse damage to the motor it if I try starting it? what should I do? I bolted it back down to where I think it was but I'm not quite sure. please tell me what I need to do. Do I need to take take it all apart? Should I not attempt to start it or what? Please help!
Aug 21, 2020 at 5:53 PM (Merged)
Avatar
ASEMASTER6371
  • CERTIFIED EXPERT
  • 52,796 POSTS
Good evening,

You need a pigtail for the cam sensor. You ask for that at a parts store.

As far as the sensor, it is held by 2 small bolts. I attached a picture for you to view. Is that what you tried to remove?

Roy
Aug 21, 2020 at 5:53 PM (Merged)
Avatar
GINALANGSTON1
  • MEMBER
  • 66 POSTS
No,I tried to remove the whole camshaft position sensor. that that electrical part is bolted on top of . Without first marking it's location . What do I do now?
Aug 21, 2020 at 5:53 PM (Merged)
Avatar
ASEMASTER6371
  • CERTIFIED EXPERT
  • 52,796 POSTS
Did it come all the way out?

The top part is the sensor.

Roy
Aug 21, 2020 at 5:53 PM (Merged)
Avatar
ASEMASTER6371
  • CERTIFIED EXPERT
  • 52,796 POSTS
How did you make out?
Aug 21, 2020 at 5:53 PM (Merged)
Avatar
GINALANGSTON1
  • MEMBER
  • 66 POSTS
I have not done anything yet. So I have to basically take my whole engine apart to do this? Such as to remove the crankshaft pully, oil pan, oil pump, radiator and get to the timing chain and all that? I didn't completely take it out because the EGR valve was in the way,does that matter? Also how do I donatemoney to you guys? I did it before a few times but can't remember how.
Aug 21, 2020 at 5:53 PM (Merged)
Avatar
ASEMASTER6371
  • CERTIFIED EXPERT
  • 52,796 POSTS
Okay, no, the engine does not have to come apart. You need to remove the EGR valve to get the syncronizer out for reset.

Roy

REMOVAL
1. Rotate the crankshaft until the No.1 cylinder is at Top Dead Center (TDC) of the compression stroke.

CAUTION: Do not turn the crankshaft or camshaft during the removal and installation procedure or the fuel system timing will be out of time with the engine and possibly cause engine damage.

2. Remove the camshaft position sensor. For additional information, refer to Camshaft Position (CMP) Sensor.



imageOpen In New TabZoom/Print



3. Disconnect the Exhaust Gas Recirculation (EGR) valve vacuum hose.



imageOpen In New TabZoom/Print



4. Remove the EGR valve tube upper fitting.



imageOpen In New TabZoom/Print



5. Remove the EGR valve and adapter.
1 Remove the nut and the bolts.
2 Remove the EGR valve and adapter assembly.



imageOpen In New TabZoom/Print



6. Remove the bolt.
Aug 21, 2020 at 5:53 PM (Merged)
Avatar
GINALANGSTON1
  • MEMBER
  • 66 POSTS
Okay. But 2 last Questions being that I did not lift it all the way out due to EGR being in the way and I did not remove the Camshaft position sensor at all from yhe Synchronizer would that make it out of timing still? And how would I know if by pulling up on it if my oil pump disconnected?
Aug 21, 2020 at 5:53 PM (Merged)
Avatar
ASEMASTER6371
  • CERTIFIED EXPERT
  • 52,796 POSTS
Okay,

1. If the gear came away from the camshaft, then it has moved and needs to be reset.

2. If the unit went back down into place flush as it was before, then it is engaged in the oil pump.

Roy
Aug 21, 2020 at 5:53 PM (Merged)
Avatar
ASEMASTER6371
  • CERTIFIED EXPERT
  • 52,796 POSTS
How are you making out?

Roy
Aug 21, 2020 at 5:53 PM (Merged)
Avatar
KEITHSTURF
  • MEMBER
  • 1 POST
I have giving my truck a compete tune up, as well as replaced the cam sensor. The scanner before said that it was a misfire and 1 and 4 so that lead to the tune up and coil pack change. now it says that it is running lean-rich on bank one. I am about to pull my hair out this can not be that hard. what am i missing!!!

Thanks Keith
Aug 21, 2020 at 5:53 PM (Merged)
Avatar
MERLIN2021
  • CERTIFIED EXPERT
  • 17,250 POSTS
You may have a vacuum leak, get a can of spray gumout, spray the vac lines and maniflod area, when the idle changes, youve found the leak! You want the engine running and spray on the outside but do direct the stream onto the hoses, if it is a vacuum leak, the engine idle will change speed, then you have detected a leak, repair the vacuum leak and see how it runs!
On your truck if it has the plastic intake manifold, pay particular attention to the seams...the gasket between the two halfs starts to leak after a while...may need a new manifold.
Aug 21, 2020 at 5:53 PM (Merged)
Avatar
GINALANGSTON1
  • MEMBER
  • 66 POSTS
I got the Tool, rented it from AutoZone ($25.00). Getting ready to go do it now. But have another concern . The original problem that I was attacking was replacing my Fuel Injectors . okay now the one that I bought from Amazon. State that they are for my vehicle 2000 Ford F150 4.2 v6 2wd. However they are much fatter then the ones that I removed, the old ones seated down in the holes, these ones do not. The bottom o-ring on the injectors can be seen as they do sit on the top of the holes in the intake manifold and the fuel rail does seat down properly on top of them but the rail is the only thing keeping them down. If rail was to be lifted off the injectors would just fall cause they are not going down inside the lower intake manifold. If that makes sense.? I put the key in on position and got no leaks anywhere but worried that maybe reason for no leaks may be due to no to having enough fuel pressure built up . As prior to doing all this work I was not getting proper fuel pressure readings at all. What do you think I should do? The injectors should
go down inside the holes right? Just leaving out the top part for harness to connect to?
Aug 21, 2020 at 5:53 PM (Merged)
Avatar
GINALANGSTON1
  • MEMBER
  • 66 POSTS
The new injectors that I am putting in are YR3E-A6A.
Aug 21, 2020 at 5:53 PM (Merged)
Avatar
GINALANGSTON1
  • MEMBER
  • 66 POSTS
Take that back they are YR3E-A4A.
Aug 21, 2020 at 5:53 PM (Merged)
Avatar
ASEMASTER6371
  • CERTIFIED EXPERT
  • 52,796 POSTS
What is the number off the old injectors?

https://www.rockauto.com/en/catalog/ford,2000,f-150,4.2l+v6,1362473,fuel+&+air,fuel+injector,6224

Roy
Aug 21, 2020 at 5:53 PM (Merged)
Avatar
GINALANGSTON1
  • MEMBER
  • 66 POSTS
Okay this is where I am at. I pulled the Fuel rail back off to check the seating of the Injectors and the rail itself did push them down a bit, the bottom tips of each one are in the holes. Now on the Synchronizer I rented the tools there were 1black, 1 yellow, 1 gray and I think 1blue,. Anyways I used the Gray. This is all I did though please tell me if I need to do more or if it is Good. Okay I removed the camshaft positioning sensor and tried each color tool, not any of them went on it so I put the sensor back on and then I "loosened " the large bolt and Washer and just turn the whole Synchro and housing slightly until I got one of the tools to fit down on it properly (which was the Gray one. I then tightened up the big bolt and put the sensor back on it. . I never attempted at all to lift the Synchronizer out. So is that okay now? Do I need to do anything more to it? Am I now TDC?
Aug 21, 2020 at 5:53 PM (Merged)
Avatar
ASEMASTER6371
  • CERTIFIED EXPERT
  • 52,796 POSTS
The top dead center is from the engine. You need to remove number 1 cylinder and hand turn the motor until the piston is at top dead center. You have to remove the spark plug to do this.

You may be good if the gear did not come off the cam gear.

Roy
Aug 21, 2020 at 5:53 PM (Merged)
Avatar
GINALANGSTON1
  • MEMBER
  • 66 POSTS
Okay, so what you're saying is what I did with the tool didn't really do anything that I need to still turn the crank by hand and take out the number one spark plug and make it a go to top dead center on the engine and then I need to remove the EGR again and all that stuff again and the crankshaft position sensor and time the synchronizer again unseeing the tool ? Right? Now can I do it like I did before by just moving it or do I have to literally cut out the synchronizer to do it I'm afraid I'm going to lift it off the oil pump? And as far as a tool goes long as I get one of them to fit on there like it supposed to would that be okay or does it have to be specific color no one?
Aug 21, 2020 at 5:53 PM (Merged)
Avatar
GINALANGSTON1
  • MEMBER
  • 66 POSTS
What I meant to say above was that do I need to pull out the synchronizer not cut out to synchronizer or can I just move the whole housing by listening to big nut and bolt until one of the tools fit?
Aug 21, 2020 at 5:53 PM (Merged)
Avatar
ASEMASTER6371
  • CERTIFIED EXPERT
  • 52,796 POSTS
Turn it by hand until it is at top dead center.

Then remove the cam sensor and check the position of the synchronizer. See if the position is correct before doing anything else.

Roy
Aug 21, 2020 at 5:53 PM (Merged)