Freeze plug

1999 FORD ESCORT
99,000 MILES • 4 CYL • 2WD • MANUAL
Avatar
JENWORKS
  • MEMBER
  • 1 POST
location of freeze plug and is it required to remove engine to replace freeze plug?
May 2, 2008 at 2:47 PM
Advertisement
Avatar
TROLLEYGUY
  • MEMBER
  • 8 POSTS
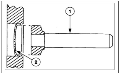
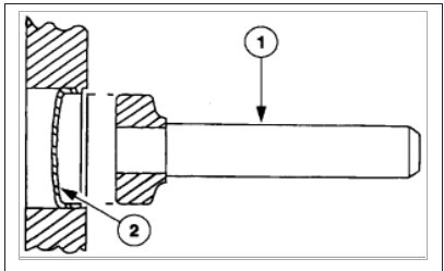
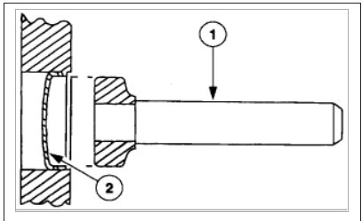
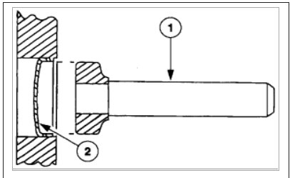
freeze plugs are on bottom side of engine and in most cars some can be removed with little problem and others need engine to be lifted to get at them you need to try and determine if your losing coolant in front /middle or rear section of motor and which side.

Here are diagrams to help you see how the job is done.

Check out the diagrams (Below)

Please let us know if you need anything else to get the problem fixed.

Cheers
May 2, 2008 at 2:59 PM
Avatar
JESSICA RAY
  • MEMBER
  • 1 POST
My 01 escort se is leaking like behind the crankshaft pulley which is below the timing cover which houses the water pump. Could I be lucky enough to have a freeze plug leaking instead of water pump issues?
May 14, 2019 at 12:57 PM
Advertisement
Avatar
STRAILER
  • CERTIFIED EXPERT
  • 53,854 POSTS
I don't think there is a freeze plug near there is sounds more like the water pump is out. I would do the timing belt as well. If you need instructions on how to do the job please post a new question

Please post your new question here, you must be logged in.

https://www.2carpros.com/questions/new

Cheers, Ken
May 15, 2019 at 10:18 AM