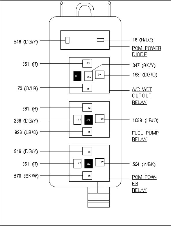
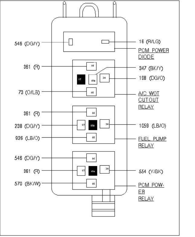
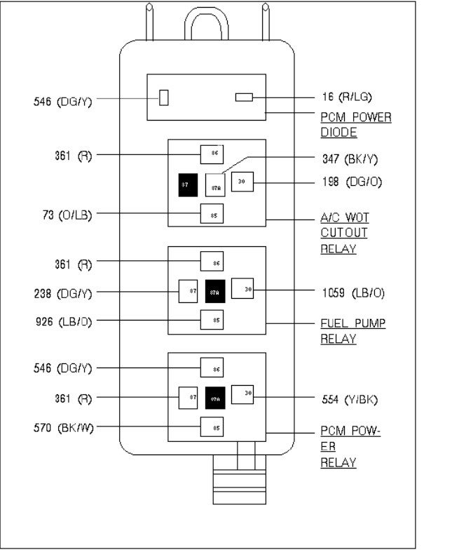
I have looked all over the internet and can not find any diagrams for my 93 crown vic fuse box.. Both for the power distribution box and for the fuses underneath the steering wheel.
May 22, 2010 at 2:31 AM






