Flasher relay location

2013 NISSAN LEAF
57,000 MILES
Avatar
CARMICHAEL
  • MEMBER
  • 6 POSTS
Where is the flasher relay located on a w013 Nissan Leaf S?
Jul 2, 2019 at 1:16 AM
Advertisement
Avatar
SCGRANTURISMO
  • CERTIFIED EXPERT
  • 4,897 POSTS
Hello,

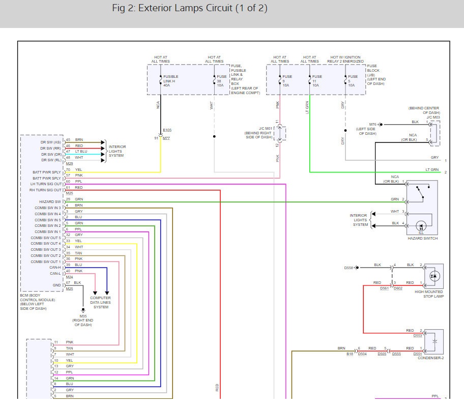
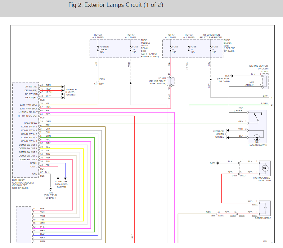
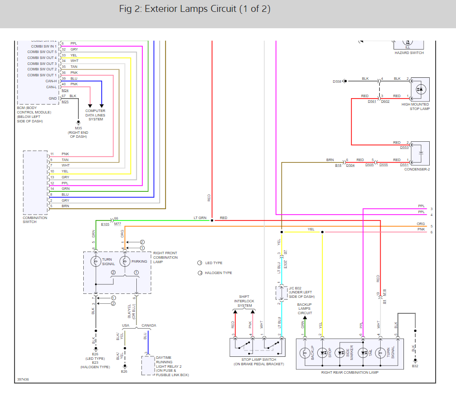
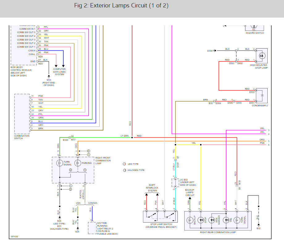
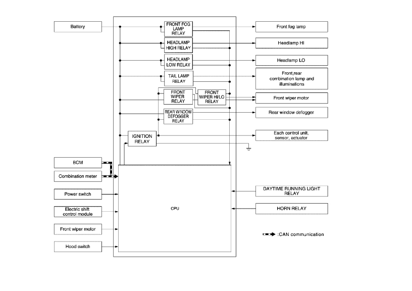
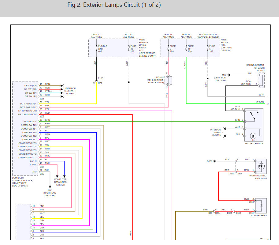
The hazard switch is the relay for your vehicle. I have included in the diagrams down below the operation and a factory diagnostic troubleshooting guide for the hazard switch in your vehicle. Please go through this guide and get back to us with what you are able to find out.

Thanks,
Alex
2CarPros
Jul 2, 2019 at 5:40 PM
Avatar
CARMICHAEL
  • MEMBER
  • 6 POSTS
Okay. maybe I asked the wrong question. Where is the relay for the turn signals located?
Jul 31, 2019 at 5:44 PM
Advertisement
Avatar
SCGRANTURISMO
  • CERTIFIED EXPERT
  • 4,897 POSTS
Hello again,

No, you asked the right question, it's the answer that is throwing you off. There is no hazard/turn signal relay. It is done through the hazard switch, combination switch, Integrated Power Distribution Module (IPDM), Body Control Module (BCM) and Computer Area Network(CAN) system. I have included the description of how everything works together in harmony in the diagrams down below. If you get lost, like I did, read it again. It kind of makes you wish they would have stuck with a relay. That's just my opinion. Anyway, there it is. Please keep us informed.

Thanks,
Alex
2CarPros
Aug 1, 2019 at 1:42 AM
Avatar
CARMICHAEL
  • MEMBER
  • 6 POSTS
Oh this is horrible news, isn't it?

For anyone, like myself, who replaced their factory turn signal bulbs with LED's is doomed to hyper flashing or forced to use resistors (and using resistors defeats the benefit of the LED's).
Aug 1, 2019 at 11:00 AM
Avatar
STRAILER
  • CERTIFIED EXPERT
  • 53,854 POSTS
Yes, the system is not designed for alternative bulbs, you must return the bulbs to stock for proper operation.
Aug 3, 2019 at 11:41 AM
Avatar
CARMICHAEL
  • MEMBER
  • 6 POSTS
I'm curious to know what would happen if I soldiered an electronic relay between the Existing hazard switch assembly and the LED bulbs. I wasn't able to suss out any potentially detrimental unintended consequences on my own, so I may patch one in without soldier just to give it a try in the next day or so. Of course if you don't see a report of my findings by Tuesday, then you'll know what a miserable failure it was and you'll also know the depth of my shame over the whole undertaking.
Aug 4, 2019 at 3:06 AM
Avatar
STRAILER
  • CERTIFIED EXPERT
  • 53,854 POSTS
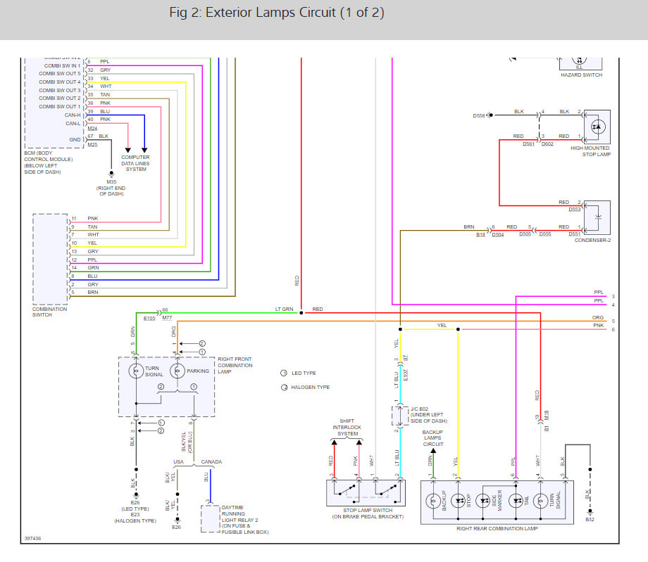
Please do not solider a flasher in you will create more problems. this car does not have a flasher. I looked into the problem a little more and it looks like the BCM control the flashing. here are the blinker wiring diagrams so you can see how the system works and instructions and diagrams below to show you how to change out the BCM. Check out the diagrams (below). Please let us know what happens. There is no shame here, we all get through it the best we can :)
Aug 5, 2019 at 9:37 AM