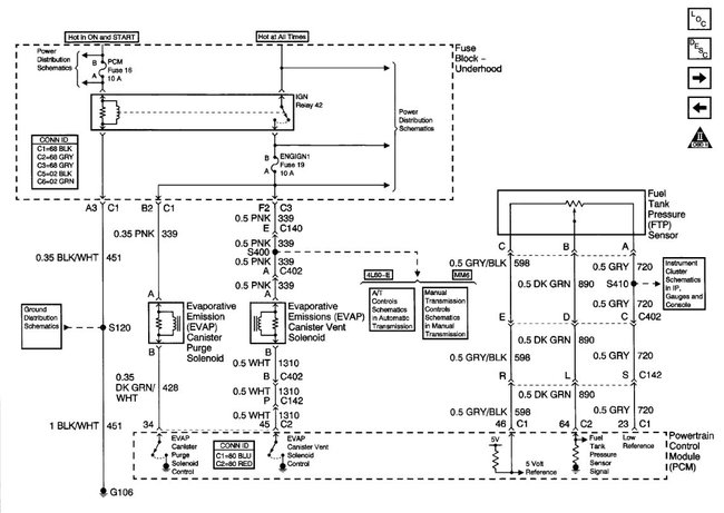
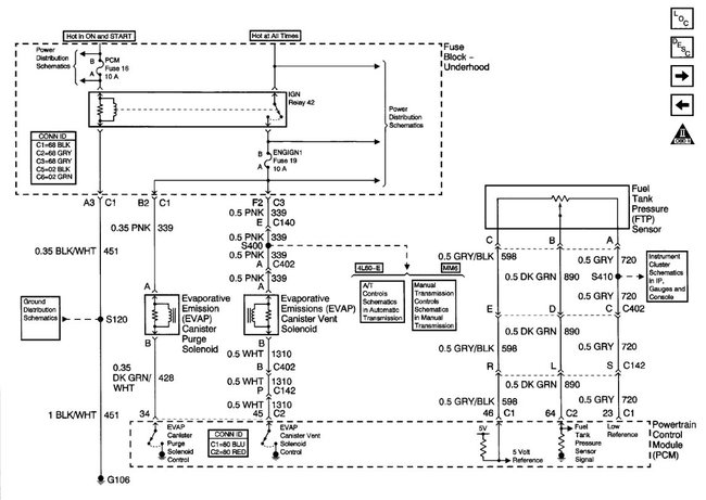
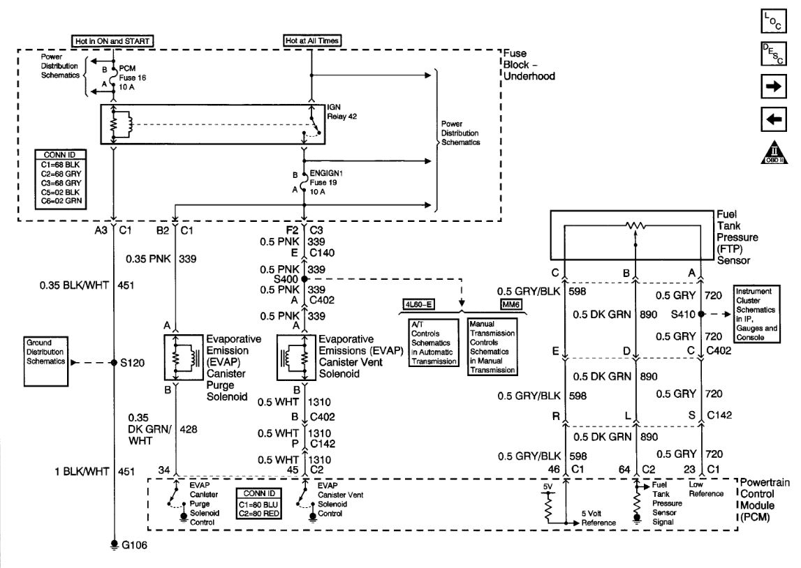
I know what problem is; the pressure sensor on driver side fuel tank is bad. Book does not even show it , but when I did evap test with scanner it’s shows it. took a while to diagnosis this problem, but now driver side fuel tank cannot be removed without doing damage. what I need is a wiring diagram of driver side pressure sensor to ECM, so I can relocate sensor to different location. I could not find one with my resources. factory manual did not even show to have one. I had to dig just to find pictures of it. If you could help that would be great.
Sep 26, 2020 at 9:13 AM



