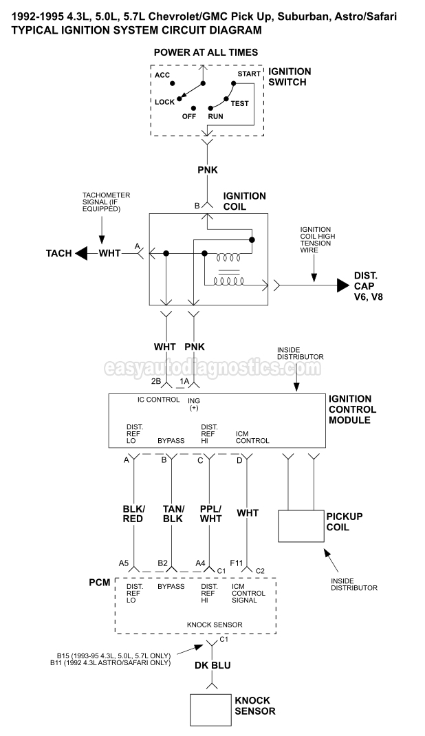
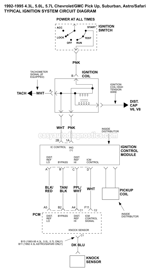
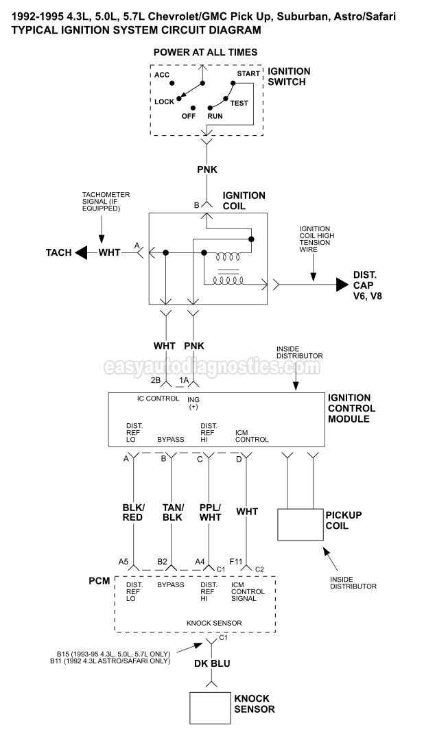
I drive the truck listed above k1500. My truck shut off on the road and threw a code 42. The engine will crank but i get no spark. I have replaced the ECM, the battery (which was dead), and every ignition component except for the distributor. A friend of mine thinks it is throwing a false code and i need to replace the distributor, but i want to get opinions from anyone i can before throwing more money at it.
Nov 30, 2019 at 3:00 PM












