Engine vacuum lines diagram needed?

2004 VOLKSWAGEN BEETLE
200,000 MILES • 2.0L • 4 CYL • 2WD • MANUAL
Avatar
GEEZEY1977
  • MEMBER
  • 1 POST
Looking for a diagram of the vacuum lines.
Aug 16, 2023 at 1:34 PM
Advertisement
Avatar
JACOBANDNICKOLAS
  • CERTIFIED EXPERT
  • 110,175 POSTS
Hi,

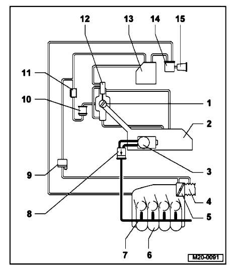
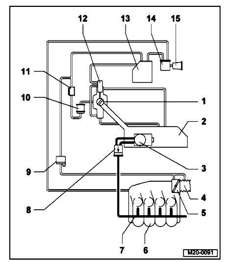
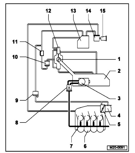
I was able to find a schematic for the vacuum system (EVAP). I attached it below. (See pic 1) Additionally, pic 2 below is the legend for the schematic. Take a look at it and let me know if it helps.

Also, here is a link you may find helpful, it explains how to locate and repair engine vacuum leaks:

https://www.2carpros.com/articles/how-to-use-an-engine-vacuum-gauge

Let me know if this helps.

Take care,

Joe

See pics below.
Aug 16, 2023 at 10:02 PM