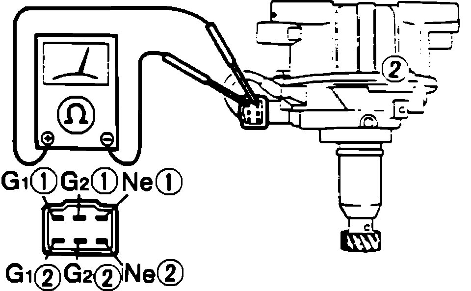
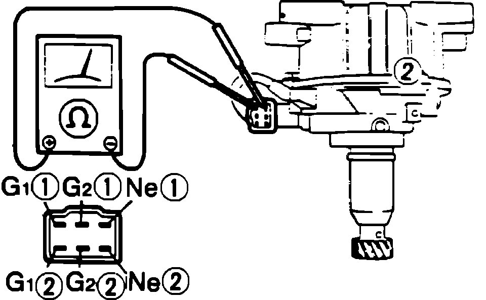
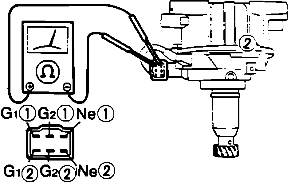
Hi, I was driving my car it started fluttering. I stopped once I switched it off it will not start. had it towed, at home I had a look at things. checked fuel that's okay, checked spark and there is none, i am not sure if it is the coil or distributor or the ECU. any Ideas would be appreciated.
Kind Regards.
Robert
Kind Regards.
Robert
Jan 16, 2019 at 5:31 AM


