engine light on

2011 TOYOTA RAV4
69,000 MILES • 2.5L • 4 CYL • 4WD • AUTOMATIC
Avatar
XD458812
  • MEMBER
  • 1 POST
Code p0776.
Jul 22, 2019 at 5:46 PM
Advertisement
Avatar
ASEMASTER6371
  • CERTIFIED EXPERT
  • 52,796 POSTS
Good evening,

The code has several possibilities. I attached a list below for you to view and if you want to do a diagnostic, you will need an advanced scan tool that can read live data from the transmission.

Roy

P0776
Descriptor
Automatic Transaxle System
Probable Causes
Automatic Transaxle Internal Malfunction
Engine Control Module (ECM)
Shift Solenoid Valve SL2
Shift Solenoid Valve SL2 Remains Open
Shift Solenoid Valve SL2 Remains Open or Closed
Valve Body is Blocked

Diagnostic

U140F AUTOMATIC TRANSAXLE: AUTOMATIC TRANSAXLE SYSTEM: P0776: Pressure Control Solenoid "B" Performance (Shift Solenoid Valve SL2)
P0776 - Pressure Control Solenoid "B" Performance (Shift Solenoid Valve SL2)

DESCRIPTION

The ECM uses signals from the output shaft speed sensor and input speed sensor to detect the actual gear position (1st, 2nd, 3rd or 4th gear).

Then the ECM compares the actual gear with the shift schedule in the ECM memory to detect mechanical problems of the shift solenoid valves, valve body or automatic transaxle (clutch, brake, gear, etc.).


image


MONITOR DESCRIPTION

This DTC indicates a stuck ON malfunction or stuck OFF malfunction of the shift solenoid valve SL2.

The ECM commands gear shifts by turning the shift solenoid valves ON/OFF. When the gear position commanded by the ECM and the actual gear position are not the same, the ECM illuminates the MIL and stores the DTC.

MONITOR STRATEGY


imageOpen In New TabZoom/Print


TYPICAL ENABLING CONDITIONS

All


imageOpen In New TabZoom/Print


OFF malfunction


imageOpen In New TabZoom/Print


ON malfunction


imageOpen In New TabZoom/Print


TYPICAL MALFUNCTION THRESHOLDS

Either condition is met: OFF malfunction or ON malfunction

2 detections are necessary per driving cycle:

1st detection: temporary flag ON

2nd detection: pending fault code ON

OFF malfunction


image


ON malfunction


image


INSPECTION PROCEDURE

NOTICE:
Perform the universal trip to clear permanent DTCs See: Automatic Transmission/Transaxle > Reading and Clearing Diagnostic Trouble Codes > DTC Check / Clear.

HINT
Performing Techstream's Active Test allows relay, VSV, actuator and other items to be operated without removing any parts. Performing the Active Test early in troubleshooting is one way to save time.

The Data List can be displayed during the Active Test.

1. Warm up the engine.

2. Turn the ignition switch off.

3. Connect Techstream to the DLC3.

4. Turn the ignition switch to ON and turn the Techstream on.

5. Enter the following menus: Powertrain / Engine and ECT / Active Test.

6. Follow the instructions on the Techstream and perform the Active Test.

HINT
While driving, the shift position can be forcibly changed with the Techstream.

Comparing the shift position commanded by the Active Test with the actual shift position enables you to confirm the problem See: Automatic Transmission/Transaxle > Initial Inspection and Diagnostic Overview > Fail-Safe Chart.


imageOpen In New TabZoom/Print


HINT
* This test can be conducted when the vehicle speed is 50 km/h (31 mph) or less.
* The shift position commanded by the ECM is shown in the Data List/Shift Status display on the Techstream.

PROCEDURE

1. CHECK OTHER DTC OUTPUT (IN ADDITION TO DTC P0776)

(a)Connect Techstream to the DLC3.

(b)Turn the ignition switch to ON and turn the Techstream on.

(c)Enter the following menus: Powertrain / Engine and ECT / Trouble Codes.

(d)Read the DTCs using the Techstream.

Result:


imageOpen In New TabZoom/Print


HINT
If any other codes besides P0776 are output, perform troubleshooting for those DTCs first.

B -- GO TO DTC CHART
A -- Continue to next step.

2. INSPECT SHIFT SOLENOID VALVE SL2

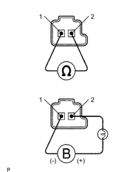
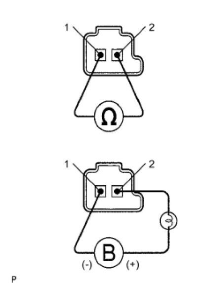
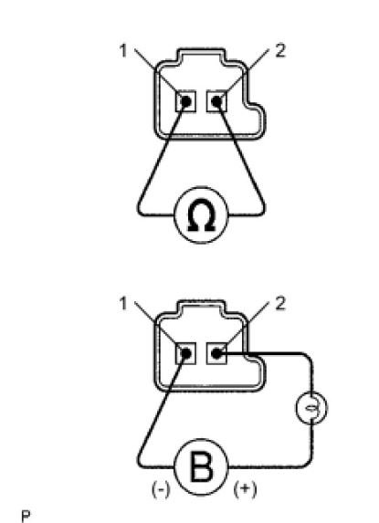
(a)Remove the shift solenoid valve SL2.


imageOpen In New TabZoom/Print


(b)Measure the resistance of the solenoid valve.

Standard resistance:

5.0 to 5.6 Ohms at 20°C (68°F)

(c)Connect the battery's positive (+) lead with a 21 W bulb to terminal 2 and the negative (-) lead to terminal 1 of the solenoid valve connector. Then check that the valve moves and makes an operating noise.

OK:

Valve moves and makes operating noise.

NG -- REPLACE SHIFT SOLENOID VALVE SL2
OK -- Continue to next step.

3. INSPECT TRANSMISSION VALVE BODY ASSEMBLY

(a)Check the transmission valve body assembly.

OK:

There are no foreign objects on each valve.

NG -- REPAIR TRANSMISSION VALVE BODY ASSEMBLY
OK -- Continue to next step.

4. INSPECT TORQUE CONVERTER CLUTCH ASSEMBLY

(a)Check the torque converter clutch assembly See: Torque Converter > Component Tests and General Diagnostics > Torque Converter and Drive Plate.

OK:

The torque converter clutch operates normally.

NG -- REPLACE TORQUE CONVERTER CLUTCH ASSEMBLY

OK -- REPAIR OR REPLACE AUTOMATIC TRANSAXLE ASSEMBLY
Jul 22, 2019 at 6:07 PM
Avatar
ASEMASTER6371
  • CERTIFIED EXPERT
  • 52,796 POSTS
Did you respond?

Nothing came up.

Roy
Aug 13, 2019 at 4:49 AM
Advertisement