Electric tailgate not working properly

2004 GMC ENVOY
110,000 MILES • 5.3L • V8 • 4WD • AUTOMATIC
Avatar
PAUL KREMER
  • MEMBER
  • 47 POSTS
Hi, cannot open gate with buttons and key, window goes down but not up, roof is not moving. Checked both locks, disconnect and connect again, when connect upper lock sound is coming, lower lock does not make sound. I connected lower lock on upper connector it makes sound, that means lower connector or wire has problem?
Jul 9, 2019 at 12:58 PM
Advertisement
Avatar
SCGRANTURISMO
  • CERTIFIED EXPERT
  • 4,897 POSTS
Hello,

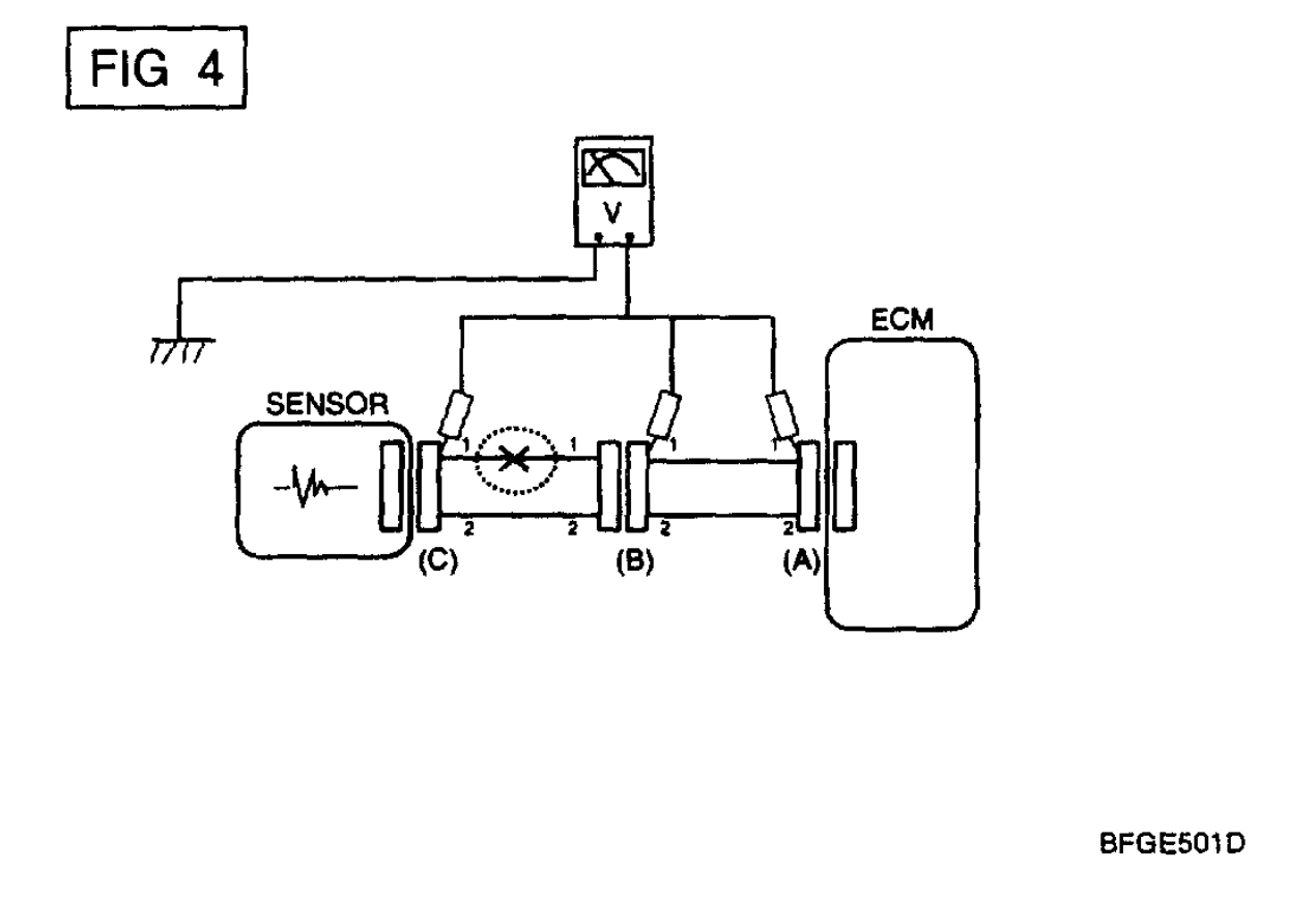
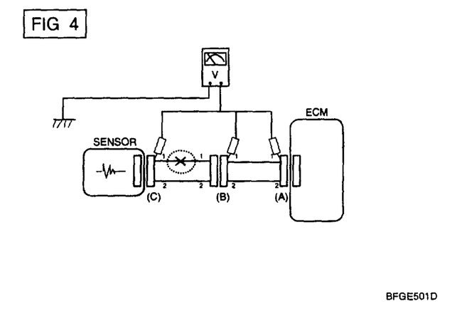
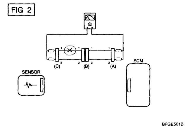
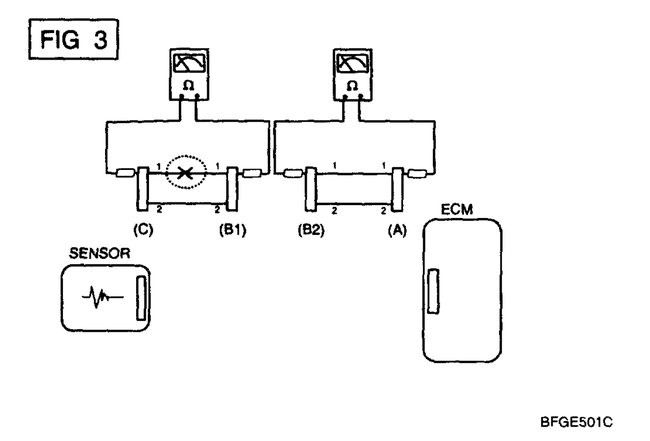
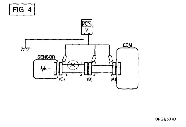
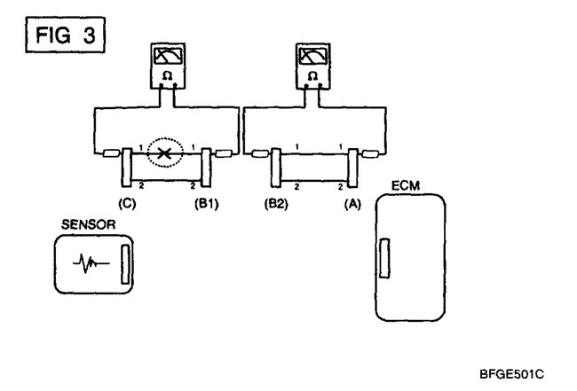
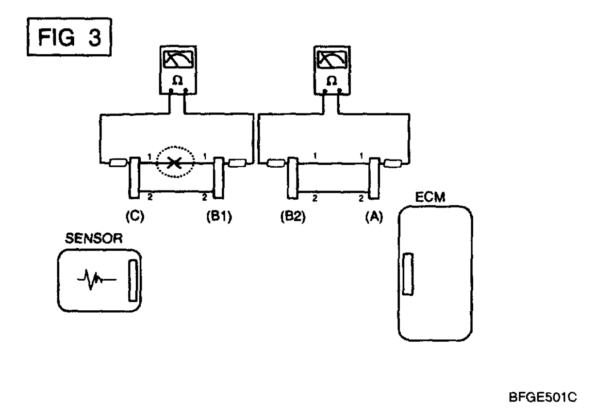
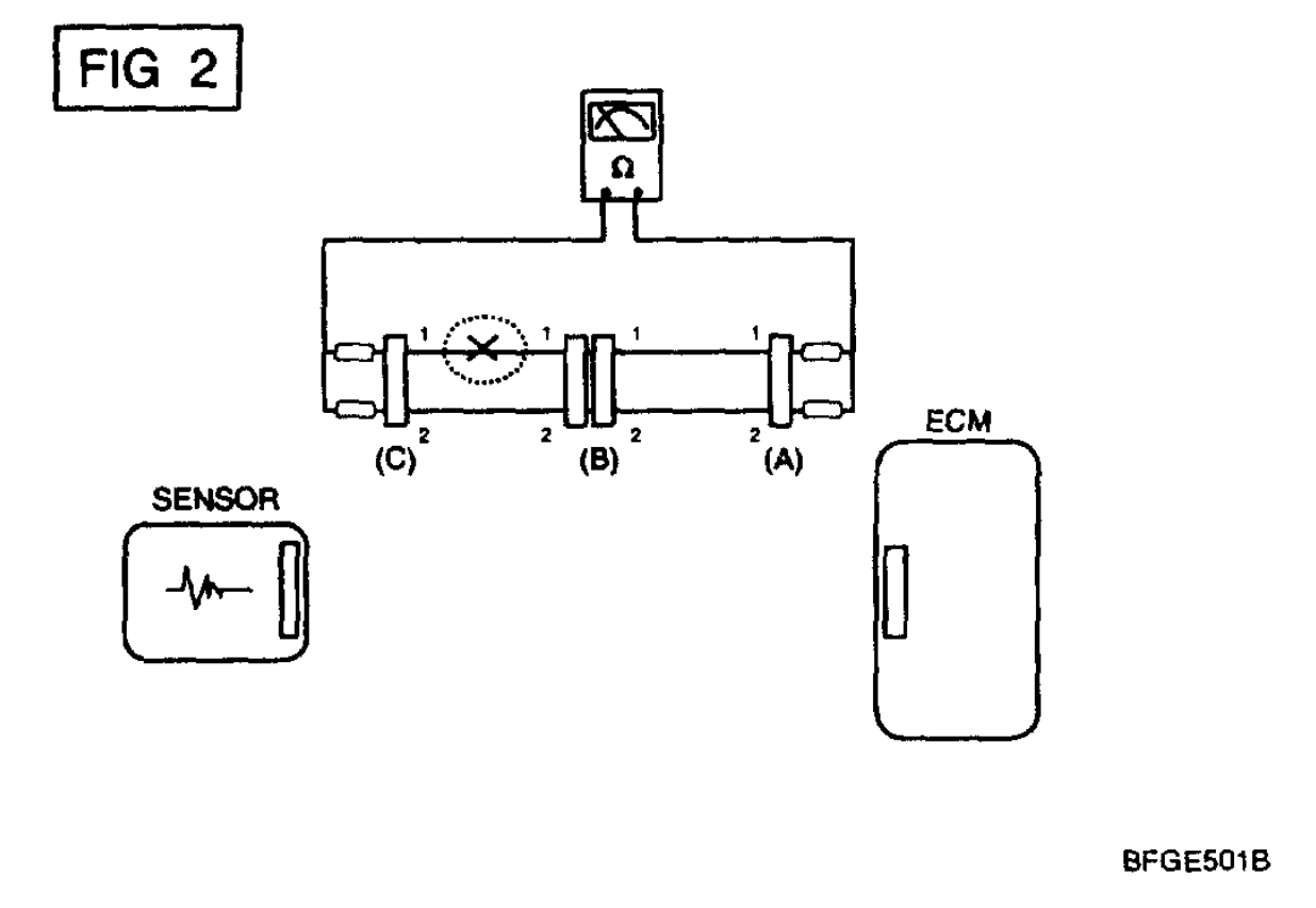
Yes it does. There is an open or high resistance somewhere in the circuit for the lower lock.In the diagrams down below I have included the wiring diagrams for the power locks as well as directions on how to find an open in an automotive electrical circuit. Please go through these guides and get back to us with what you are able to find out.

Thanks,
Alex
2CarPros
Jul 11, 2019 at 12:23 AM
Avatar
PAUL KREMER
  • MEMBER
  • 47 POSTS
Car is showing me always: Tailgate - See Manual. To reset Tailgate? I tried but maybe I did not right? Can you tell me how reset tailgate, please? Thanks
Jan 20, 2020 at 2:25 PM
Advertisement
Avatar
SCGRANTURISMO
  • CERTIFIED EXPERT
  • 4,897 POSTS
Hello,

I have included the information that you requested in the diagrams down below. PLease go through this guide and get back to us with how everything turns out.

Thanks,
Alex
2CarPros
Jan 20, 2020 at 8:59 PM
Avatar
PAUL KREMER
  • MEMBER
  • 47 POSTS
Hi Alex, when the car came from Canada to Germany and I came to pick it up battery was empty and tailgate window was down and roof oped. Guys helped me start the car. First i pushed overhead buttons to close roof and window, does not work. I tried with key cylinder, I closed roof and window but when I started car Window went down and since that stays down.
All parts are still same did not replaced.
I checked, cleaned and lubricated all contacts and latches.
Now the window goes down when I press the yellow button on the tailgate or I connect to the window motor but it never goes up.
I cannot relearn because the window stays always down, I can only push it up with my hands.
As I understand, empty battery has caused the problem.
Thanks for helping.
Jan 24, 2020 at 9:03 AM
Avatar
SCGRANTURISMO
  • CERTIFIED EXPERT
  • 4,897 POSTS
Hello again,

In the diagrams down below I have included the wiring diagram for your vehicle's endgate circuit, guides on how to find an open in an automotive circuit, and how to find unwanted resistance via the voltage drop method. You will need to be able to use a Digital Multi-meter [DMM] to go through these guides, so here is a link below explaining how to use one, if needed:

https://www.2carpros.com/articles/how-to-use-a-voltmeter

Please go through these guides and get back to us with what you are able to find out.

Thanks,
Alex
2CarPros
Jan 24, 2020 at 11:21 AM
Avatar
PAUL KREMER
  • MEMBER
  • 47 POSTS
my DMM looks different?
Jan 28, 2020 at 9:39 AM
Avatar
SCGRANTURISMO
  • CERTIFIED EXPERT
  • 4,897 POSTS
Hello again,

That's okay. Most look like this, or a variation of that. Set the dial to DC volts, the one with a straight line on top with three dots underneath. Set it at the 20 setting and that will work for any voltage that you may need to measure.

Thanks,
Alex
2CarPros
Jan 28, 2020 at 8:18 PM
Avatar
PAUL KREMER
  • MEMBER
  • 47 POSTS
Hi everyone, after long time I started again with tailgate, endgate. Now I know when the battery lost power you will get problem with some stuff and you have to relearn it. Like car manual says, I tried but not helping because window goes down but will not go up. Manual says: (move your key to 2 but do not start engine) push button to close window and when it is closed hold 2 seconds more than the computer can see the closed position and after push button to open the window and again hold button 2 seconds longer to get set the lower position. Because my tailgate window not closing, I disconnected window motor (because the motor gear is holding the window), closed tailgate and pushed window up by hand until it is fully closed (on that step I do not know if I connected back the window motor or not, maybe yes, you have to try) and hold close button 2 seconds, after hold open button and when it is fully open hold 2 seconds longer. That is it, now is all working.
Thanks to all.
Wish you good luck.
With best wishes,
Paul from Germany
PS: I recorded some work and posted it on YouTube, Pa Krem, GMC Envoy XUV, but I speak Russian there.
Jan 23, 2021 at 5:52 AM
Avatar
STRAILER
  • CERTIFIED EXPERT
  • 53,854 POSTS
Glad you could get it fixed, that kind of problem can be tough. Please use 2CarPros anytime we are here to help.
Jan 25, 2021 at 8:06 PM