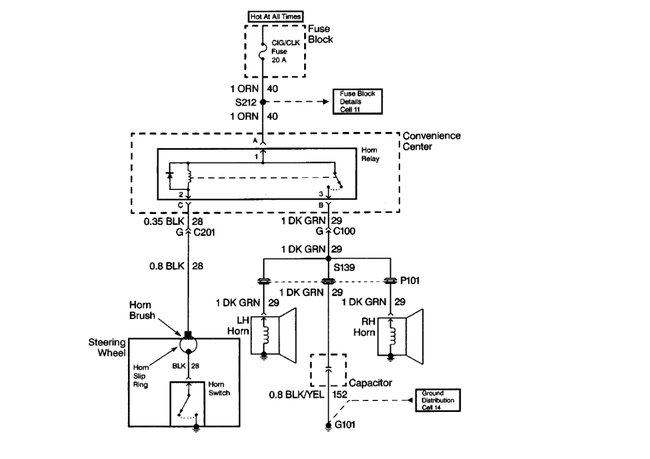
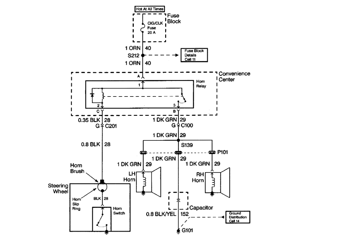
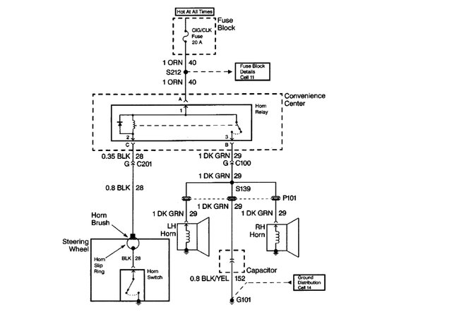
Can anyone explain the "Pxxx" symbols and the "Axxx" symbols in the wiring diagrams?
Nov 27, 2019 at 1:17 PM
Advertisement
SCGRANTURISMO
CERTIFIED EXPERT
4,897 POSTS
Hello,
I'm not sure exactly what you mean by this but in the diagrams down below I have included a description of electrical symbols and how to read a wiring diagram for you. Please go through these diagrams and let us know if you have any other questions. I hope that this helps.