You're forcing me to tax my memory now. I worked at the Chrysler dealership from late '89 through mid '99. At that time all we had were the paper manuals. With ten mechanics in the shop, and roughly 300 manuals on the shelves, it was very unlikely two people would ever need the same book at the same time. You could carry them to the car too. Later they went to everything online, but just one computer that everyone had to wait their turn on. They also went through reams of paper every week since you couldn't tear the monitor off the wall and carry it to the car. You were expected to print everything you might need, use it, throw it away, then print it again the next time. Their district rep told us to keep everything we printed so we'd have it right at hand next time. My reply was "that's what they used to do for us. It was called a book".
Here today we use "AllData". That's an online service that shops pay over $1000,00 / year to rent. That gets them access for one year. You can buy a subscription for just your one vehicle for, as I recall, $27.00 for a year or around $48.00 for five years. They used to have Chrysler's diagrams copied right out of the service manuals, but those went away too in later years. They also offer their own version of diagrams that do have some advantages, but once you become familiar with reading those from Chrysler, I really really prefer them.
Around the mid 2000s, Chrysler started making their service information available on DVD. I only used one once at a friend's shop, and it was horrible. There were well over 1,100 pages, it took forever to scroll through them, and you still needed paper and pencil to write down all the page numbers that you had to constantly switch between. With paper, I can write notes, put in bookmarks, and look at multiple pages at once. If you have a choice, my preference is to find the exact manual on eBay. There used to be a seller by the name of LorieandJeff who go to dealer auctions all over the country, then resell their special tools and manuals. I bought over 50 Ford Electrical manuals from them for my school. Later they changed their name to "Blackhatauctions". I met one of their buyers many years ago in Escanaba, MI at a Ford dealer auction.
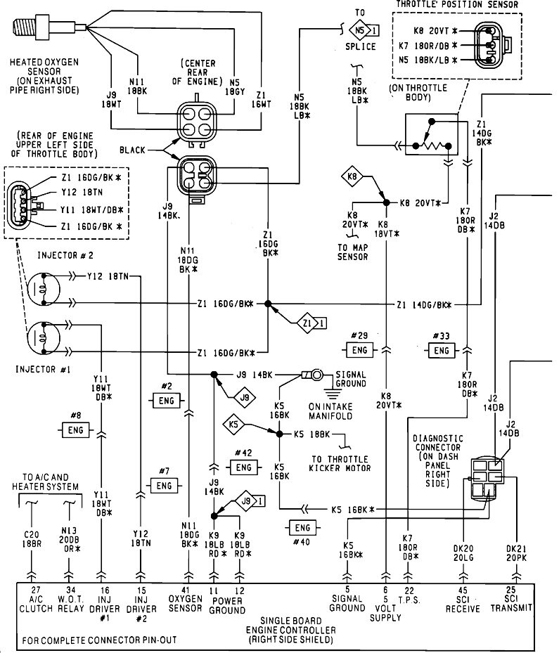
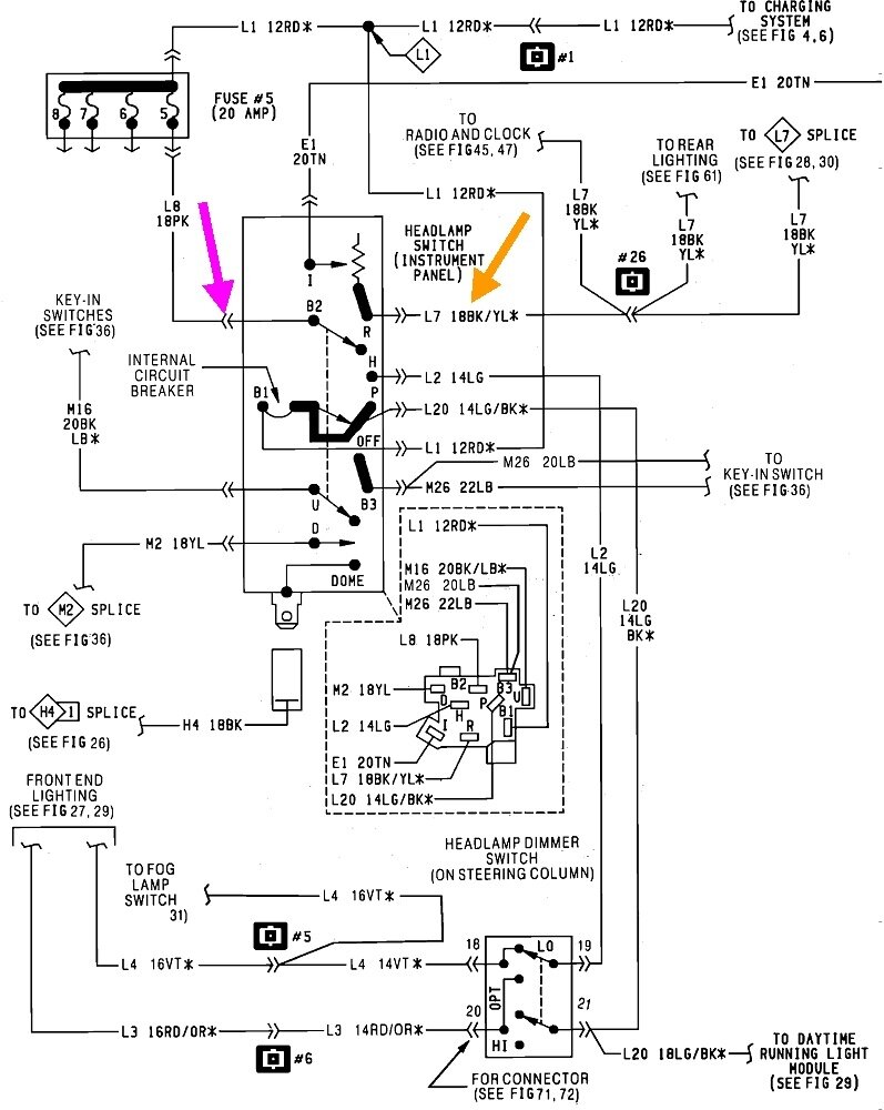
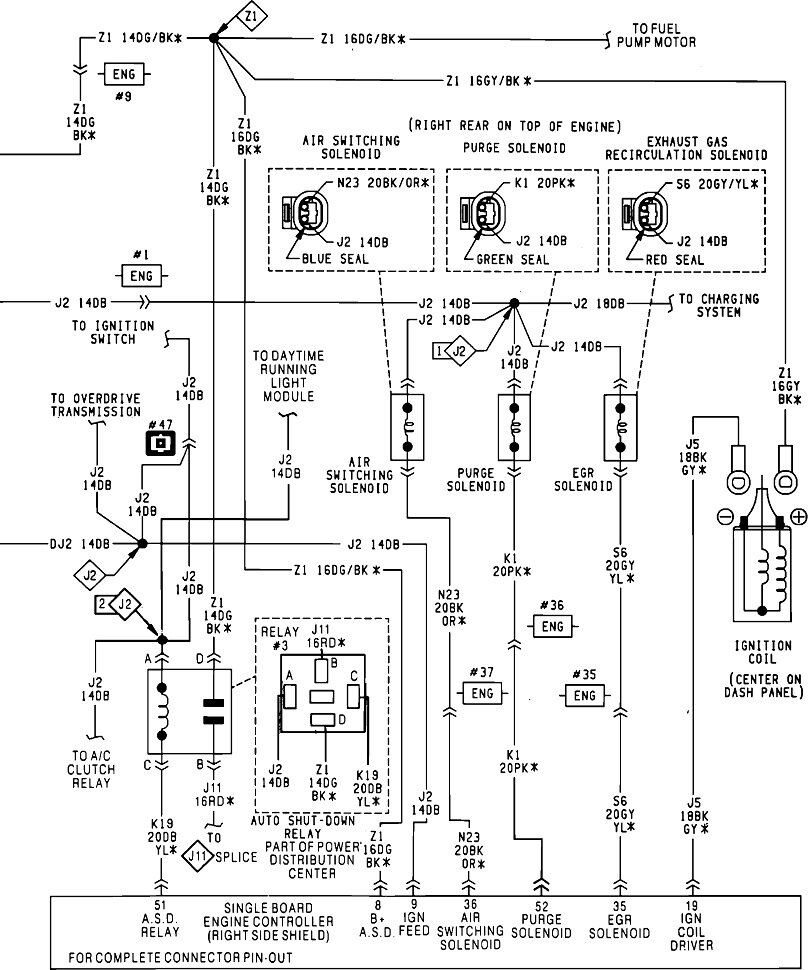
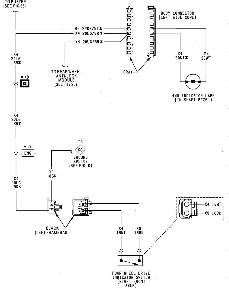
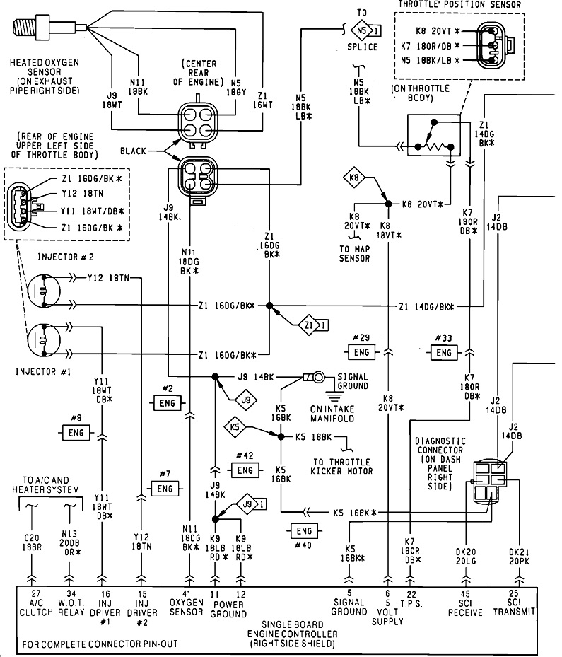
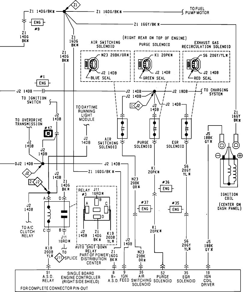
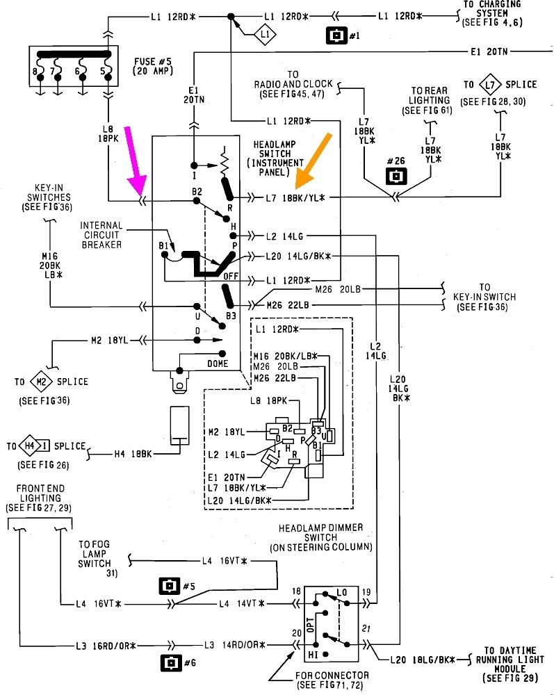
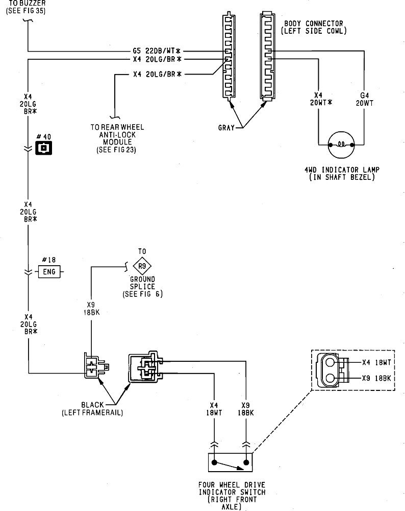
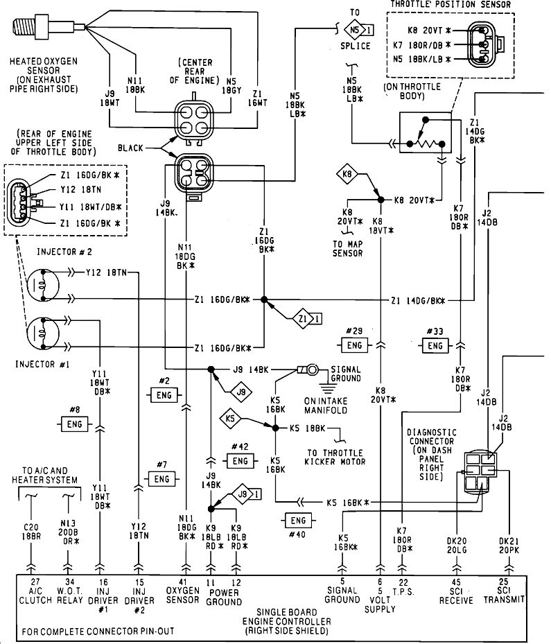
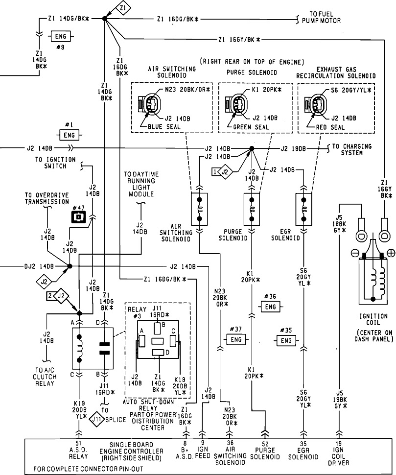
When these manuals were new in the '90s, they cost $93.00, but when the model was five years old, the price dropped to $53.00. That got you one, two, and sometimes three books. There are also dozens of smaller books for diagnosing things like ABS, Air Bags, and Engine Performance. They provide wire by wire tests with pictures to show each wire in its connector, and what to expect for voltages and resistances. Many of the tests are written around their DRB2 scanner, but you can usually work around that with a volt / ohm meter. You can find those scanners on Ebay too. They work on up to '95 models, but they require a plug-in cartridge. I can go into more detail on that if necessary. The easiest is to look for a cartridge with a yellow label to match the color of the '94 service manual covers. '95 models use the same '94 cartridge. That one cartridge covers everything all the previous individual cartridges were needed for. I have one of those scanners. I also have their newer DRB3. Those work directly on '96 and newer, or '98 and newer models, depending on the year the scanner was built, but with extra plug-in cartridges, it will work all the way back to '83 models. That DRB3 went obsolete on 2004 Dakotas and Durangos. The last year it worked on was some 2008 Jeep models.
There's one thing you absolutely must have the DRB2 for. That's Dakota anti-lock brakes. I don't think those showed up until a few years later, but if you have that, the diagnostic fault code can not be erased with any aftermarket scanner I'm aware of, or by disconnecting a battery cable.
When you look at DRB2 scanners for sale, there are two different cables for it. The plug on
the Engine cable looks like a square with a notch cut out of one corner. A different six-pin smaller plug / cable is used for everything else. The engine connector is under the hood, usually toward the windshield. The smaller one is under the dash or center console and is blue.
If you've never used a scanner before, you're in for a treat. That's another story I can expand on if it comes to that.
Apr 14, 2023 at 8:53 PM