Wipers not working

2005 CHEVROLET SILVERADO
179,000 MILES • 5.3L • V8 • 2WD • AUTOMATIC
Avatar
  • MEMBER
  • 2 POSTS
I have the truck listed above 1500 model. My Wiper blades does not work. My dome light is dim. When ever I apply the brakes my dome light goes out, the instrument cluster goes out, the cigarette outlet stops working. Thanks in advance for any help.
Mar 14, 2018 at 2:02 PM
Advertisement
Avatar
MIKE H R
  • CERTIFIED EXPERT
  • 3,094 POSTS
Check the fuses, sounds like a ground problem. you can try a jumper wire from the chassis to the ground of the vehicle, this might not be on the inside of the vehicle. check the ground wires from the fenders to the frame and body. As I said to check is run a ground wire from the negative side of the battery to the frame , engine and under the dash. If there is a good battery you should see where the problem might be.
Mar 15, 2018 at 9:28 AM
Avatar
STRAILER
  • CERTIFIED EXPERT
  • 53,854 POSTS
Hello,

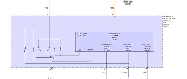
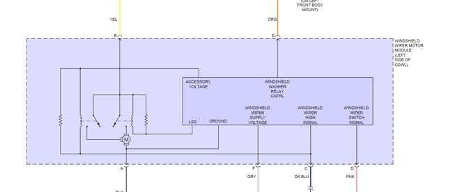
Any water damage, flood for this truck? It sounds like you have a BCM that is out. Here is the location and wiring diagram so you can see how the system works and test the wiring before replacing the BCM which will need to be programmed in:

https://www.2carpros.com/articles/how-to-check-wiring

Check out the diagrams (below).

Let us know what happens and please upload pictures or videos of the problem.

Cheers, Ken
Mar 15, 2018 at 1:14 PM
Advertisement
Avatar
LOUCORNERS
  • MEMBER
  • 1 POST
V8 two wheel drive automatic 139,750 miles.

I took my truck in for air conditioning service and it turned out to be a bad evaporator core. When the mechanic put my truck together, I noticed the windshield wipers no longer work. Everything else on that part works, ie. Cruise control, high beam lights. I took down the front part of the dashboard to see maybe a connection was not made but I could not find any connectors. Maybe the Windshield wiper connector is way up inside the back? Fuse looks good.

Thank you.
Mar 15, 2018 at 4:10 PM (Merged)
Avatar
JACOBANDNICKOLAS
  • CERTIFIED EXPERT
  • 110,175 POSTS
Have you checked to see if there is power to the motor?
Mar 15, 2018 at 4:10 PM (Merged)
Avatar
UWMAD
  • MEMBER
  • 1 POST
We got a pretty nasty snow storm here in Chicago today and when i was moving my truck out of the driveway, the wipers worked and I put the truck in the street to clean the driveway. When I finished, I went to pull the truck in and the wipers do not work now. I checked the fuse in the cab and it was fine. The washer fluid still works. I know there is a fuse on the motor that trips when there is a heavy load or something and resets when cools down? It has been about a half day now and still does not work. Does this sound like a motor problem or the module? I think the wipers might have been frozen to the window when they were working but after I unfroze them, they were working. Not sure why they would stop working all of a sudden?
Thanks,
Bart
Mar 15, 2018 at 4:10 PM (Merged)
Avatar
JDL
  • CERTIFIED EXPERT
  • 16,098 POSTS
Sorry for the late reply. Note the diagram, yellow wire is voltage for motor, black wire is ground. I cannot rule out the wiper switch itself.
Mar 15, 2018 at 4:10 PM (Merged)
Avatar
CLEAVITTT
  • MEMBER
  • 1 POST
Four wheel drive automatic 127,000 miles.

Windshield wiper works only on high will not work intermittently. Will not pump windshield wiper fluid?
Mar 15, 2018 at 4:10 PM (Merged)
Avatar
BUDDYCRAIGG
  • CERTIFIED EXPERT
  • 2,262 POSTS
I seem to recall working on one that was doing strange stuff and the pump motor was bad.

The wiper motor circuit board needed the ground to the pump motor to function correctly.

so check that.

and you did not say if the wipes work on the standard low setting?
Mar 15, 2018 at 4:10 PM (Merged)
Avatar
KIRKRAY
  • MEMBER
  • 1 POST
V8 two wheel drive automatic 145,000 miles.

My windshield wiper has gone out only on the drivers side. At first it over extended and get stuck on the windsheild frame. Now it has stopped working completely. The passenger wiper works just fine. Is the wiper motor my problem or is it the wiper transmission? if so is either hard to repair?
Mar 15, 2018 at 4:10 PM (Merged)
Avatar
QUAGMIRE86
  • CERTIFIED EXPERT
  • 98 POSTS
It sounds like a wiper-arm linkage problem. Check the linkage for any broken pivot points and check to see that the arm did not just come off of the stud/boss. If the other wiper is okay, it is not your motor. There is only one motor that controls both wipers through a linkage system.
Mar 15, 2018 at 4:10 PM (Merged)
Avatar
  • MEMBER
  • 2 POSTS
Thanks to all those that reply. On the passenger side there is a panel on the right side of the dash board that you can pull out. Theres a whole bunch of connectors, One was loose, and reconnected no more problems. I hope this helps out the next person.
Mar 19, 2018 at 2:04 PM
Avatar
STRAILER
  • CERTIFIED EXPERT
  • 53,854 POSTS
Great addition to this thread! Please feel free to help out whenever you are on the site :)

Cheers, Ken
Mar 20, 2018 at 4:05 PM