Radio stays on

2004 OLDSMOBILE ALERO
200,000 MILES • 2.2L • 4 CYL • 2WD • AUTOMATIC
Avatar
ANNIEBNUTZ
  • MEMBER
  • 14 POSTS
radio stays on when the key is out of the ignition.
Mar 3, 2020 at 9:14 AM
Advertisement
Avatar
SCGRANTURISMO
  • CERTIFIED EXPERT
  • 4,897 POSTS
Hello,

This sounds like you have a short to power in the wire that supplies power to the radio. In the diagrams down below I have included the wiring diagram for your radio as well as a guide on how to find a short to power in an automotive electrical circuit. I have highlighted the wire in the wiring diagram that you need to check for you. Please go through these guides and get back to us with what you are able to find out.

Thanks,
Alex
2CarPros
Mar 3, 2020 at 9:40 AM
Avatar
ANNIEBNUTZ
  • MEMBER
  • 14 POSTS
First of all thank you for your timely response regarding my issues. before i start working on this, i need to add that when the car is parked, the key with no fob in my hand and 20 ft away from the car, the horn chirps, and car locks. and the radio will be off when i'm out of the car, doors locked and 10 minutes to hours later the radio is blaring. i have exorcised my car many times-"the power of Christ compels you"! maybe another chant. i have to make myself laugh. usually at myself. but i live in a very small town....blah, blah, blah. sorry to run on. i'll post what i figure out. again thanks!
Mar 4, 2020 at 6:00 AM
Advertisement
Avatar
SCGRANTURISMO
  • CERTIFIED EXPERT
  • 4,897 POSTS
Hello again,

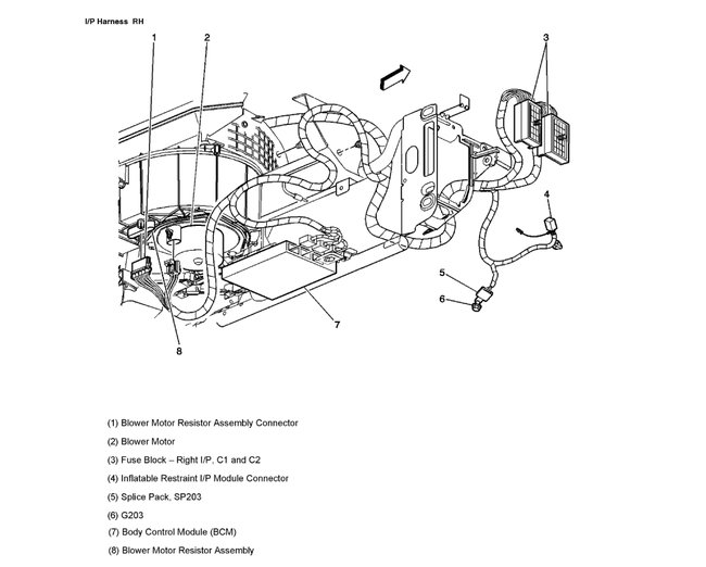
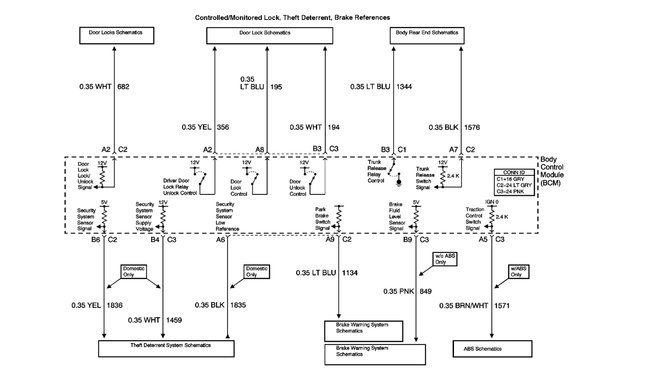
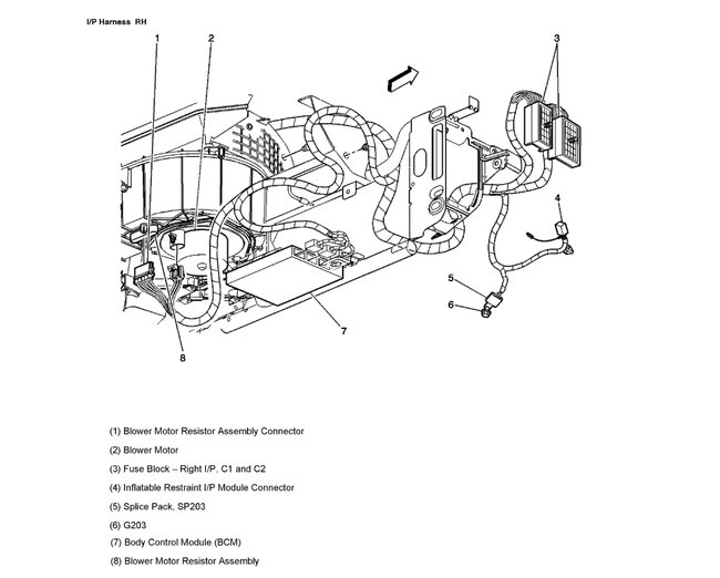
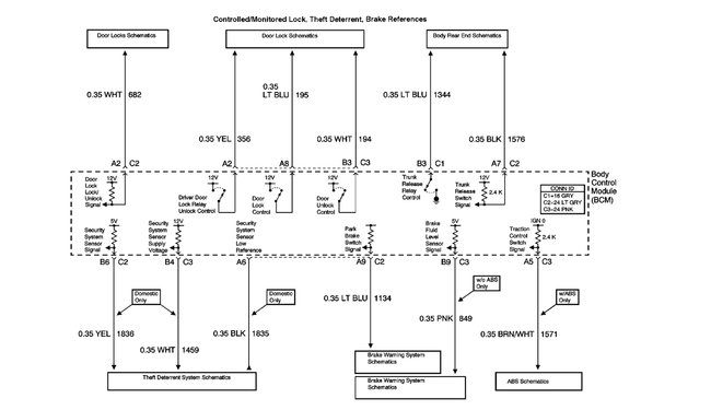
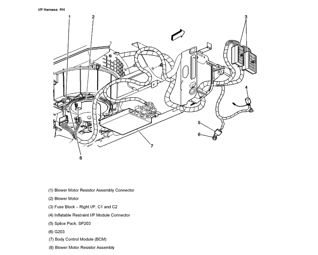
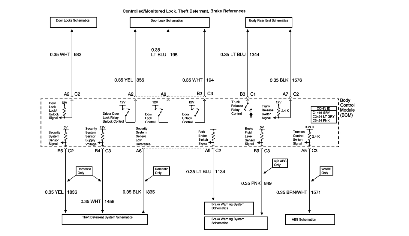
Okay, now that you have told me that, let's go about this differently. This definitely sounds like a problem with your vehicle's Body Control Module[BCM]. Let's start by checking the BCM ground, Ground 202 which is on the left side of the dash by the fuse block. Make sure that it is clean, tight, corrosion free, and making good metal to metal contact. In the diagrams down below I have included a diagram of the location of the BCM, and the BCM wiring diagrams for you for reference. Please start by checking ground 202 and getting back to us with what you find out.

Thanks,
Alex
2CarPros
Mar 4, 2020 at 6:13 AM