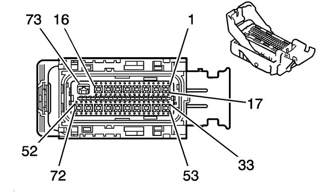
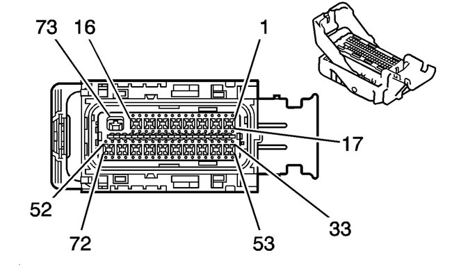
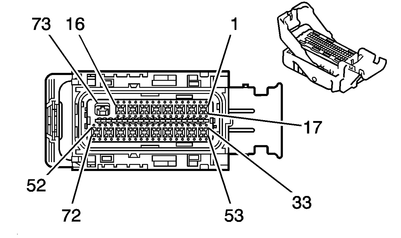
2 pins on my ECM are bad. how do I find out exactly what each wire going to connector is for and color. We bought a new connector and replacing pins as well as ECM, but we want to make sure to wires that were burned at the pins have no shorts before connecting ECM and having it happen again, I cannot find any diagram anywhere for pins.
May 30, 2023 at 8:04 AM





