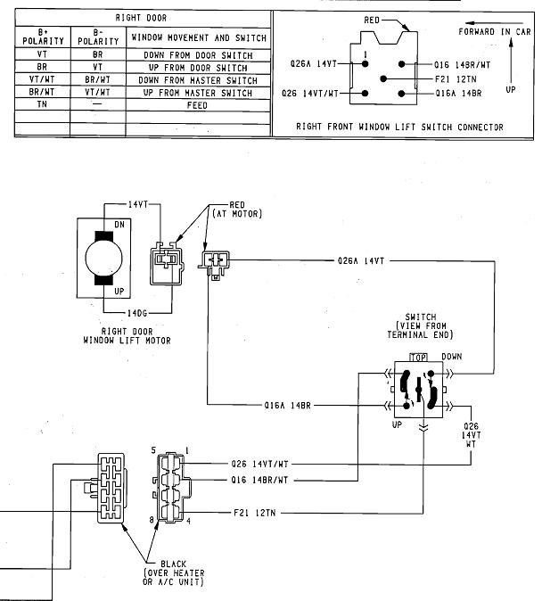
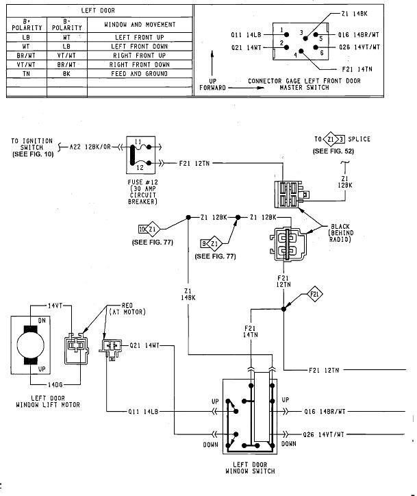
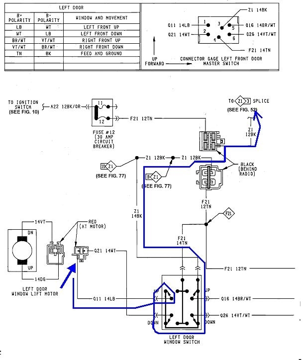
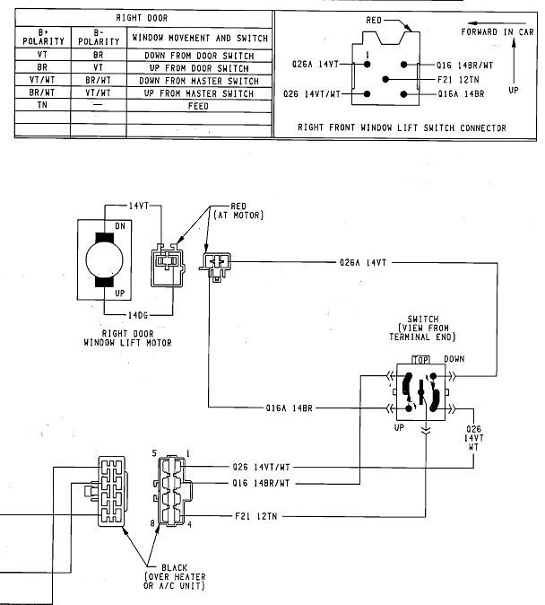
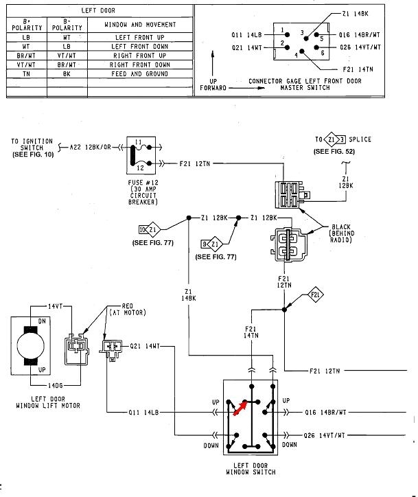
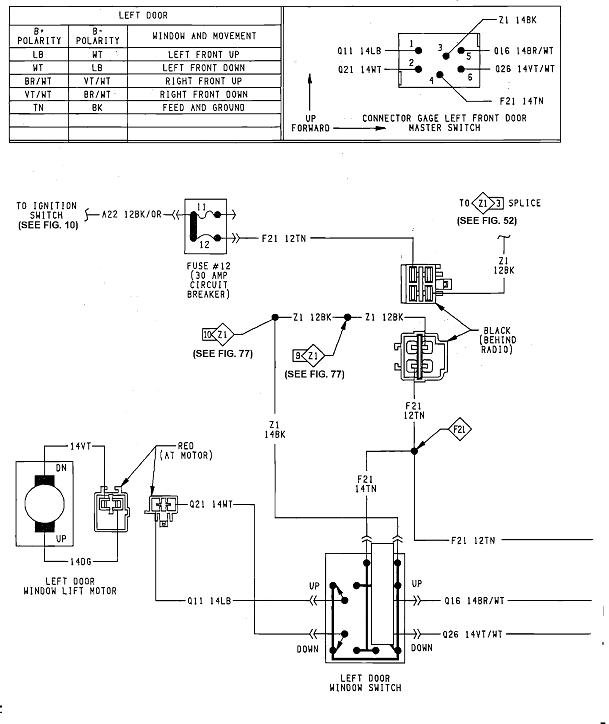
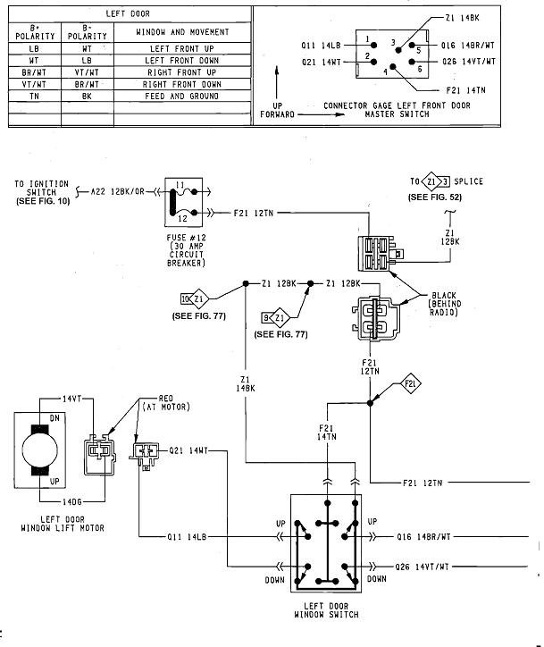
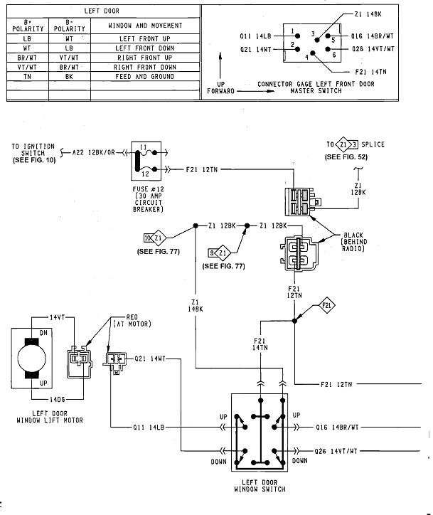
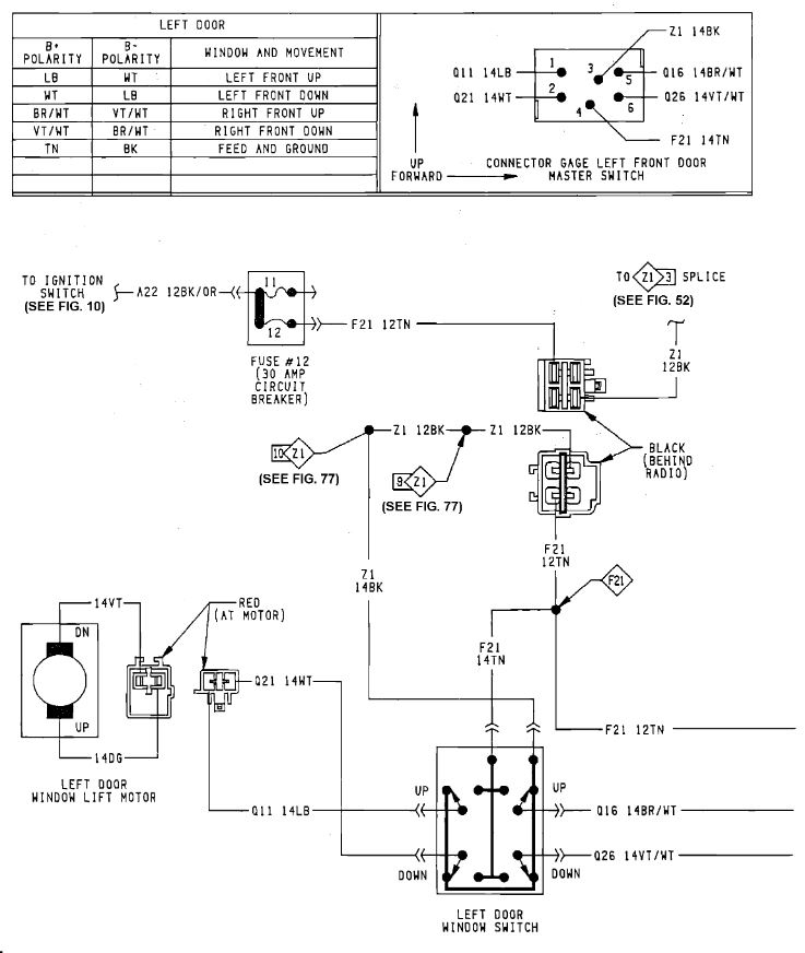
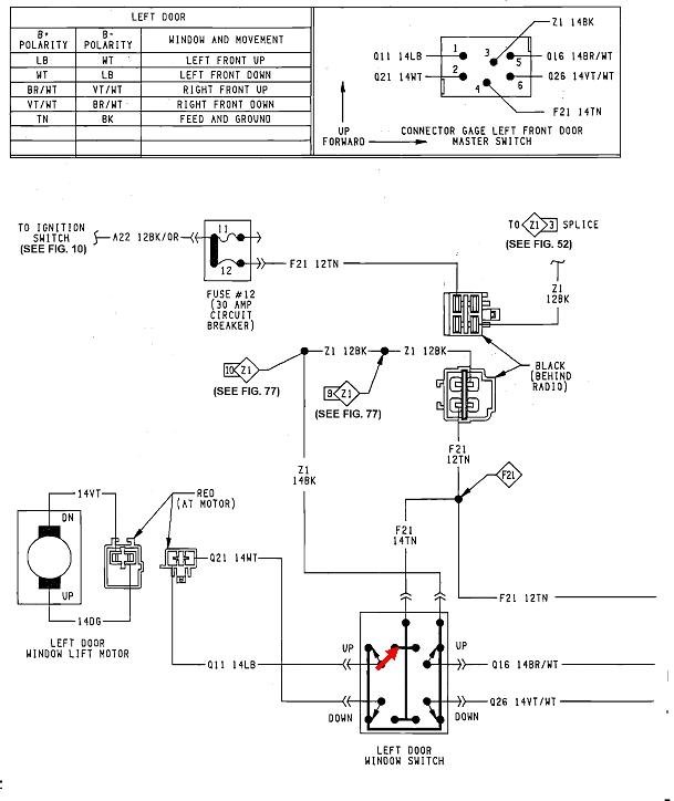
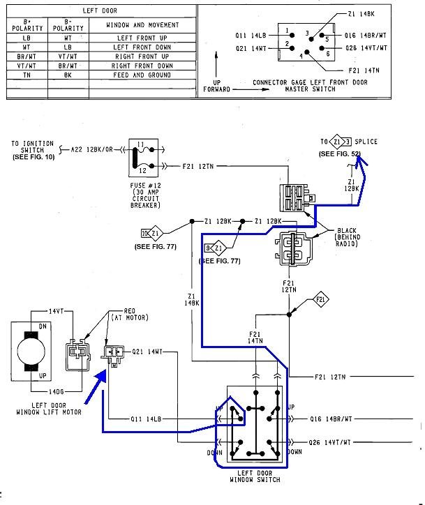
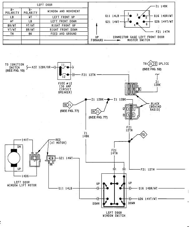
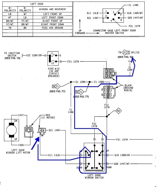
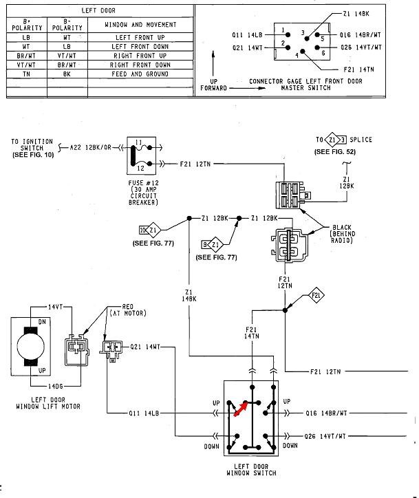
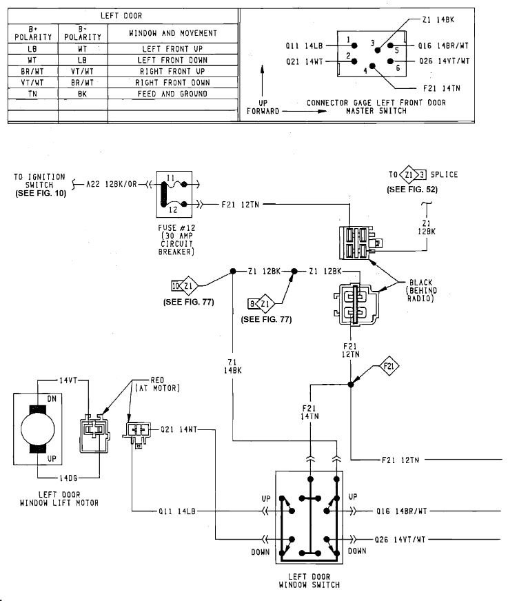
Okay; lets try this again. The first two are of the entire power window system.
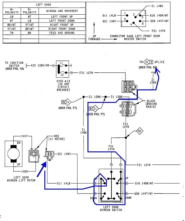
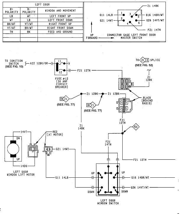
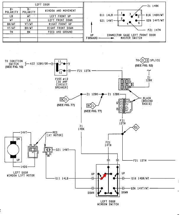
The third diagram just shows that if you get all the way down to the motor, there's two quick continuity checks you can do that may verify the switch and wiring are okay. You'll want to unplug the motor, otherwise you'll be able to read through the motor, then to ground on both of the wires. If one is open, you won't catch that because the meter will be reading through the motor, then to ground on the other wire. In this case, the blue arrow is pointing to the light blue wire in the motor's plug, and if you follow the blue line, it goes to the upper left switch, which is released, through that one, then onto the ground wire that ends under the dash. If you were to follow the white wire the same way, you'd see it goes through the released lower left switch, then onto the same ground circuit. To say that a simpler way, both motor wires should have continuity to ground as long as the switch is plugged in and those two sets of contacts are good. The reason I said this "may" show those circuits are okay is because if one of those contacts is arced or burned just a little, or if the ground wire is 99 percent broken, but just one single strand remains intact, you'll get a good reading. Those things will prevent sufficient current from passing to run the motor, so voltage tests in a completely connected circuit are more trustworthy than continuity tests.
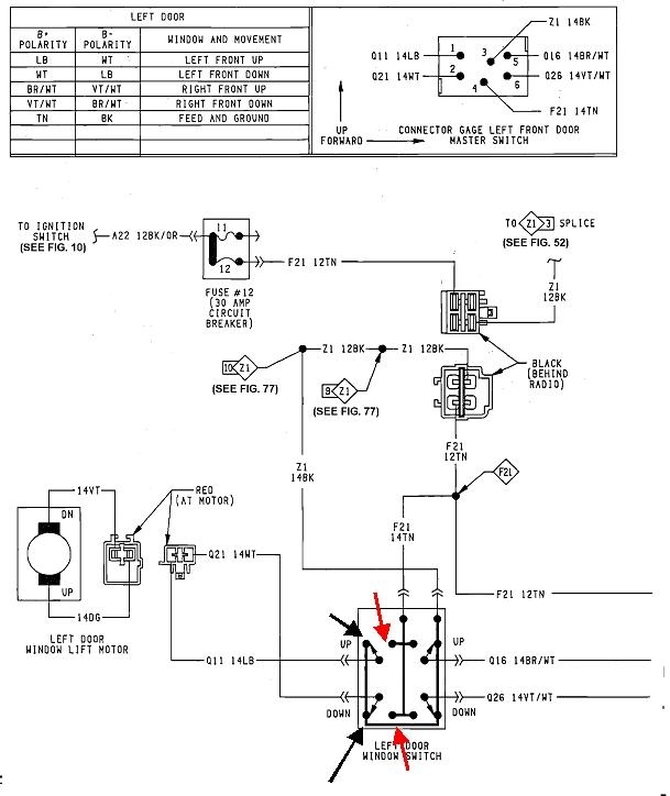
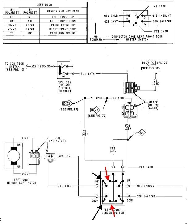
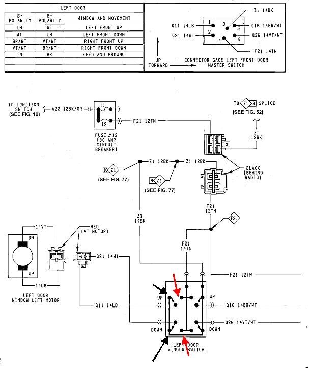
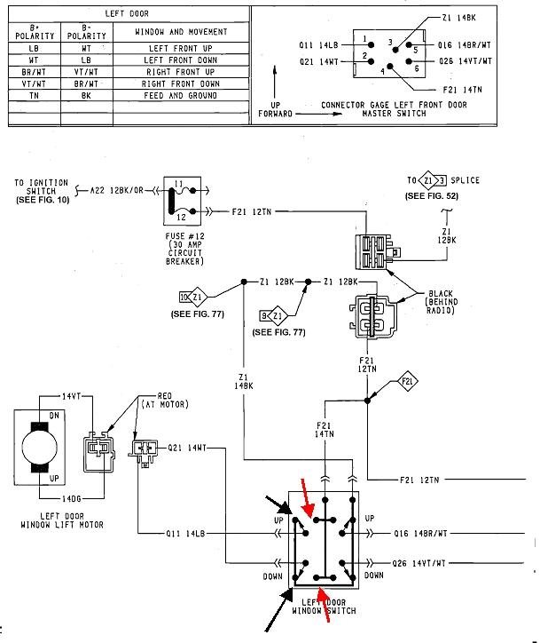
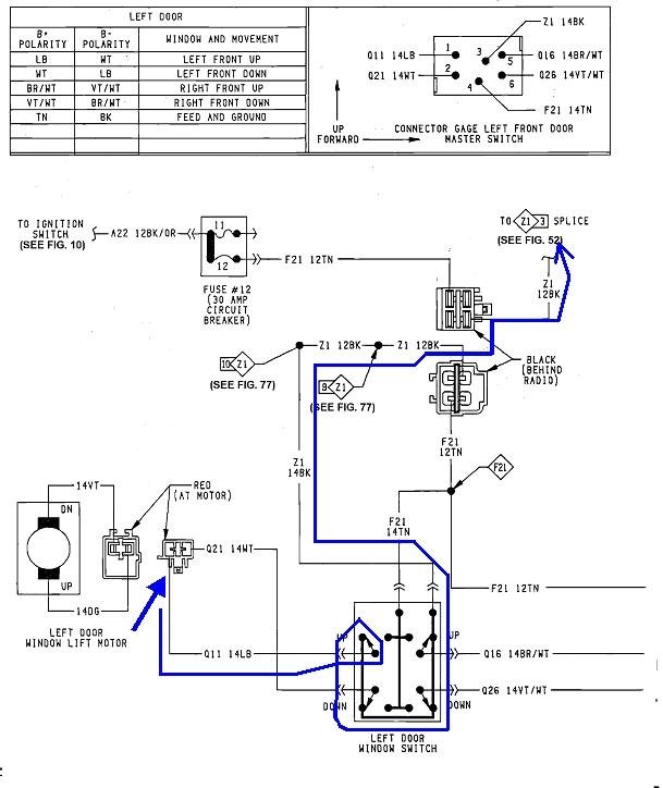
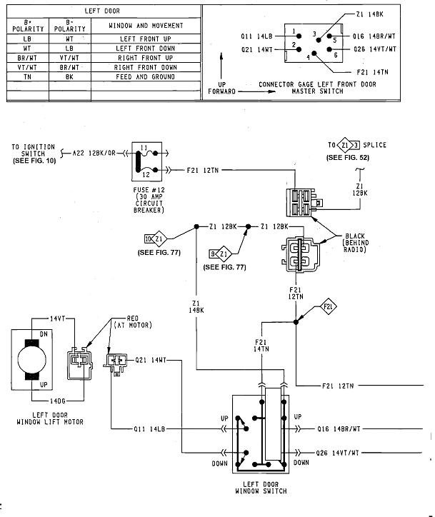
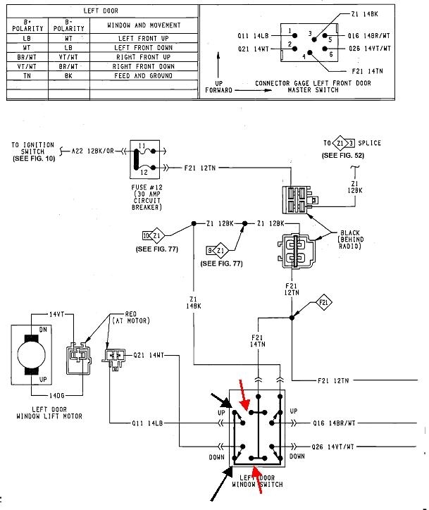
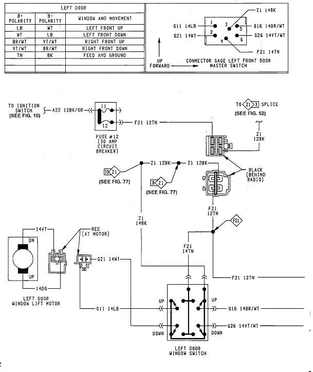
In the fourth diagram, I just blanked out the part of the driver's switch that is for the passenger window, to lessen the confusion. What's left on the left side of the switch assembly is all for the driver's window.
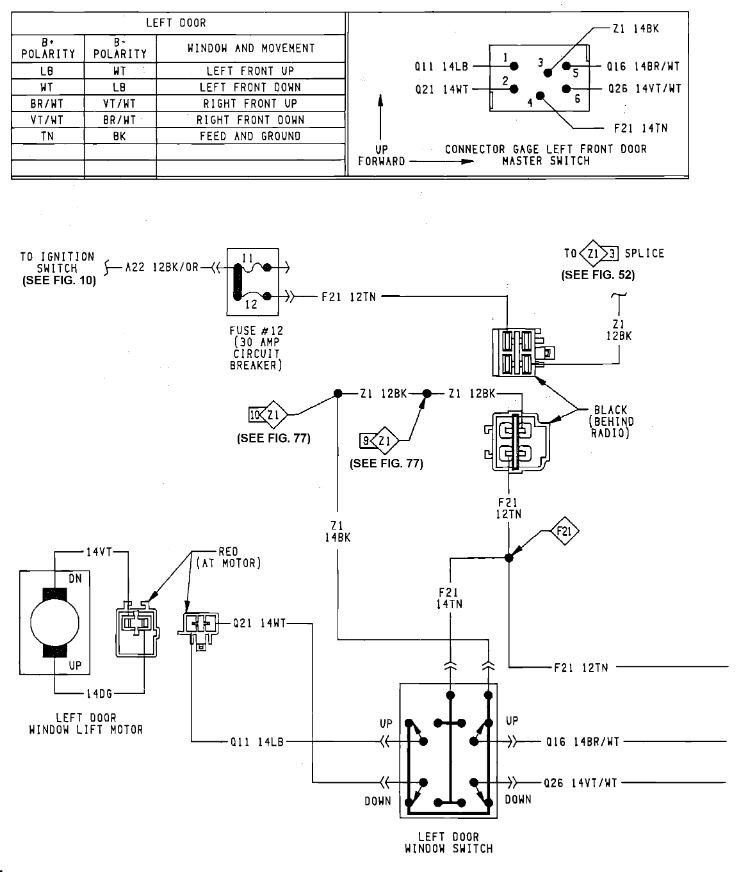
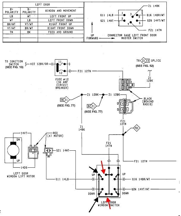
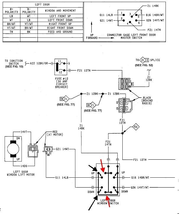
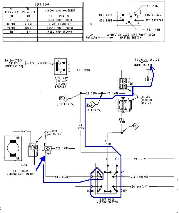
The fun starts in the fifth diagram. If you look closely at the top left switch, that one is pressed in the "up" direction. The movable contact has moved away from the ground terminal where it was at rest, then moved over to the 12 volt contact. 12 volts is applied to one motor terminal, and the other one is still grounded through the released lower left contact. When you press "down", the top contact stays grounded, and 12 volts is applied to the lower motor terminal, so the motor runs the other way. Power locks and power mirrors work the same way. The switch changes the polarity of the voltage applied to the motor.
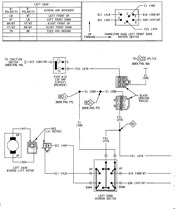
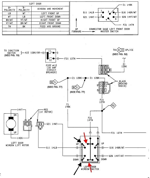
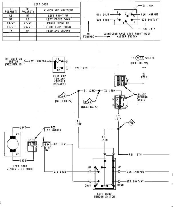
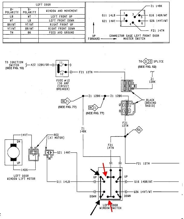
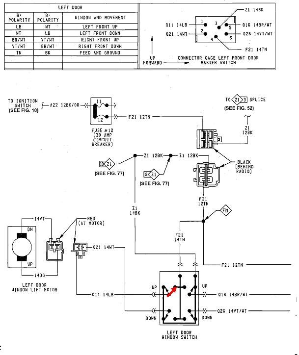
I added the sixth diagram to just show that there's actually four sets of contacts in the switch, and if one of those ground contacts is burned, it will prevent the circuit from working one way. This becomes more important when working on a passenger window that works one way from both switches, but the other way from only one of the switches. That set of symptoms verifies the wiring between the switches is okay, and one of the switches has a bad contact. The important point is without doing voltage tests to determine which switch is at fault, there is no way to know which one is defective. The switch that works properly both ways could be the one with a burned ground contact, or the other one could have a burned 12-volt contact. The bottom line is the switch that doesn't work one way has a 50 percent chance of being the good switch. If you follow the wires from the driver's switch, through the passenger switch, you'll see current has to go through both released ground contacts in the passenger switch when you press the driver's switch for the passenger window.
I know that sounds confusing, but now to address an intermittent issue, motors don't fail real often, but when they do, it's usually permanent. They typically don't work once in a while. Same with switches. If you take one apart, you might see how the springy contacts slide across each other as they're applied, similar to how older horn relays from the '60s and '70s worked. The high current in both systems causes a lot of arcing when the switch is turned off. The designed-in sliding action helps to scrub the contact to clean off any burned area.
Wiring inside the door isn't going to cause a problem unless someone was in there previously and unhooked a harness from an anchor, then it got caught by moving parts. What's left is the most vulnerable part. That is the wiring between the door hinges. The best potential clue is when you hold the switch pressed, then the affected part runs and stops intermittently as you open and close the door. That is proof the wires are frayed between the hinges. If that is what you ultimately find, I'll describe how I repaired them on older Caravans. A lot of Jeep vehicles used a short wiring harness that could be unbolted, then unplugged on both ends, then you could do the repairs in comfort by your workbench. I never did this repair on a truck, so I don't know how the harness is designed.
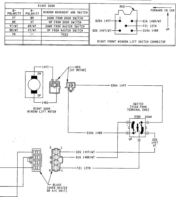
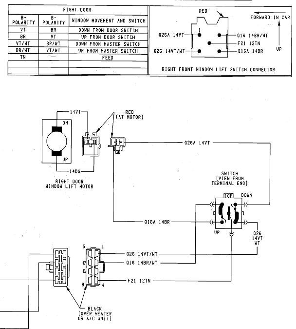
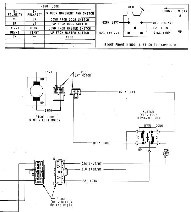
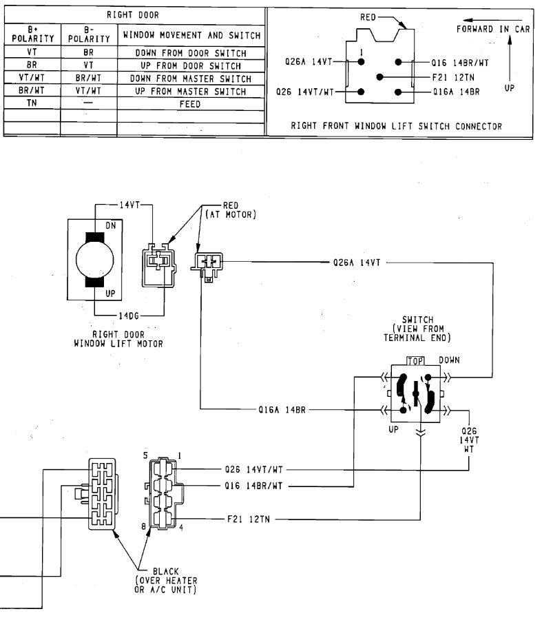
In the second diagram, notice there's no ground wire on that page. They do send a 12-volt feed wire over there, (that's the wire that would have a "lock-out" switch in it, if used, to prevent kids from playing with the windows. Once the passenger's switch is pressed, that contact applies 12 volts to one side of the motor, but the other terminal is still grounded through the released half of the switch, the wire going back to the driver's switch, through that released contact, then back to ground on the same black wire the driver's half of the system uses.
Since we're just looking at the driver's window now, you only have the ground wire and the 12-volt feed wire to worry about. The others are for the passenger window. If you have to repair some wires, you'll want to do all of them right away. Let me know first. I'll be typing up the repair description later to have ready to add if necessary.
Images (Click to enlarge)
Oct 1, 2019 at 3:42 PM