door ajar

2000 CADILLAC ELDORADO
54,000 MILES • V8 • 2WD • AUTOMATIC
Avatar
CHARLES ORTIZ
  • MEMBER
  • 3 POSTS
Door ajar keep ringing which door?
Jun 26, 2022 at 4:56 AM
Advertisement
Avatar
CHARLES ORTIZ
  • MEMBER
  • 3 POSTS
Thank you...
Jun 26, 2022 at 4:58 AM
Avatar
KASEKENNY
  • CERTIFIED EXPERT
  • 18,907 POSTS
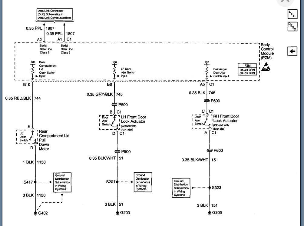
There are a couple ways to figure this out, but the easiest way is to open the door and then jump the switch to find out if the light goes off.

If it does, then that door switch as failed. If it does not, close that door and go to the next and do the same until the light goes off. However, if it still does not then you are going to have to jump each of them one at a time and leave it installed as it is possible that you have more than one issue, even though this is unlikely.

It is just worth doing this testing because if none of them cause the light to turn off then we have a BCM or cluster issue.

https://www.2carpros.com/articles/how-to-check-wiring

I am also attaching some testing and wiring diagrams below which will help with this.

Please run through this and let me know what questions you have. Thanks
Jun 27, 2022 at 8:48 AM
Advertisement