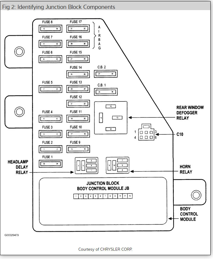
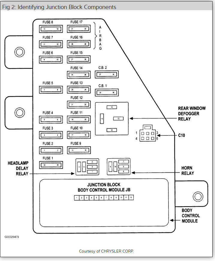
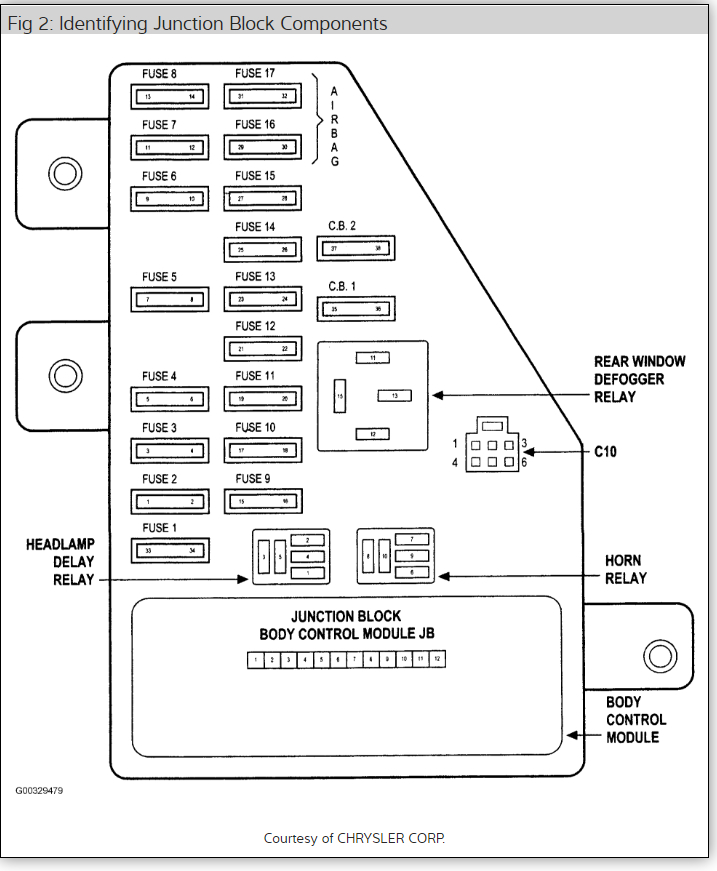
my power windows stopped working.I checked the fuse box under the hood and the ones i could check showed no broken links. I dont have a manual so i dont know which fuse (if any) controls the windows. Is there another fuse box? please help ,thank you
Sep 22, 2009 at 8:44 PM



