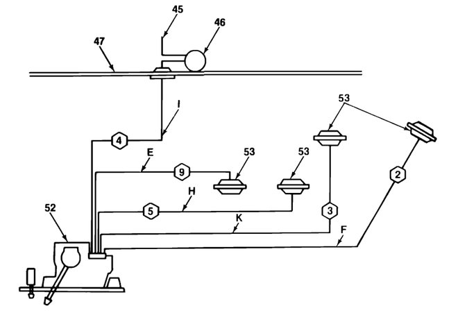
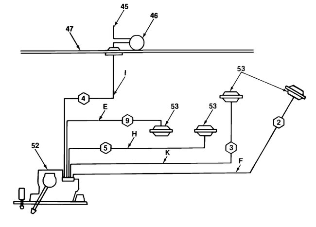
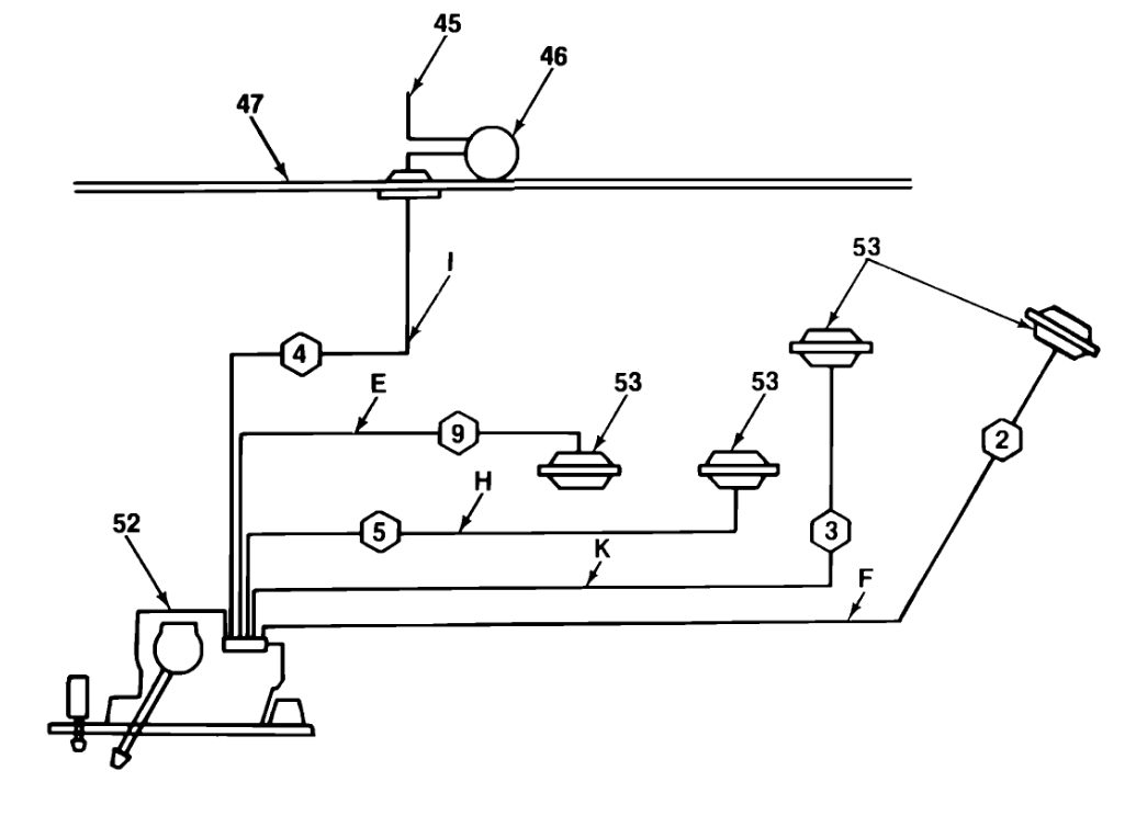
There is no air coming through the defrost vents. The blower motor is working just fine, and i am able to regulate temperature. The air just comes out of the front vents, regardless of setting. Moving the vent position lever is smooth, no audible clicking or resistance of any kind. Can i get an HVAC system diagram? Where is the blend door located? Is there a diagram with the location of all of the solenoids involved in the HVAC system available?
Thank you.
Thank you.
Feb 22, 2019 at 10:26 PM


