Good afternoon,
You have a mode door actuator that changes the direction of the air flow when you command different directions.
https://www.2carpros.com/articles/air-vents-stay-in-the-defrost-position
I attached the procedure and some pictures for you.
Roy
REMOVAL PROCEDURE
imageOpen In New TabZoom/Print
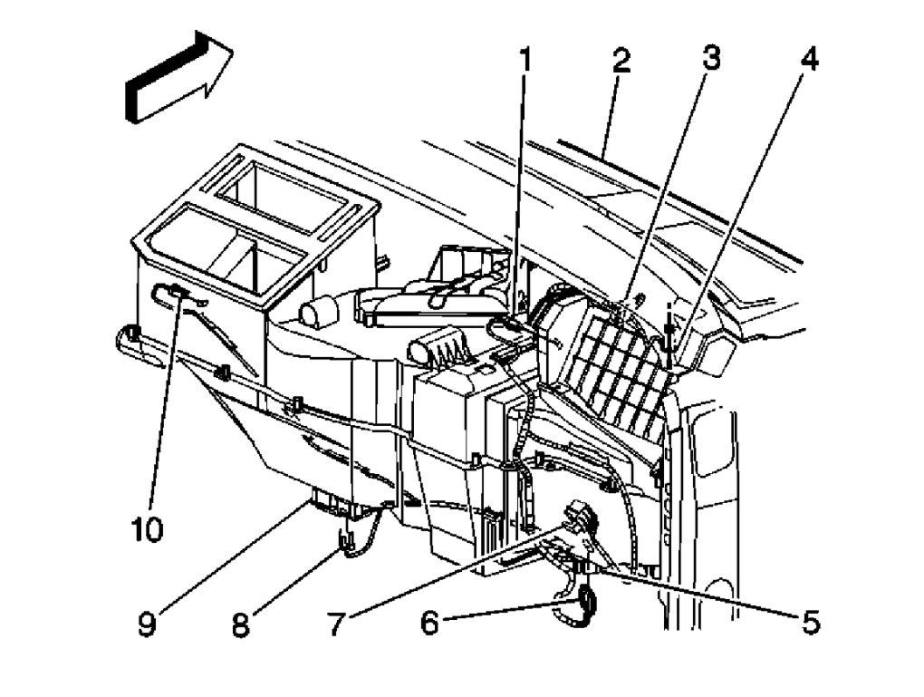
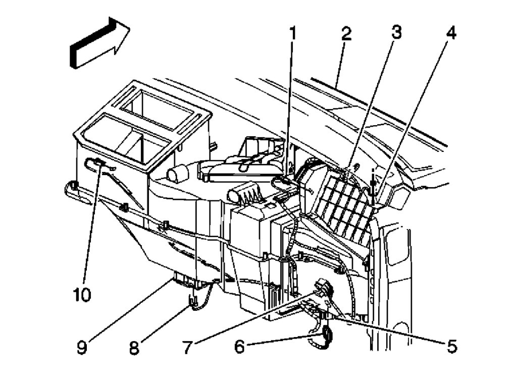
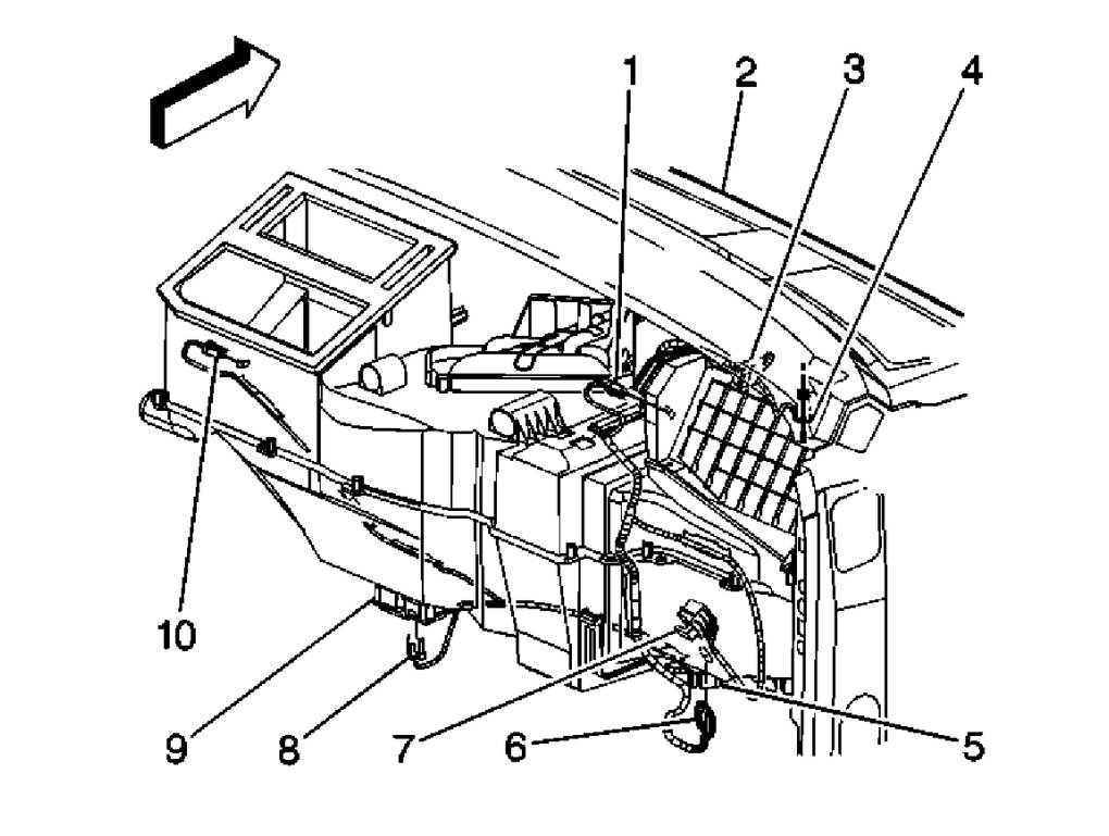
1. Remove the floor air outlet duct extension (1) from the floor duct (2).
imageOpen In New TabZoom/Print
2. Disconnect the electrical connection at the mode actuator (10).
imageOpen In New TabZoom/Print
3. Remove the mode actuator mounting screws from the HVAC module.
4. Remove the mode actuator as an assembly with the actuator cam.
Images (Click to enlarge)
Feb 11, 2021 at 11:09 AM