☰
Login
Join
×
Home
Answered Questions
Repair Topics
Repair & Service Guides
Popular Questions
Warning Lights
Trouble Codes
How It Works
Testing / Diagnostics
Symptoms
Videos
Login
Become a Member
Home
Cadillac
Fleetwood
Climate Control
Air Conditioner
Fuel readout A/C and heat all quit?
1992 CADILLAC FLEETWOOD
84,600 MILES • 4.9L • V8 • 2WD • AUTOMATIC
CCAMPBELL24
MEMBER
1 POST
FOLLOW
Fuel readout AC and heat all quit at the same time.
Jun 24, 2025 at 8:05 AM
Advertisement
STRAILER
CERTIFIED EXPERT
53,854 POSTS
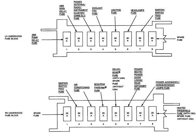
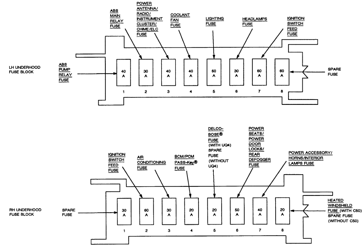
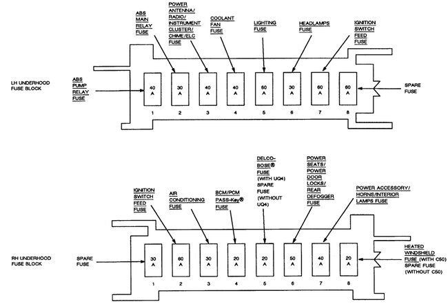
I would start by checking the fuses, this guide can help start testing with the key on:
https://www.2carpros.com/articles/how-to-check-a-car-fuse
Check out the images (below). Please let us know what happens.
Images (Click to enlarge)
Jun 24, 2025 at 1:01 PM