Coolant keeps coming out of reservoir

2000 TOYOTA CELICA
125,000 MILES • 1.8L • 4 CYL • 2WD • MANUAL
Avatar
SEBASTIAN_PERSONAL
  • MEMBER
  • 77 POSTS
I did a full bleed on my coolant with my heat blast on high. At first the water is going through the thermostat and the heater is hot. This is when the car is park after the bleeding, but when I took the car for test drive the heater stop working and there is no heat coming out of my vent. The temperature gauge pointed to high, but when I turn on to AC while I am driving the temperature gauged goes back to normal. I did a pressure cooling system test and not leaks indication. I also did a combustion leak test and shows no leaks as well. It seems to me that the thermostat stop working while I am driving the vehicle because the lower hose where the thermostat is not hot but the other hose is very hot. I did pull out the thermostat day before and test it by soaking it into a boiling water. Thermostat started to open and close when I pour cold water. I cannot seem to figure out. Please help. Thanks
May 20, 2018 at 11:31 AM
Advertisement
Avatar
JACOBANDNICKOLAS
  • CERTIFIED EXPERT
  • 110,175 POSTS
Hi and thanks for using 2CarPros.com. It sounds like turning the AC on is solving the problem. Keep in mind, with the AC on, a cooling fan comes on, too. What I need you to do is confirm that the radiator is not partially plugged, and the added fan running is helping it cool. Here are general directions for servicing the radiator and cooling system:

https://www.2carpros.com/articles/coolant-flush-and-refill-all-cars

Once we are sure the cooling system is properly flowing, then we need to check the cooling fans. Here are directions for checking the fans. See pics 1 and 2.


CHECK COOLING FAN OPERATION WITH LOW TEMPERATURE (Below 83°C (181°F))
Turn the ignition switch ON.
Check that the cooling fan stops. If not, check the cooling fan relay and ECT sensor, and check for a separated connector or severed wire between the cooling fan relay and ECT sensor.
Disconnect the ECT sensor connector.
Check that the cooling fan rotates. If not, check the engine main relay, cooling fan relay, cooling fan, fuses, and check for short circuit between the cooling fan relay and ECT sensor.
Reconnect the ECT sensor connector.
CHECK COOLING FAN OPERATION WITH HIGH TEMPERATURE (Above 93°C (199°F))
Start the engine, and raise coolant temperature to above 93°C (199°F) .
Check that the cooling fan rotates. If not, replace the ECT sensor.

INSPECT COOLING FANS
Disconnect the cooling fan connector.
Connect battery and ammeter to the connector.
Check that the cooling fan rotates smoothly, and check the reading on the ammeter. Standard amperage: 5.2 - 8.2 A
Reconnect the cooling fan connector.

If the fans check okay, then I would recommend checking the fan relays. Here are the directions.

TESTING AND INSPECTION
INSPECTION
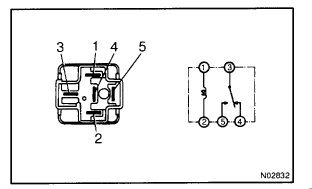
INSPECT NO. 1 COOLING FAN RELAY
Remove the relay box cover.

Remove the No. 1 cooling fan relay. (Marking: FAN No. 1)

Inspect the No. 1 cooling fan relay continuity.
Using an ohmmeter, check that there is continuity between terminals 1 and 2. If there is no continuity, replace the relay.
Check that there is no continuity between terminals 3 and 5. If there is continuity, replace the relay.

Inspect the No. 1 cooling fan relay operation.
Apply battery positive voltage across terminals 1 and 2.
Using an ohmmeter, check that there is continuity between terminals 3 and 5. If there is no continuity, replace the relay.
Reinstall the No. 3 cooling fan relay.
Reinstall the relay box cover.
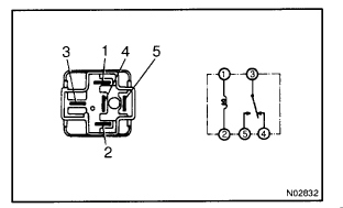
w/ A/C: INSPECT NO. 2 COOLING FAN RELAY
Remove the relay box cover.

Remove the No. 2 cooling fan relay. (Marking: FAN No. 2)

Inspect the No. 2 cooling fan relay continuity.
Using an ohmmeter, check that there is continuity between terminals 1 and 2. If there is no continuity, replace the relay.
Check that there is continuity between terminals 3 and 4. If there is no continuity, replace the relay.
Check that there is no continuity between terminals 3 and 5. If there is continuity, replace the relay.

Inspect the No. 2 cooling fan relay operation.
Apply battery positive voltage across terminals 1 and 2.
Using an ohmmeter, check that there is no continuity between terminals 3 and 4. If there is continuity, replace the relay.
Check that there is continuity between terminals 3 and 5. If there is no continuity, replace the relay.
Reinstall the No. 2 cooling fan relay.
Reinstall the relay box cover.
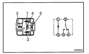
w/ A/C: INSPECT NO. 3 COOLING FAN RELAY
Remove the relay box cover.

Remove the No. 3 cooling fan relay. (Marking: FAN No. 3)

Inspect the No. 3 cooling fan relay continuity.
Using an ohmmeter, check that there is continuity between terminals 1 and 2. If there is no continuity, replace the relay.
Check that there is no continuity between terminals 3 and 5. If there is continuity, replace the relay.

Inspect the No. 3 cooling fan relay operation.
Apply battery positive voltage across terminals 1 and 2.
Using an ohmmeter, check that there is continuity between terminals 3 and 5. If there is no continuity, replace the relay.
Reinstall the No. 3 cooling fan relay.
Reinstall the relay box cover.
REMOVE COOLING FAN RELAY NO. 2 FROM ENGINE ROOM JIB
REMOVE COOLING FAN RELAY NO.3 FROM ENGINE ROOM J/B
INSPECT COOLING FAN RELAY NO.2 CONTINUITY If continuity is not as specified, replace the relay.


This is extensive, but will help you determine if a relay is the problem or a fan motor.

I hope this is helpful.
Take care,
Joe
May 20, 2018 at 7:20 PM