☰
Login
Join
×
Home
Answered Questions
Repair Topics
Repair & Service Guides
Popular Questions
Warning Lights
Trouble Codes
How It Works
Testing / Diagnostics
Symptoms
Videos
Login
Become a Member
Home
Saturn
Vue
Electrical
Fuse Panel
Location
How much time will it take for me the check the fuses
2006 SATURN VUE
100,000 MILES • 3.5L • 6 CYL • FWD • AUTOMATIC
AJOS
MEMBER
1 POST
FOLLOW
How much time will it take for me the check the fuses where are they and where do they go?
Oct 8, 2017 at 8:07 AM
Advertisement
KASEKENNY
CERTIFIED EXPERT
18,907 POSTS
Here is a guide that will help with testing and replacing the fuse:
https://www.2carpros.com/articles/how-to-check-a-car-fuse
https://www.2carpros.com/articles/how-to-use-a-test-light-circuit-tester
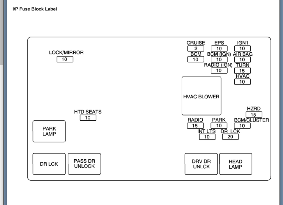
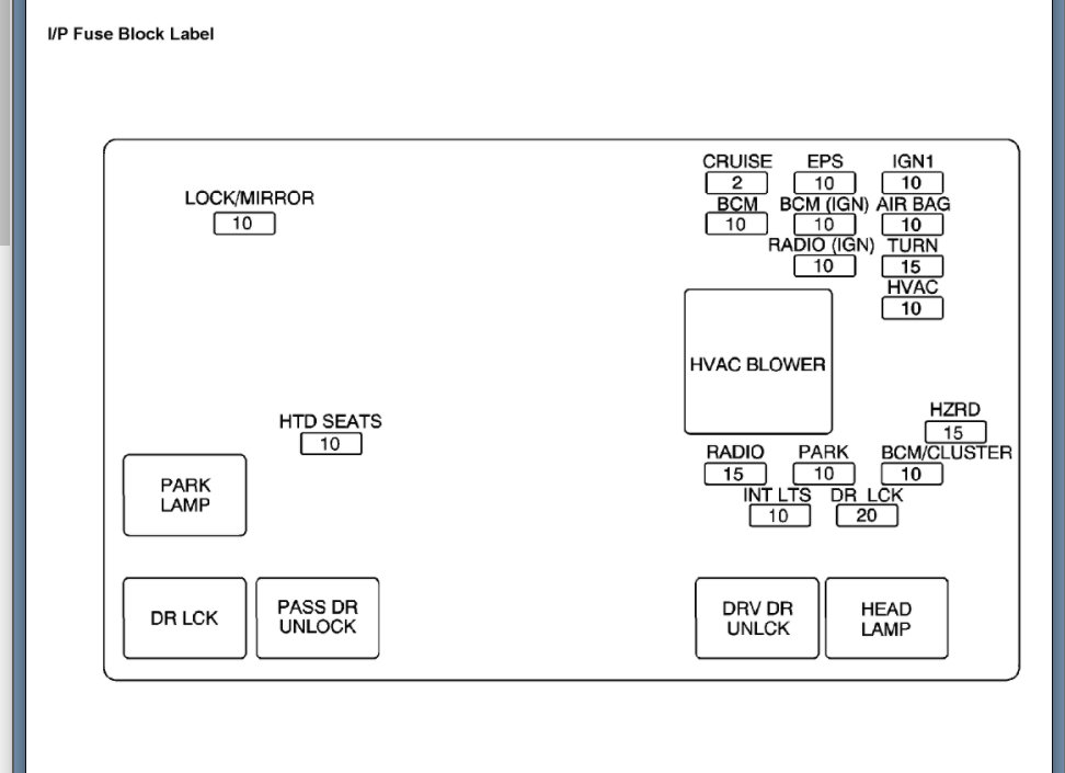
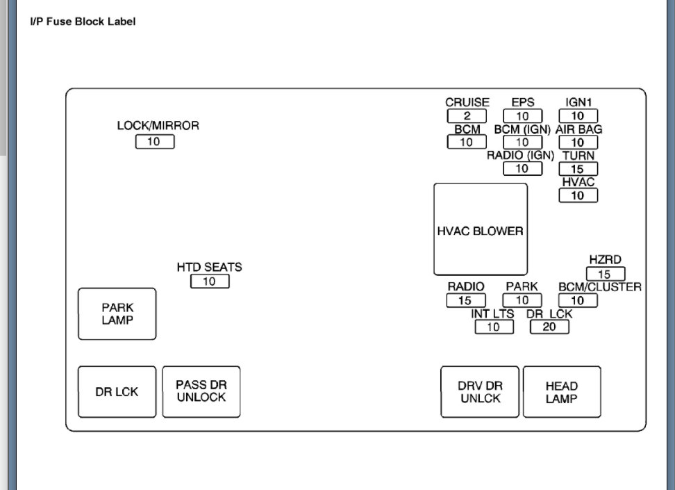
Below you will find the info about the fuses from the manual. Please run through this material and let us know if you have other questions. Thanks
Images (Click to enlarge)
Jun 19, 2021 at 5:54 PM