Coils missing ground from PCM

2005 FORD E-SERIES VAN
178,000 MILES • 5.4L • V8 • 2WD • AUTOMATIC
Avatar
ALFREDO ROJAS
  • MEMBER
  • 3 POSTS
No codes, passenger side coil works fine, I found out that coils in driver side gets 12V just as the injectors, but seems like coils are not getting ground from the PCM to create spark. apparently all this was caused by a short back into the utility box, in one of the lights. I corrected that and the only thing I have left looks like the PCM and Oxigen sensors, other than that I replaced all the sensors everywhere.

Not sure if I should find out what is the pinout diagram to see if I can track the ground. would this cause an issue?
May 12, 2020 at 6:38 PM
Advertisement
Avatar
JACOBANDNICKOLAS
  • CERTIFIED EXPERT
  • 110,175 POSTS
Hi,

I attached a portion of the wiring schematic that is relevant for the ignition coils. Based on your description, it sounds like the PCM was damaged. However, I would think it unlikely that all 4 cylinders on the same bank would fail like this.

Take a look at the picture. You know there is power, so like you said, we need to determine why the PCM isn't providing ground. Check the wiring and let me know what you find.

Take care,
Joe
May 12, 2020 at 8:09 PM
Avatar
ALFREDO ROJAS
  • MEMBER
  • 3 POSTS
Thanks so mush Joe!!

Your info help me a lot! I did check the wires for each coil from connector to the computer harness and all of them has continuity, what you say makes sense the computer may be bad, is there a way to actually see that is bad? I opened and checked but didn’t see any burn or sing of short,( checked only the top side) wanted to remove it to look underneath but is all cover by clear glue like recine that protects it.


Also not sure if makes difference but while the engine running I pulled out a coil connector and measure the voltage and I get 0 to 1.67V in most of them and while the engine of I get 12V not sure if that is right.

Appreciate your help.
May 13, 2020 at 7:12 AM
Advertisement
Avatar
JACOBANDNICKOLAS
  • CERTIFIED EXPERT
  • 110,175 POSTS
When you get that voltage (0 to 1.67) which wires are you checking? You should have 12v to the coil that really sits and does nothing until a ground path is provided via the PCM.

You could check at the PCM for a ground if you wanted. If none of the connectors are damaged or corroded, you could back probe the ground wires for each coil. Also, the power to the coils is from the same source. What voltage are you seeing on the coils that are working? They should all be the same. Is that the case? If it isn't, we need to trace the power supply back to where there are splices which may be a problem.

Joe
May 13, 2020 at 7:49 PM
Avatar
ALFREDO ROJAS
  • MEMBER
  • 3 POSTS
Thanks Joe!

I was checking the voltage when I happened to see a line of oil running down the manifold in the driver side where the bank has no spark plug. also noticed more water than usual coming out of the tailpipe. so look like the head gasket may have had been blown out, it was overfilled with oil. I'm not sure if that explains having too much pressure at the pint that oil was coming into the cylinders chambers interrupting the combustion process and no spark. I just started pulling the engine on pieces to see where that oil may be coming but seems that new head gaskets will be needed.

Best Regards
May 20, 2020 at 3:22 PM
Avatar
JACOBANDNICKOLAS
  • CERTIFIED EXPERT
  • 110,175 POSTS
Ouch! That isn't fun. This one requires timing chains to be removed as well. Here are the extensive directions. The pics correlate with the directions. The install will be the reverse of removal. After the removal directions, I am going to add torque specs. The remaining pics will correlate with the torque information. Note that step one (according to the directions) is remove engine.

_________________________________________

2005 Ford Truck E 150 V8-5.4L SOHC VIN L
Removal
Vehicle Engine, Cooling and Exhaust Engine Cylinder Head Assembly Service and Repair Procedures Removal
REMOVAL
Cylinder Heads

Part 1
pic 1

Part 2
pic 2

Special Tool(s)


pic 3

Material

Removal

All cylinder heads
1. Remove the engine.


pic 4


2. Remove the bolts and the flexplate.

3. CAUTION: To prevent damage to the oil pan, use care when lowering the engine.

Lower the engine onto wooden blocks.


pic 5


4. Remove the special tool.


pic 6


5. Install the special tool.


pic 7


6. Install the special tool.
7. Mount the engine on a suitable work stand.


pic 8


8. Remove the special tool.


pic 9


9. Remove the special tool.


pic 10


10. Remove the RH engine mount.


pic 11


11. NOTE: LH shown; RH similar.

Remove the cylinder block drain plugs, and drain the coolant in a suitable container.


pic 12


12. Disconnect the LH radio frequency interference capacitor and Cylinder Head Temperature (CHT) sensor electrical connectors.


pic 13


13. Disconnect the Camshaft Position (CMP) sensor electrical connector.


pic 14


14. Disconnect the RH radio frequency interference capacitor electrical connector.


pic 15


15. Disconnect the knock sensor electrical connector.


pic 16


16. Disconnect the Crankshaft Position (CKP) sensor electrical connector.


pic 17


17. Disconnect the oil pressure switch electrical connector.
18. Disconnect all of the harness routing clips and connector retainers. Remove the engine control sensor wiring harness.


pic 18


19. NOTE: RH shown; LH similar.

Remove the nuts and the two radio interference capacitors.


pic 19


20. Remove the crankcase ventilation tube from the LH valve cover.


pic 20


21. CAUTION: Do not use metal scrapers, wire brushes, power abrasive discs or other abrasive means to clean the sealing surfaces. These tools cause scratches and gouges which make leak paths. Use a plastic scraping tool to remove all traces of old sealant.

NOTE: The bolts are part of the valve cover and should not be removed.

Remove the LH valve cover.
^ Fully loosen the bolts and remove the valve cover.
^ Clean the valve cover mating surface of the cylinder head with silicone gasket remover and metal surface prep. Follow the directions on the packaging.
^ Inspect the valve cover gasket. If the gasket is damaged, remove and discard the gasket. Clean the valve cover gasket groove with soap and water or a suitable solvent.


pic 21


22. CAUTION: Do not use metal scrapers, wire brushes, power abrasive discs or other abrasive means to clean the sealing surfaces. These tools cause scratches and gouges which make leak paths. Use a plastic scraping tool to remove all traces of old sealant.

NOTE: The bolts are part of the valve cover and should not be removed.

Remove the RH valve cover.
^ Fully loosen the bolts and remove the valve cover.
^ Clean the valve cover mating surface of the cylinder head with silicone gasket remover and metal surface prep. Follow the directions on the packaging.
^ Inspect the valve cover gasket. If the gasket is damaged, remove and discard the gasket. Clean the valve cover gasket groove with soap and water or a suitable solvent.


pic 22


23. Remove the bolt and the belt idler pulley.


pic 23


24. Remove the coolant pump pulley.
1 Remove the bolts.
2 Remove the coolant pump pulley.


pic 24


25. Remove and discard the crankshaft pulley bolt.
Use the special tool to remove the crankshaft pulley.


pic 25


26. Use the special tool to remove the crankshaft front seal.


pic 26


27. Remove the power steering pump.


pic 27


28. Remove the bolts.


pic 28


29. NOTE: Correct fastener location is essential for assembly procedure. Record fastener location.

Remove the fasteners.


pic 29


30. Remove the engine front cover from the cylinder block.


pic 30

31. Remove the crankshaft sensor ring from the crankshaft.

32. CAUTION: Use care when removing the spark plugs.

NOTE: Use compressed air to remove any foreign material from the spark plug well before removing the spark plugs.

Remove the eight spark plugs.


pic 31


33. Install the special tool between the valve spring coils to prevent valve stem seal damage.


pic 32


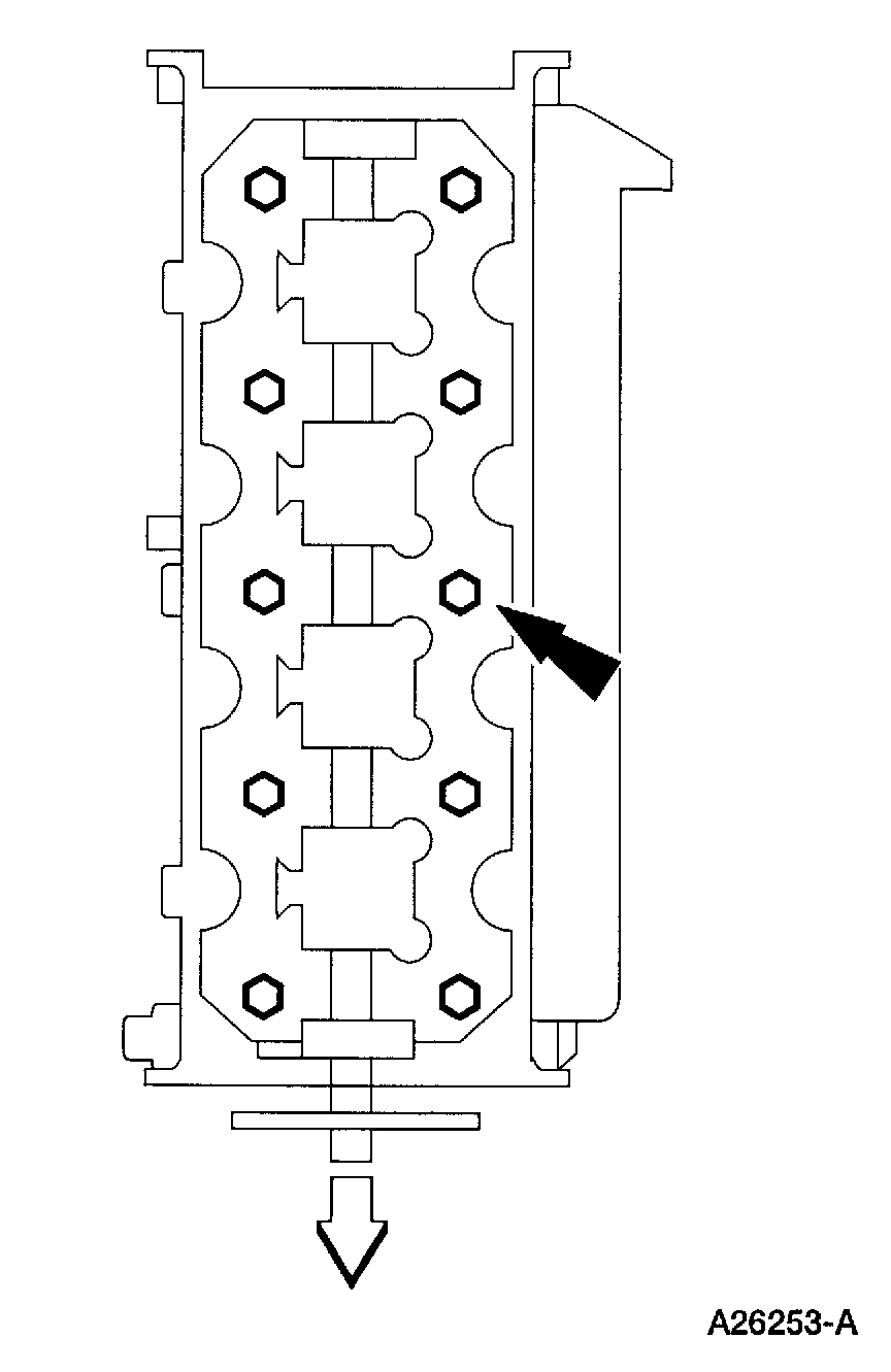
34. NOTE: The camshaft roller followers must be reinstalled in their original locations. Record the camshaft roller follower locations.

NOTE: Position the cam lobe away from the camshaft roller follower prior to removing each camshaft roller follower.

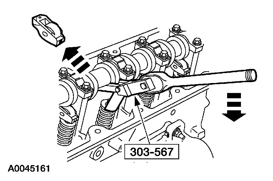
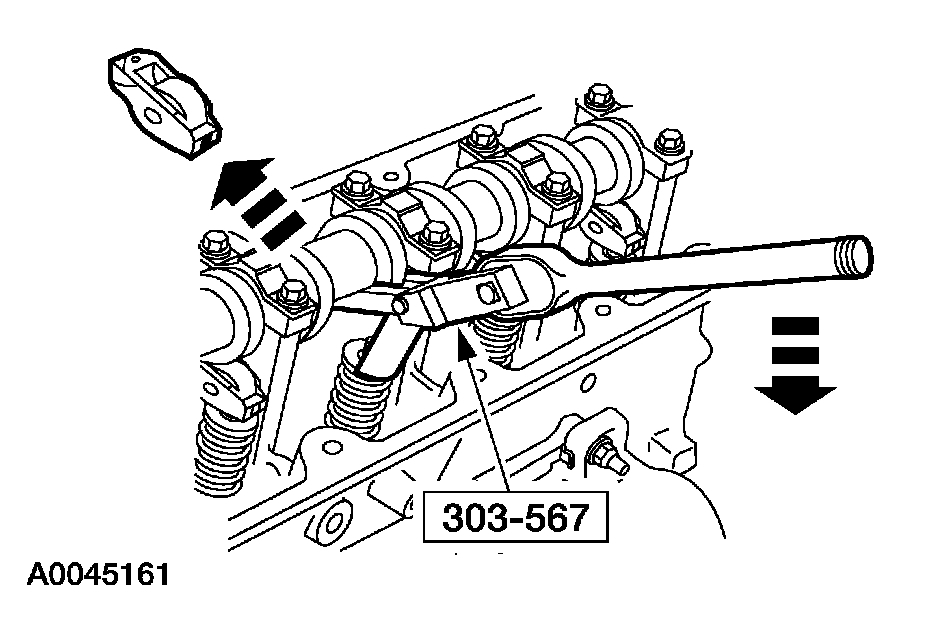
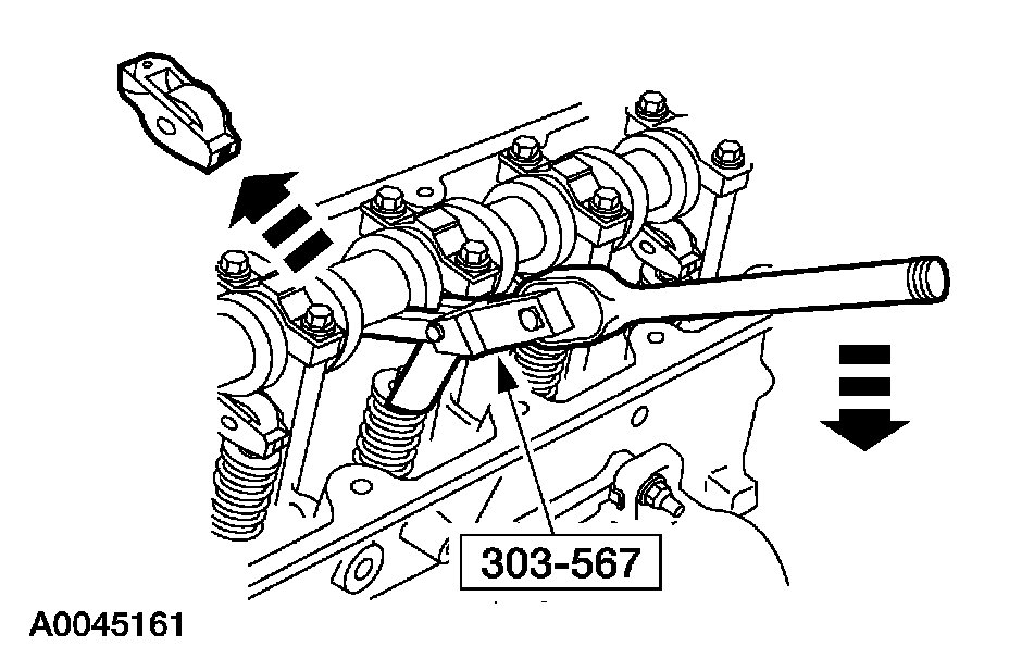
Use the special tool to compress the valve springs, and remove the camshaft roller followers.


pic 33


35. Position the crankshaft with the keyway at the 12 o'clock position.


pic 34


36. CAUTION: If one or both of the tensioner mounting bolts are loosened or removed, the tensioner-sealing bead must be inspected for seal integrity. If cracks, tears, separation from the tensioner body or permanent compression of the seal bead is observed, install a new tensioner.

Remove the timing chain tensioning system from both timing chains.
1 Remove the bolts.
2 Remove the timing chain tensioners.
3 Remove the timing chain tensioner arms.


pic 35


37. Remove the RH and LH timing chains and the crankshaft sprocket(s).
^ Remove the RH timing chain from the camshaft sprocket.
^ Remove the RH timing chain from the crankshaft sprocket.
^ Remove the LH timing chain from the camshaft sprocket.
^ Remove the LH timing chain and crankshaft sprocket(s).


pic 36


38. Remove both timing chain guides.
^ Remove the bolts.
^ Remove both timing chain guides.

RH cylinder head

pic 37


39. Remove the RH exhaust manifold.
1 Remove the nuts.
2 Remove the RH exhaust manifold.
3 Remove the RH exhaust manifold gasket.

LH cylinder head


pic 38


40. Remove the LH exhaust manifold.
1 Remove the nuts.
2 Remove the LH exhaust manifold.
3 Remove the LH exhaust manifold gasket.


pic 39


41. Remove the bolt and the oil level indicator tube.

All cylinder heads
42. Clean and inspect the exhaust manifolds.


pic 40


43. Install the special tools on both ends of the cylinder head.


pic 41


44. NOTE: The hydraulic lash adjusters must be reinstalled in their original locations. Record the hydraulic lash adjuster locations.

Remove the hydraulic lash adjusters.

RH cylinder head


pic 42


45. CAUTION: The cylinder head must be cool before removing it from the engine. Cylinder head warpage can result if a warm or hot cylinder head is removed.

CAUTION: Place clean shop towels over exposed engine cavities. Carefully remove the towels so foreign material is not dropped into the engine.

CAUTION: The cylinder head bolts must be discarded and new bolts installed. They are tighten-to-yield designed and cannot be reused.

CAUTION: Do not use metal scrapers, wire brushes, power abrasive discs or other abrasive means to clean the sealing surfaces. These tools cause scratches and gouges that make leak paths. Use a plastic scraping tool to remove all traces of the head gasket.

CAUTION: Aluminum surfaces are soft and can be scratched easily. Never place the cylinder head gasket surface, unprotected, on a bench surface.

Remove the bolts and the RH cylinder head.
^ Discard the cylinder head gasket.
^ Discard the cylinder head bolts.

LH cylinder head


pic 43


46. CAUTION: The cylinder head must be cool before removing it from the engine. Cylinder head warpage can result if a warm or hot cylinder head is removed.

CAUTION: Place clean shop towels over exposed engine cavities. Carefully remove the towels so foreign material is not dropped into the engine.

CAUTION: The cylinder head bolts must be discarded and new bolts installed. They are tighten-to-yield designed and cannot be reused.

CAUTION: Do not use metal scrapers, wire brushes, power abrasive discs or other abrasive means to clean the sealing surfaces. These tools cause scratches and gouges that make leak paths. Use a plastic scraping tool to remove all traces of the head gasket.

CAUTION: Aluminum surfaces are soft and can be scratched easily. Never place the cylinder head gasket surface, unprotected, on a bench surface.

Remove the bolts and the LH cylinder head.
^ Discard the cylinder head gasket.
^ Discard the cylinder head bolts.

All cylinder heads

47. CAUTION: Do not use metal scrapers, wire brushes, power abrasive discs or other abrasive means to clean the sealing surfaces. These tools cause scratches and gouges that make leak paths. Use a plastic scraping tool to remove all traces of the head gasket.

CAUTION: Observe all warnings or cautions and follow all application directions contained on the packaging of the silicone gasket remover and the metal surface prep.

NOTE: If there is no residual gasket material present, metal surface prep can be used to clean and prepare the surfaces.

Clean the cylinder head-to-cylinder block mating surfaces of both the cylinder head and the cylinder block.
1 Remove any large deposits of silicone or gasket material with a plastic scraper.
2 Apply silicone gasket remover, following package directions, and allow to set for several minutes.
3 Remove the silicone gasket remover with a plastic scraper. A second application of silicone gasket remover may be required if residual traces of silicone or gasket material remain.
4 Apply metal surface prep, following package directions, to remove any remaining traces of oil or coolant, and to prepare the surfaces to bond with the new gasket. Do not attempt to make the metal shiny. Some staining of the metal surfaces is normal.


pic 44


48. NOTE: Make sure all cylinder head surfaces are clear of any gasket material, RTV, oil and coolant. The cylinder head surface must be clean and dry before running a flatness check.

NOTE: Use a straightedge that is calibrated by the manufacturer to be flat with 0.005 mm (0.0002 inch) per running foot length. For example, if the straightedge is 61 cm (24 inch) long, the machine edge must be flat with 0.010 mm (0.0004 inch) from end to end.

NOTE: LH is shown; RH is similar.

Support the cylinder head on a bench with the head gasket side up. Inspect all areas of the deck face with a straightedge, paying particular attention to the oil pressure feed area. The cylinder head must not have depressions deeper than 0.0254 mm (0.001 inch) across a 38.1 mm (1.5 inch) square area or scratches more than 0.0254 mm (0.001 inch).

__________________________________

Torque Specs

2005 Ford Truck E 150 V8-5.4L SOHC VIN L
Mechanical (including Torque)
Vehicle Engine, Cooling and Exhaust Engine Cylinder Head Assembly Specifications Mechanical (including Torque)
MECHANICAL (INCLUDING TORQUE)
Cylinder head flatness must be within .................... 0.0254 mm (0.001 inch) across a 38.1 mm (1.5 inch) square area.


pic 45


LH cylinder head

NOTE: Replace bolts

Stage 1: Tighten to .................... 40 Nm (30 ft. lbs.).
Stage 2: Tighten an additional .................... 90 degrees.
Stage 3: Tighten an additional .................... 90 degrees.


pic 46


RH cylinder head

NOTE: Replace bolts

Stage 1: Tighten to .................... 40 Nm (30 ft. lbs.).
Stage 2: Tighten an additional .................... 90 degrees.
Stage 3: Tighten an additional .................... 90 degrees.


pic 47


Intake Manifold
Stage 1: Tighten to .................... 2 Nm (18 inch lbs.).
Stage 2: Tighten to .................... 25 Nm (18 ft. lbs.).


pic 48


Camshaft bearing caps .................... 10 Nm (89 in.lbs.).

Camshaft Sprocket
Stage 1: Tighten to .................... 40 Nm (30 ft. lbs.).
Stage 2: Tighten an additional .................... 90 degrees.


pic 49


RH Exhaust manifold bolts .................... 25 Nm (18 ft.lbs.).


pic 50


LH Exhaust manifold bolts .................... 25 Nm (18 ft.lbs.).

__________________________________

Let me know if you have questions or have any questions.

Take care,
Joe
May 20, 2020 at 8:30 PM
Avatar
JACOBANDNICKOLAS
  • CERTIFIED EXPERT
  • 110,175 POSTS
Ouch! That isn't fun. This one requires timing chains to be removed as well. Here are the extensive directions. The pics correlate with the directions. The install will be the reverse of removal. After the removal directions, I am going to add torque specs. The remaining pics will correlate with the torque information. Note that step one (according to the directions) is remove engine.

_________________________________________

2005 Ford Truck E 150 V8-5.4L SOHC VIN L
Removal
Vehicle Engine, Cooling and Exhaust Engine Cylinder Head Assembly Service and Repair Procedures Removal
REMOVAL
Cylinder Heads

Part 1
pic 1

Part 2
pic 2

Special Tool(s)


pic 3

Material

Removal

All cylinder heads
1. Remove the engine.


pic 4


2. Remove the bolts and the flexplate.

3. CAUTION: To prevent damage to the oil pan, use care when lowering the engine.

Lower the engine onto wooden blocks.


pic 5


4. Remove the special tool.


pic 6


5. Install the special tool.


pic 7


6. Install the special tool.
7. Mount the engine on a suitable work stand.


pic 8


8. Remove the special tool.


pic 9


9. Remove the special tool.


pic 10


10. Remove the RH engine mount.


pic 11


11. NOTE: LH shown; RH similar.

Remove the cylinder block drain plugs, and drain the coolant in a suitable container.


pic 12


12. Disconnect the LH radio frequency interference capacitor and Cylinder Head Temperature (CHT) sensor electrical connectors.


pic 13


13. Disconnect the Camshaft Position (CMP) sensor electrical connector.


pic 14


14. Disconnect the RH radio frequency interference capacitor electrical connector.


pic 15


15. Disconnect the knock sensor electrical connector.


pic 16


16. Disconnect the Crankshaft Position (CKP) sensor electrical connector.


pic 17


17. Disconnect the oil pressure switch electrical connector.
18. Disconnect all of the harness routing clips and connector retainers. Remove the engine control sensor wiring harness.


pic 18


19. NOTE: RH shown; LH similar.

Remove the nuts and the two radio interference capacitors.


pic 19


20. Remove the crankcase ventilation tube from the LH valve cover.


pic 20


21. CAUTION: Do not use metal scrapers, wire brushes, power abrasive discs or other abrasive means to clean the sealing surfaces. These tools cause scratches and gouges which make leak paths. Use a plastic scraping tool to remove all traces of old sealant.

NOTE: The bolts are part of the valve cover and should not be removed.

Remove the LH valve cover.
^ Fully loosen the bolts and remove the valve cover.
^ Clean the valve cover mating surface of the cylinder head with silicone gasket remover and metal surface prep. Follow the directions on the packaging.
^ Inspect the valve cover gasket. If the gasket is damaged, remove and discard the gasket. Clean the valve cover gasket groove with soap and water or a suitable solvent.


pic 21


22. CAUTION: Do not use metal scrapers, wire brushes, power abrasive discs or other abrasive means to clean the sealing surfaces. These tools cause scratches and gouges which make leak paths. Use a plastic scraping tool to remove all traces of old sealant.

NOTE: The bolts are part of the valve cover and should not be removed.

Remove the RH valve cover.
^ Fully loosen the bolts and remove the valve cover.
^ Clean the valve cover mating surface of the cylinder head with silicone gasket remover and metal surface prep. Follow the directions on the packaging.
^ Inspect the valve cover gasket. If the gasket is damaged, remove and discard the gasket. Clean the valve cover gasket groove with soap and water or a suitable solvent.


pic 22


23. Remove the bolt and the belt idler pulley.


pic 23


24. Remove the coolant pump pulley.
1 Remove the bolts.
2 Remove the coolant pump pulley.


pic 24


25. Remove and discard the crankshaft pulley bolt.
Use the special tool to remove the crankshaft pulley.


pic 25


26. Use the special tool to remove the crankshaft front seal.


pic 26


27. Remove the power steering pump.


pic 27


28. Remove the bolts.


pic 28


29. NOTE: Correct fastener location is essential for assembly procedure. Record fastener location.

Remove the fasteners.


pic 29


30. Remove the engine front cover from the cylinder block.


pic 30

31. Remove the crankshaft sensor ring from the crankshaft.

32. CAUTION: Use care when removing the spark plugs.

NOTE: Use compressed air to remove any foreign material from the spark plug well before removing the spark plugs.

Remove the eight spark plugs.


pic 31


33. Install the special tool between the valve spring coils to prevent valve stem seal damage.


pic 32


34. NOTE: The camshaft roller followers must be reinstalled in their original locations. Record the camshaft roller follower locations.

NOTE: Position the cam lobe away from the camshaft roller follower prior to removing each camshaft roller follower.

Use the special tool to compress the valve springs, and remove the camshaft roller followers.


pic 33


35. Position the crankshaft with the keyway at the 12 o'clock position.


pic 34


36. CAUTION: If one or both of the tensioner mounting bolts are loosened or removed, the tensioner-sealing bead must be inspected for seal integrity. If cracks, tears, separation from the tensioner body or permanent compression of the seal bead is observed, install a new tensioner.

Remove the timing chain tensioning system from both timing chains.
1 Remove the bolts.
2 Remove the timing chain tensioners.
3 Remove the timing chain tensioner arms.


pic 35


37. Remove the RH and LH timing chains and the crankshaft sprocket(s).
^ Remove the RH timing chain from the camshaft sprocket.
^ Remove the RH timing chain from the crankshaft sprocket.
^ Remove the LH timing chain from the camshaft sprocket.
^ Remove the LH timing chain and crankshaft sprocket(s).


pic 36


38. Remove both timing chain guides.
^ Remove the bolts.
^ Remove both timing chain guides.

RH cylinder head

pic 37


39. Remove the RH exhaust manifold.
1 Remove the nuts.
2 Remove the RH exhaust manifold.
3 Remove the RH exhaust manifold gasket.

LH cylinder head


pic 38


40. Remove the LH exhaust manifold.
1 Remove the nuts.
2 Remove the LH exhaust manifold.
3 Remove the LH exhaust manifold gasket.


pic 39


41. Remove the bolt and the oil level indicator tube.

All cylinder heads
42. Clean and inspect the exhaust manifolds.


pic 40


43. Install the special tools on both ends of the cylinder head.


pic 41


44. NOTE: The hydraulic lash adjusters must be reinstalled in their original locations. Record the hydraulic lash adjuster locations.

Remove the hydraulic lash adjusters.

RH cylinder head


pic 42


45. CAUTION: The cylinder head must be cool before removing it from the engine. Cylinder head warpage can result if a warm or hot cylinder head is removed.

CAUTION: Place clean shop towels over exposed engine cavities. Carefully remove the towels so foreign material is not dropped into the engine.

CAUTION: The cylinder head bolts must be discarded and new bolts installed. They are tighten-to-yield designed and cannot be reused.

CAUTION: Do not use metal scrapers, wire brushes, power abrasive discs or other abrasive means to clean the sealing surfaces. These tools cause scratches and gouges that make leak paths. Use a plastic scraping tool to remove all traces of the head gasket.

CAUTION: Aluminum surfaces are soft and can be scratched easily. Never place the cylinder head gasket surface, unprotected, on a bench surface.

Remove the bolts and the RH cylinder head.
^ Discard the cylinder head gasket.
^ Discard the cylinder head bolts.

LH cylinder head


pic 43


46. CAUTION: The cylinder head must be cool before removing it from the engine. Cylinder head warpage can result if a warm or hot cylinder head is removed.

CAUTION: Place clean shop towels over exposed engine cavities. Carefully remove the towels so foreign material is not dropped into the engine.

CAUTION: The cylinder head bolts must be discarded and new bolts installed. They are tighten-to-yield designed and cannot be reused.

CAUTION: Do not use metal scrapers, wire brushes, power abrasive discs or other abrasive means to clean the sealing surfaces. These tools cause scratches and gouges that make leak paths. Use a plastic scraping tool to remove all traces of the head gasket.

CAUTION: Aluminum surfaces are soft and can be scratched easily. Never place the cylinder head gasket surface, unprotected, on a bench surface.

Remove the bolts and the LH cylinder head.
^ Discard the cylinder head gasket.
^ Discard the cylinder head bolts.

All cylinder heads

47. CAUTION: Do not use metal scrapers, wire brushes, power abrasive discs or other abrasive means to clean the sealing surfaces. These tools cause scratches and gouges that make leak paths. Use a plastic scraping tool to remove all traces of the head gasket.

CAUTION: Observe all warnings or cautions and follow all application directions contained on the packaging of the silicone gasket remover and the metal surface prep.

NOTE: If there is no residual gasket material present, metal surface prep can be used to clean and prepare the surfaces.

Clean the cylinder head-to-cylinder block mating surfaces of both the cylinder head and the cylinder block.
1 Remove any large deposits of silicone or gasket material with a plastic scraper.
2 Apply silicone gasket remover, following package directions, and allow to set for several minutes.
3 Remove the silicone gasket remover with a plastic scraper. A second application of silicone gasket remover may be required if residual traces of silicone or gasket material remain.
4 Apply metal surface prep, following package directions, to remove any remaining traces of oil or coolant, and to prepare the surfaces to bond with the new gasket. Do not attempt to make the metal shiny. Some staining of the metal surfaces is normal.


pic 44


48. NOTE: Make sure all cylinder head surfaces are clear of any gasket material, RTV, oil and coolant. The cylinder head surface must be clean and dry before running a flatness check.

NOTE: Use a straightedge that is calibrated by the manufacturer to be flat with 0.005 mm (0.0002 inch) per running foot length. For example, if the straightedge is 61 cm (24 inch) long, the machine edge must be flat with 0.010 mm (0.0004 inch) from end to end.

NOTE: LH is shown; RH is similar.

Support the cylinder head on a bench with the head gasket side up. Inspect all areas of the deck face with a straightedge, paying particular attention to the oil pressure feed area. The cylinder head must not have depressions deeper than 0.0254 mm (0.001 inch) across a 38.1 mm (1.5 inch) square area or scratches more than 0.0254 mm (0.001 inch).

__________________________________

Torque Specs

2005 Ford Truck E 150 V8-5.4L SOHC VIN L
Mechanical (including Torque)
Vehicle Engine, Cooling and Exhaust Engine Cylinder Head Assembly Specifications Mechanical (including Torque)
MECHANICAL (INCLUDING TORQUE)
Cylinder head flatness must be within .................... 0.0254 mm (0.001 inch) across a 38.1 mm (1.5 inch) square area.


pic 45


LH cylinder head

NOTE: Replace bolts

Stage 1: Tighten to .................... 40 Nm (30 ft. lbs.).
Stage 2: Tighten an additional .................... 90 degrees.
Stage 3: Tighten an additional .................... 90 degrees.


pic 46


RH cylinder head

NOTE: Replace bolts

Stage 1: Tighten to .................... 40 Nm (30 ft. lbs.).
Stage 2: Tighten an additional .................... 90 degrees.
Stage 3: Tighten an additional .................... 90 degrees.


pic 47


Intake Manifold
Stage 1: Tighten to .................... 2 Nm (18 inch lbs.).
Stage 2: Tighten to .................... 25 Nm (18 ft. lbs.).


pic 48


Camshaft bearing caps .................... 10 Nm (89 in.lbs.).

Camshaft Sprocket
Stage 1: Tighten to .................... 40 Nm (30 ft. lbs.).
Stage 2: Tighten an additional .................... 90 degrees.


pic 49


RH Exhaust manifold bolts .................... 25 Nm (18 ft.lbs.).


pic 50


LH Exhaust manifold bolts .................... 25 Nm (18 ft.lbs.).

__________________________________

Let me know if you have questions or have any questions.

Take care,
Joe
May 20, 2020 at 8:30 PM