Hi,
It sounds like the clutch master cylinder is bad. That is where I would start. The confusing thing is the air getting into the system. Make sure there are no leaks or have a cut or broken hose.
Here are the directions for replacing the master cylinder. The attached pics correlate with the directions.
____________________________
2005 Chevrolet Cavalier L4-2.2L VIN F
Procedures
Vehicle Transmission and Drivetrain Clutch Clutch Hydraulic System Clutch Master Cylinder Service and Repair Procedures
PROCEDURES
Clutch Master Cylinder Replacement
Removal Procedure
1. Remove the clutch master cylinder pushrod from the clutch pedal.
pic 1
2. Remove the master cylinder retaining nuts at the front of the dash.
pic 2
3. Remove the remote reservoir.
pic 3
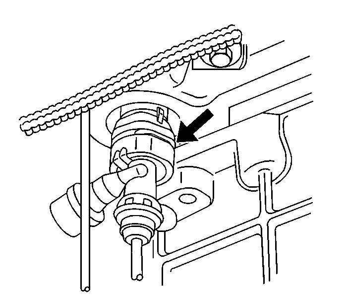
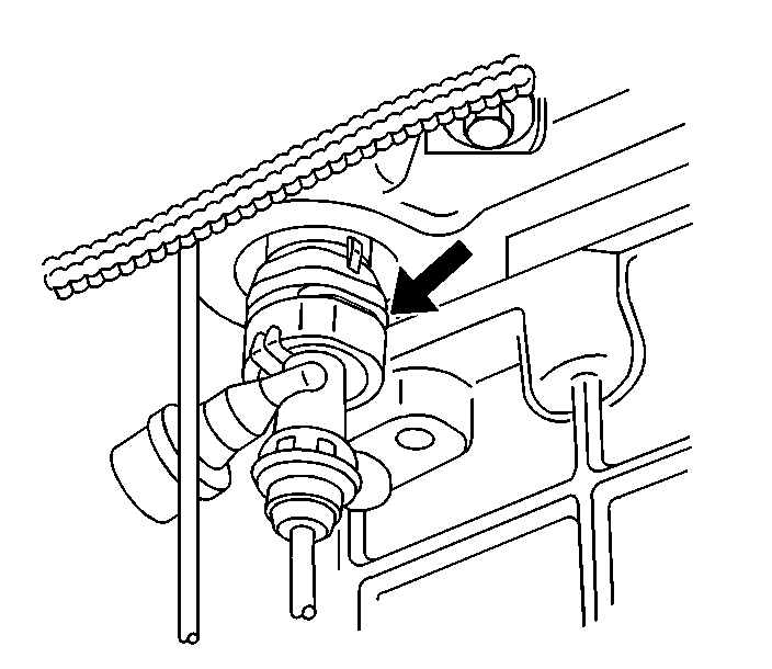
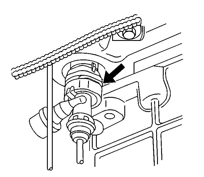
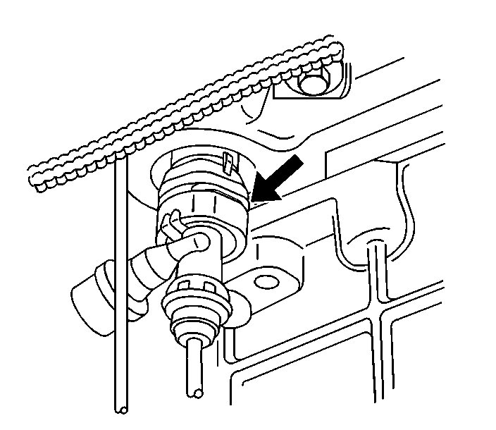
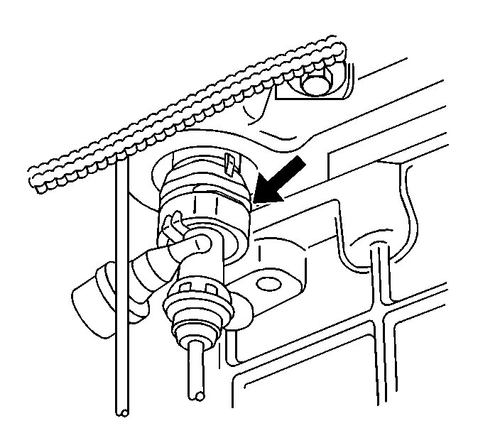
4. Disconnect the clutch actuator cylinder line.
pic 4
5. Remove the clutch master cylinder assembly from the clutch pedal assembly.
Installation Procedure
1. Install the clutch master cylinder assembly to the clutch pedal assembly.
pic 5
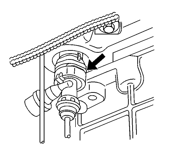
2. Connect the clutch actuator cylinder line.
pic 6
3. Install the remote reservoir.
pic 7
Notice: Refer to Fastener Notice in Service Precautions.
4. Install the master cylinder retaining nuts at the front of the dash.
^ Tighten the nuts evenly to 21 Nm (15 ft. lbs.).
5. Install the pushrod to the clutch pedal.
6. Bleed the hydraulic system.
________________________________________
I hope this helps. Let me know if you have other questions.
Take care and God Bless,
Joe
Images (Click to enlarge)
Feb 18, 2021 at 7:38 PM