Power window not working

2002 CHEVROLET IMPALA
148,000 MILES • 6 CYL • 2WD • AUTOMATIC
Avatar
SWERVE11
  • MEMBER
  • 1 POST
The power windows on my car just went fizzle when I tried to roll them down on the ninety degree day. I pulled the fuse box and checked each one and noticed that there is no fuse on the box for the power window system. How do I fix my windows and what do I need to do?
Jul 28, 2009 at 11:08 AM
Advertisement
Avatar
TAKECHARGESARGE
  • CERTIFIED EXPERT
  • 92 POSTS
Hi Swerve11,

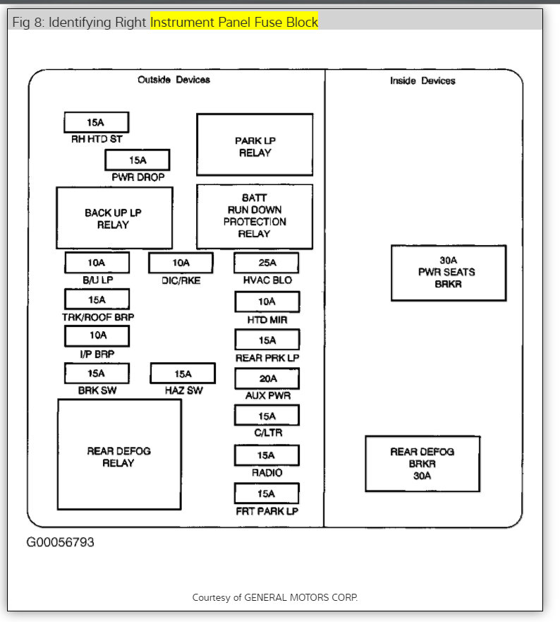
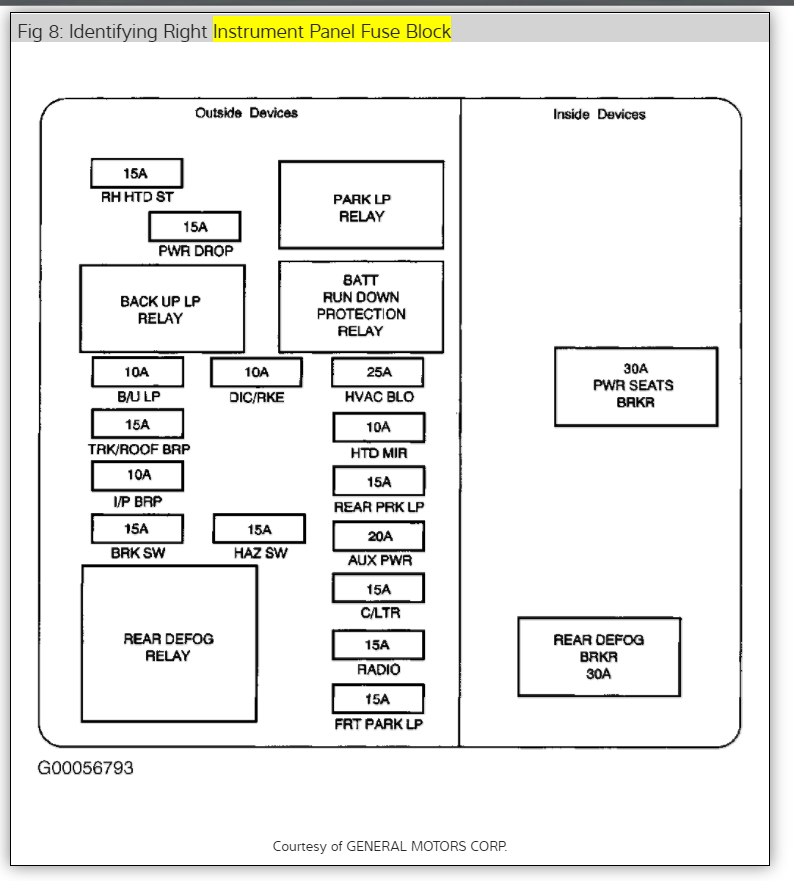
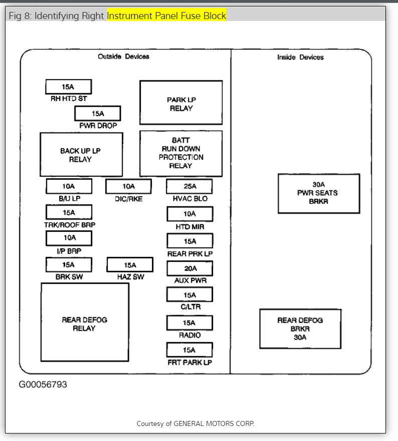
There is a circuit breaker for the power windows in the drivers side instrument panel fuse block. It is labeled "RETAINED ACCSRY/PWR BRKR" and its description is "power window, sunroof breaker". Here is a guide to help you test the switch and the wiring diagrams to help you see how the system works:


https://www.2carpros.com/articles/electric-window-repair

Check out the diagrams (below). Please run some tests and get back to us.

Cheers, TakeChargeSarge
Aug 10, 2009 at 11:51 PM
Avatar
MRHLTN
  • MEMBER
  • 1 POST
Power car windows do not work. Tried power relay from passenger side as suggested by AutoZone, it did not make windows work, also tried new switch which did not make windows work. They make a buzzing sound when attempting to put down drivers window, but to no avail. Did get new 30 AMP breaker, windows still not working. I heard something about putting power to the motor itself, but not sure how to do this. Please advise the possibilities of what is going on and why?
Jul 15, 2018 at 6:35 PM (Merged)
Advertisement
Avatar
JDL
  • CERTIFIED EXPERT
  • 16,098 POSTS
When you try to operate windows, is circuit breaker hot to the touch? Main voltage to master switch, yellow wire, main ground is black. There is a lock-out switch at master switch, if it is tripped, only the driver can operate any of the windows. Usually the driver window motor will fail before the others, obvious reason.

Because it is a reversing motor, the circuits at the motor switch voltage and ground, depending on up or down.
Jul 15, 2018 at 6:35 PM (Merged)
Avatar
TEDDYBEAR2K7
  • MEMBER
  • 1 POST
Automatic transmission.

My power windows stopped working.
Jul 15, 2018 at 6:35 PM (Merged)
Avatar
BLUELIGHTNIN6
  • CERTIFIED EXPERT
  • 16,542 POSTS
Check your fuses. If it is just one window then pop door panel off and check to ensure window motor is getting power. If it is all windows then it is probably a fuse or relay.
Jul 15, 2018 at 6:35 PM (Merged)
Avatar
CATHY0722
  • MEMBER
  • 1 POST
Why would my power windows and power mirrors all stop working at the same time?
Fuses are all good!
Jul 15, 2018 at 6:35 PM (Merged)
Avatar
MMPRINCE4000
  • CERTIFIED EXPERT
  • 8,548 POSTS
Remove window switch and check for 12 volts at switch, ignition in "on".

If you do not have 12 volts then recheck fuses and fusible links.
Jul 15, 2018 at 6:35 PM (Merged)
Avatar
GALA
  • MEMBER
  • 1 POST
Window will not work sometimes.
Jul 15, 2018 at 6:36 PM (Merged)
Avatar
TAKECHARGESARGE
  • CERTIFIED EXPERT
  • 92 POSTS
Hi gala,

You probably should have given a little more description of your window problem. I am going to assume that it is the driver side window control switches and the one that is working sometimes is the switch for the driver's window since this the one that gets the most action.

Sometimes when these switches are wearing out, they will continue to work when slight sideward pressure is applied when operating the switch.

The switch can be replaced with very little effort or real mechanical or electrical expertise. If you can operate a screwdriver and disconnect an electrical connector, you are the person for the job.

The switch can be ordered on eBay at a very reasonable price.

TakeChargeSarge
Jul 15, 2018 at 6:36 PM (Merged)